用户头像
顺天者逸
 · 广东  

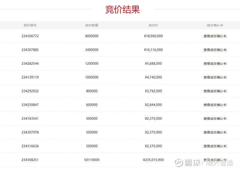
$ST易事特(SZ300376)$ 拍卖最终经过215次延时,468次出价,可见竞争之激烈。几个亿的资金在博弈,中间还有几个竞拍人想着一枪打!如果放到二级市场确实搜集这么多筹码,不只要付出这么短时间和这么少的代价!最终以约4.7元/股完成竞拍。

竟然还出了两位一枪打的牛人!被其中一位拿下80%的份额,恭喜这位大牛!