

1月8日电,广州印发广州市加快建设先进制造业强市规划(2024—2035年),强化广州在通信、导航地面设备制造方面的优势,抢抓卫星互联网发展机遇,壮大通信终端制造企业。到2035年,打造具有全球影响力的天空之城、中国商业航天新一极。涌现一批智能航空器、商业航天领域骨干企业,产业规模进一步壮大。
*广州+商业航天 梳理:

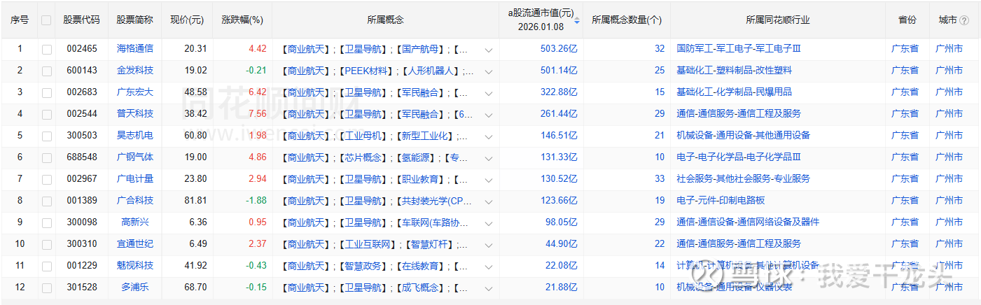
海格通信(002465):实际控制人广州市人民政府。在卫星通信领域,公司是特殊机构市场地面终端的主流供应商和优势企业,是国内拥有全系列天通卫星终端及芯片的主流厂家,目前正积极参与国家快速推进的卫星互联网重大工程项目,全方位布局卫星通信领域。
广电计量(002967):实际控制人广州市人民政府国有资产监督管理委员会 。布局商业航天产业,围绕空天地网络通信的核心关键技术和典型应用场景,全力打造商业航天检测核心竞争力。目前,公司已构建八大技术平台,涵盖先进航天材料评价及高分辨工业CT测试、空间环境适应能力验证、商业航天元器件质量保证及验证、商业航天货架产品大数据库、数字孪生仿真、卫星天线电子载荷通信验证、空天网络安全测试技术、空天数字化及人工智能服务,各平台相辅相成,构建起覆盖卫星设计、制造、测试、认证全生命周期的一站式检测服务体系,精准契合商业航天产业对检验检测的严苛标准。
广钢气体(688458):实际控制人广州市人民政府国有资产监督管理委员会 。根据中国招标投标公共服务平台,广钢气体广州有限公司中标海南商业航天发射场2024年发射任务氦气项目。
普天科技(002544):卫星互联网是公司战略方向之一,目前已与西电ISN成立联合实验室,共同开展天地一体化泛在信息网络方向的技术研究、学术交流以及人才培养。公司正积极布局,一是加快推动低轨卫星通信类相关产品研制、面向卫星终端等领域推出自主产品,积极参与承接卫星运营商相关技术服务;二是持续深耕基于北斗的产品研发及应用,进一步提升综合位置服务能力;三是充分发挥航空级智能制造的领先优势,为卫星相关设备提供PCB设计和制造等高可靠产品组件。同时,公司设置独立的创新研发机构,聚焦卫星互联网方向持续加大研发投入,逐步形成空天地一体能力体系,积极布局6G产业发展。
广东宏大(002683):子公司金鸿睿(现已更名为“宏大卫星应用技术(江苏)有限公司”)目前在轨卫星10颗,未来计划完成整个星座组网建设,形成覆盖全球的实时监测探测能力,高水平服务保障智慧海洋、环境监测、国防安全等重点领域。
多浦乐(301528):公司通过深耕行业应用及技术创新带动发展,公司产品和技术实力在市场上形成了良好的口碑和声誉,得到了客户的广泛认可,其中北京卫星制造厂有限公司材料工艺保证中心出具了相关应用证明:在薄壁管检测项目中应用了公司研制的Robust32/256PR无损检测系统,用于卫星支杆太阳能帆板的支撑管检测。解决了薄壁管壁厚薄、缺陷难以辨识等检测难题。
金发科技(600143):公司改性LCP材料已在商业航天领域中的连接器部件上批量供货。公司与商业航天领域用连接器零部件制造商在材料技术迭代升级方面开展合作。
魅视科技(001229):公司产品已应用于航空、航天等相关领域。公司为中国载人航天工程和探月工程的指挥控制中心提供了“光纤KVMS解决方案”,助力中国首次火星探测“天问一号”成功发射。光纤KVMS解决方案是一款可扩展、低延时(<4ms)、具备双备份机制、高安全性、高度智能化的坐席协作系统,能够实现可视化调度、无缝拼接、KVMS坐席协作、光纤异地互联互通等功能,非常适合对“延时、画质、安全”要求高的应用场景。
*中科宇航