摘要:12月已收10张罚单(欢迎关注闺蜜财经)

撰文|蜜妹
2025年的这个冬天,邮储银行似乎不平静。
12月从月初到月中,邮储银行罚单与调查接踵而至:信用卡中心因向提前还款客户收取全额手续费等六大问题被罚300万元;浙江丽水市分行因代理销售及贷款问题被罚90万元……
随后,银行间市场交易商协会宣布,对邮储银行在债务融资工具承销发行中的违规行为启动自律调查,直指其违反“公平、公正、勤勉尽责”的核心原则。

这还没结束,12月17日,邮储银行四川省分行及下属三家支行再因贷款管理等业务不审慎,合计领到440万元罚单。
邮储银行啥情况?
01
先说罚单。
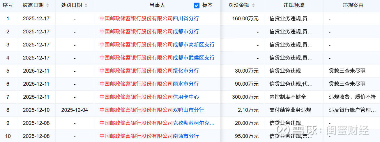
12月17日公开的行政处罚信息显示,金融监管总局四川监管局对邮储银行四川省分行开出了160万元的罚单,同时对其下辖的成都市分行、成都武侯区支行、成都高新区支行合计处以280万元罚款,四家机构累计被罚440万元。
此外,包括分行副行长在内的六名相关责任人也被处以警告及合计64万元的罚款。
值得注意的是,此次处罚的案由非常广泛,几乎涵盖了银行信贷业务的前中后台,具体包括:贷款业务、小微金融服务、贸易金融业务、员工行为及案件风险防控等方面管理不审慎。
邮储银行拥有中国商业银行中最庞大的物理网络,网点深度下沉至乡镇和农村,这是其践行普惠金融、吸收零售存款的独特优势。
但成也萧何,败也萧何,这庞大且分散的网点体系也给总行实施统一、有效的风险管理和合规监督带来巨大挑战。
如下图企业预警通统计显示,仅12月至今邮储银行就收到罚单10张。

图表来源|企业预警通(特此感谢!)
将视野拉长至整个2025年,蜜妹发现这些“12月惊雷”只是邮储银行年内合规困局的冰山一角。
更早之前的9月30日,邮储银行总行曾因贷款业务、互联网贷款、绩效考核等多领域管理不审慎,被国家金融监管总局处以合计约2791.67万元的巨额罚款。

随后邮储银行回应称“高度重视监管意见,已按监管要求有序推动整改”。
02
再看调查。
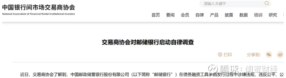
2025年12月15日,中国银行间市场交易商协会在其官网发布公告,称了解到邮储银行在债务融资工具承销发行过程中,涉嫌存在违反公平、公正、勤勉尽责原则的违规行为,因此依据《银行间债券市场自律处分规则》对其启动自律调查。

虽然公告并未点明具体的违规行为,但结合业内常见的债券承销乱象,蜜妹对可能的违规模式进行推演。这些模式通常包括但不限于:
返费操作:为了争夺项目资源,承销商将部分承销费用以各种名义返还给发行人,形成恶性的价格竞争,扰乱市场秩序 。
低价承销甚至“零费率”:部分机构为了抢占市场份额或维护客户关系,不惜以远低于成本的费率承销债券,这不仅损害了自身的盈利能力,也破坏了行业的定价基础 。
结构化发行或“自融”:承销商通过安排关联方或资管产品购买自己承销的债券,以帮助发行人完成发行,甚至在极端情况下形成资金闭环,掩盖了发行人的真实融资能力和债券的真实市场接受度。
其他违反勤勉尽责的行为如,对发行人的尽职调查流于形式,未能充分揭示风险;或是在簿记建档过程中存在不公平、不透明的操作等。
而且交易商协会的自律调查并不是“纸老虎”。根据《银行间债券市场自律处分规则》以及过往案例,一旦查实违规,邮储银行可能面临一系列自律处分措施。
这些措施根据情节严重程度,可能包括:监管谈话、批评通报、警告、严重警告,乃至暂停相关业务(如暂停债务融资工具主承销业务资格一段时间)等。
03
短短几天出来这么多问题,虽然分属不同业务领域和监管主体,但其背后共同指向一个核心问题:邮储银行的内部控制与合规管理体系,在某些关键领域存在明显“软肋”。
如上文蜜妹提到的,作为最年轻的国有大行,邮储银行拥有庞大的网络和深厚的下沉市场基础,这既是其优势,也有管理挑战。
其一,“航母”转身的迟缓。从传统储蓄银行向全功能商业银行快速转型,邮储银行在短时间内铺设了信用卡、投行、互联网金融等复杂业务线。
然而,企业文化的重塑、合规内控体系的全面升级,远比铺设业务网点和发展客户需要更长时间和更深厚的功夫。
其二,总行与分支行的治理断层。屡次出现在分行、支行的贷款管理问题,反映出总行的合规政策在穿透层层机构到达基层网点时可能出现的效力衰减。
如何确保在数万个网点中,每一个客户经理都能严格执行“三查”,是邮储银行公司治理面临的最大挑战。
其三,对“普惠”责任的偏差理解。部分业务行为(如信用卡不合理收费)显示,在市场竞争和盈利压力下,银行可能在某些领域偏离了普惠金融的初心。
对邮储银行而言,眼下的当务之急是启动内部反思和全面整改,这是一个痛苦但必须经历的过程。
重塑市场信心、修复监管信任,绝非一日之功,需要的是刮骨疗毒的勇气和持之以恒的努力。
本文未注明图表均来自公开披露,特此说明和感谢!文章仅供讨论分析,不构成投资建议。
版权声明:本文系闺蜜财经创作,未经授权,禁止转载!如需转载,请获取授权。另,授权转载时还请在文初注明出处和作者,谢谢!