作为一家拥有高毛利高净利的上市药企,华特达因在二级市场却处于一个养在深闺人未识的状态。当前华特达因股价走势平平,重组后上市24年股价年化增长仅8%。华特达因的PE和PB目前只有13倍和2.61倍,估值处于历史低位,不过ROE在高净利率的驱动下常年大于15%。当前华特达因的市值未能够反应出它真正的品牌价值。
无人问津的内部原因:
Ⅰ垃圾业务掩盖优秀主业
华特达因最初是山东大学的校属企业,在2001年通过重大资产重组借壳声乐股份上市,以推动山东大学的科技项目孵化和产业化。2002年华特达因通过参股山东山大康诺制药,进军医药行业、布局抗肿瘤与消化系统领域。华特达因在2003年收购山东达因海洋生物制药股份有限公司(后文统称“达因药业”)52.08%的股权,之后还陆续参股齐鲁医疗投资、涉足水务业务、投资卧龙学校,在医疗、环保和教育多领域拓展。但是这般多元的产业布局不仅不能为华特达因带来更好的发展,诸多的垃圾业务反而掩盖了其中优秀的达因药业,同时消耗达因药业的盈利,致使明珠蒙尘。
Ⅱ 达因药业股权占比问题
上市公司华特达因只拥有达因药业52%左右的股权。对于华特达因来说,持有尽可能多的达因药业股权才更有利。但是达因药业的前期投资者投资成本极低,到了现在能够每年获得高额分红,让这部分投资者放弃股权并不现实,华特达因对达因药业的持股占比只能稳定在52%左右。
达因药业作为核心子公司贡献主要利润但母公司持股仅52%,上市公司归母净利润仅体现其52%的利润份额,另外48%作为少数股东损益列示。达因药业的实际盈利能力容易被低估。而且上市公司其他业务曾经存在亏损,合并报表中子公司高利润会被抵消,误导投资者低估其核心资产价值。普通投资者难以从上市公司公布的财报中直观了解和判断出达因药业的财务情况和真正价值。
转机:主动剥离非主业业务
在2020年,为响应国家校属企业改革政策,上市公司的实控人由山东大学变更为山东国资委,华特达因正式转为地方国企。同时,华特达因进行重大战略调整,决心剥离非主业业务,修剪杂枝败叶,将上市公司的重心聚焦到以达因药业为核心的医药业务中。


2020年,华特达因开始初步调整,将分散的环保业务合并为单一经营主体,同时将信息与自动化事业部整体注入全资子公司“华特信息”,为后续剥离打下基础。也是在这一年,华特达因率先剥离道路及建筑材料业务,华特达因控股子公司知新材料将其持有的知新化工100%股权转让,该业务的营收在次年不再纳入合并报表。
2021年,为进一步凸显医药健康定位,上市公司更名以重塑品牌形象,由“山大华特”更名为“华特达因”。同时更进一步地切割资产,通过转让华特环保51%的股权将之前合并为一个经营主体的环保业务剥离。
接下来的几年里,华特达因更是全面清理非医药资产,2023年终止合办卧龙学校、华特信息向法院申请破产清算、知新材料全面停产并启动解散清算程序。至2023年,华特达因去除非主业的战略调整基本完成,以达因药业为主的医药业务营收占比到达97.56%。

选股逻辑:
在择股中,毛利率和净利率是两个重要且基础的财务指标。通常而言,拥有良好长期经济原动力和竞争优势的公司往往具有持续较高的毛利率。高毛利企业拥有的竞争优势能够令企业对自己的产品或服务进行自由定价或成本控制。而缺乏竞争优势的企业大多只能通过降低产品/服务价格、让渡自身利润来在强竞争的市场中挣扎存活。另外,高毛利率的企业的抗风险能力较强,不管是外部环境的扰动还是内部管理运营的变化,高毛利率企业能够更扛得住折腾。投资高毛利率的企业、避开低毛利率的企业,投资失败的概率会大大降低。
毛利率决定了企业盈利的上限,净利率则直接反映出企业从收入中赚取到真金白银的能力。除去非经常性损益的干扰,在高毛利率的基础上高净利率需要做到低费用率。优质的公司需要具有强悍的费用把控能力。特别是销售费用,公司的营收增长不应依赖于大量的销售费用投入,而是凭借产品自身的竞争力和优越性实现增长。
华特达因剥除非主业业务使得它的高毛利高净利率逐渐展露在大众面前。2020年以前,华特达因的毛利率基本在60%上下波动,净利率10%出头。随着去除非主业战略调整的推进,华特达因的毛利率逐步提升到80%左右,净利率跃上了20%。这一转变给了我们关注华特达因并深度挖掘它的机会。

优秀的商业模式,核心是“用最少的资本,赚最多的现金”。与之相反,如果企业必须不断把利润重新投入,才能维持同样的利润率,对股东来说,这些钱只是账面上的数字,而非真金白银。所以,我们要找的是那些能持续产生现金利润,且未来不需要大量追加投入资本,依然能保持增长的企业。
采用上市公司上市后全部生命周期里产生的归母净利润+总融资+负债增加-总分红-留存现金计算得出的差额来大致估算一个企业的所有生产投入。但是华特达因这个生产投入的差额过于小,使用总净利润/生产投入指标来计算总投入回报比会显得失真。
为了尽可能地衡量华特达因中的达因药业投入回报比,采用总净利润/有形净资产的指标,判断达因药业的生产硬投入(存货+应收+固定资产+在建工厂)的净利润回报比。净利/有形净资产为7.81,意味着达因药业部分有形净资产投入1亿元,便能获取7.81亿元的净利润,即满足通过少量资本投入就能赚取高额的利润。
一.达因药业发展历程
华特达因中最具价值的部分是达因药业。达因药业自1994年成立,1996年创立品牌“伊可新”,自主研发出第一个产品——维生素AD滴剂。维生素AD滴剂是国内新生儿和低龄婴童必要的补剂,维生素AD滴剂成为了达因药业的重要支柱,是国内维生素AD市场中份额最大的产品。
从当前看达因药业是一家聚焦儿童药品和儿童大健康的药企,但是曾经的达因药业也采取过削枝强干的重大战略调整。
2006年达因药业的销售收入增速不到15%,而当时中国制药业的平均增速在20%以上,达因药业的发展明显落后。这是因为达因药业内部产品线众多,导致资源分散;加之当时的销售团队规模较小,难以同时高效推广所有产品。
2007年杨杰升任总经理。深耕儿科的她看到彼时的儿科市场存在巨大缺口,做出了去除分散产品(全线退出糖尿病、心血管等产品)、聚焦儿童药(特别是伊可新)的重大决定。在杨杰的坚持和多轮讨论下,当时全年营收不足5亿元的山大华特同意了子公司达因药业投资1.4亿元打造儿童药物新厂区。次年,达因药业建新厂于山东荣成,购进国外先进设备。
2010年山大华特将挽救失败、连年亏损的山大康诺股权转出,上市公司的医药业务更加聚焦于达因药业的儿药领域。
2011年达因药业建立起国家首家儿童药剂研发中心,与山大等学校深度产学研结合。同时,达因药业开始发力拓展OTC市场,通过投放央视广告、开展新媒体网络活动和开设达因小葫芦乐园网站等一系列举措加大营销力度。其中达因小葫芦乐园是达因药业为发布育儿知识和沟通达因产品问题而开设的专门网站。早在互联网还不像如今发达的2011年,能在一个专门的网址上沟通交流的父母肯定有一定的知识水平和经济能力,这不仅为达因药业积累了宝贵的高价值客户资产,也为其建设高溢价高端品牌提供了潜在可能。
达因药业从2016年开始围绕儿童领域进行业务拓展,从儿童药品拓展到儿童大健康领域,逐渐推出伊可新益生菌、藻油DHA等产品。
达因药业目前的产品以伊可新维生素AD滴剂为龙头,达因钙、达因铁、DHA藻油等产品快速提升销售额和市场占有率。现在达因药业的产品矩阵如下:



在药品领域,“伊可新”是专用于达因药业维生素AD滴剂的商品名,能够与其他药品以及不同药企生产的维生素AD滴剂区别开。“伊可新”也是达因药业打造的儿科标杆品牌。早年达因药业在注册“伊可新”药品名的同时还申请了商标,所以在达因试图横向拓展时能够依托“伊可新”品牌优势快速进军母婴保健产品。初创的保健品产品在起步期间就能拥有一定的品牌声量。

二.达因药业生产经营活动
2024年年报披露华特达因的企业集团构成如下:

地处山东威海荣成的达因药业(即山东达因海洋生物制药股份有限公司)拥有大型生产工厂和进口先进设备,主要生产包括滴剂和颗粒剂型在内的药品线产品。荣成工厂占地400亩,早年的购地款被当地政府以税收达标返现的方式基本返还,荣成工厂用地成本极低且至今仍有闲置可用土地。
荣成工厂从生产到包装存储的过程自动化程度极高,生产效率高且损耗低,产品标准化、精细化程度高。高度自动化的产线中仅需几名工人为生产线补充说明书、包装盒等物料以及随机抽样检查。除人工抽样检查外,荣成工厂还拥有一套智能系统来对产品实施数字化、智能化质控,严格保障产品品质。荣成工厂一年仅停工几天以检修设备,其余时间机器设备始终保持运行,工人工作采取三班倒模式,工厂总是长期稳定地运转生产。目前的滴剂车间有三条产线,全年设计产能共40亿粒。庞大的生产量虽会对销售端造成极大的压力,但也筑起了规模壁垒。小厂的手工作坊规模难以竞争,而高额设备投入又抬高了新进入者的门槛,行业竞争格局相对稳定。
而代工企业就没有办法做到标准化自动化生产。以百合股份为例,百合股份一年里代工的产品品类成百上千,每个客户需求不同,相应的产品配方和包装上都有区别,必须通过大量人工来处理差异化的问题。另外,由于客户需求和订单下达时间不固定,代工企业只能被动响应,导致产线产能严重不饱和,无法实现最大化利用。天差地别的生产规模、效率、成本和质量无疑让达因药业的产品拥有坚固的护城河。
虽然自有工厂组建产线能够更高效高质地生产产品,但达因在投资组建新产线上仍持谨慎的态度。达因药业的保健品线当前还是选择代工企业进行生产,如DHA藻油由纽斯葆广赛代工、维生素A维生素D软胶囊由百合股份代工生产。选择代工生产保健品可以在开拓新产品时进行初步试水,如果产品的市场表现不佳即可快速终止,没有重资产高成本拖累。如果保健品的销量表现优异且达到一定的量,自产成本低于代工,将考虑自建产能。
达因康健和达因高科原先是达因药业的子公司。由于国企精简化要求,目前转化成为了上市公司华特达因的子公司。但这两个公司本质上还是归属于达因药业管理,达因康健和达因高科就相当于达因药业的销售部和研发部。
在销售方面,达因药业全产品的销售渠道占比为:大连锁客户45%,小药店25%,医院端9%,线上20%。医院端的占比小,维生素AD滴剂未进入集采的影响并不大。To B销售为主,线上销售仍有较大的拓展空间。另外,达因药业在销售上具有强势话语权,医院外的其他销售渠道都是先款后货。
达因高科位于北京通州区,研发中心整栋楼共3层,其中研发人员有100人左右。近两年研发费用达到1亿元左右,在同类型的企业中该项费用率属于中上水平。研发费用主要用在研发人员薪资、设备更新和材料耗损上。公司研发费用中大头是设备更新费用。实验室所配备的先进进口仪器,其先进性远超一般机构与高校的配备标准。研发中心选址北京,主要优势在于能更有效地吸引和留住高端人才,但也面临土地成本高、仪器设备布局紧凑的掣肘。当前紧凑的研发场地,预计将难以匹配公司未来的成长速度与规模。同时由于楼体大小限制,大型设备难以进入研发中心,达因高科最多只能做到中试,后续的产业化移交荣成的研发中心继续进行,能与直接相连的荣成工厂车间更好对接。
三.达因药业财务情况
根据华特达因历年年报披露数据,整理出的达因药业财务情况如下图:

达因药业是一家成长性高、盈利能力强劲的儿药企业。2004年达因药业的总资产不过0.93亿元,20年的时间翻了36倍,到2024年已是35.05亿元。营收和净利润整体稳步增长,个别年份有特殊情况产生过较大波动。净利率水平提升显著,从20%多提升到了50%上下。
前文提过达因药业于2007年开始聚焦儿科药品,2007年对于达因药业是一道明显的分界线。达因药业通过改变销售策略及加强费用控制提高了净利率,2008年达因药业在营收仅增长15%的情况下净利润大增82.7%,净利率由22%提高到了35%。
2010年达因药业营收增长放缓、净利润增速大幅下滑且不及营收增速的原因在于公司加大学术营销力度、组建OTC品种线,费用快速上升。达因药业的新建厂房于2011年1月全部完工并实现搬迁投产,打破了达因的产能瓶颈。但2011年净利润增速仍然较低,主要是达因发力拓展OTC市场、采用投放央视广告等多项营销手段,销售费用仍旧高涨。之前伊可新依靠在医院的学术推广起家,医院与药店销售额占比为7:3。作为一个OTC药品,这样的渠道占比显然与常识不符。通过发展OTC市场后,药店渠道销售得到突破,药店销售额占比提高,达因的业绩有了新的成长点。之后几年达因药业销售整体保持高速稳健增长、费用得到控制,业绩优异。
原先达因药业代理了内蒙古康源药业的右旋糖酐铁,并通过自身潜心发展在五六年的时间内令右旋糖酐铁成为达因业绩增长的支撑产品之一。由于合作上的问题,2015年达因药业不再代理“右旋糖酐铁”产品。再加上去年同期有处置旧厂区取得收益,去年同期基数略高,2015年达因药业业绩出现大幅下滑。
为使产品外形更美观、提升产品形象,达因药业在2018年更换伊可新生产模具。受设备调试检修以及车间GMP验收的影响,伊可新产量较2017年有较大下降,未能完全保证市场供应。另一主要产品盖笛欣也因原料断供未能正常生产。调整过后,达因药业的生产经营重回正轨。
2020年达因药业的营收增速仅4.7%,但这并非业务上的原因。2020年达因药业执行新的收入准则,原来计入销售费用的销售返利现在冲减销售收入,导致营收下降、销售费用下降、净利率大幅提升。按照可比口径计算,2020年的营收增长实则为16.88%。
2023年达因药业的支柱性产品维生素AD滴剂遇上河北集采和江西16省联盟集采两次区域性集采,均未中标入选。但由于现在伊可新在医院渠道的销售占比较小,集采落标对其影响不算严重。
2024年药店竞争愈发激烈,小药店倒闭潮易催生低价清仓乱象,将严重扰乱药品的市场价格。达因药业在2024年第三季度选择主动断供以消化渠道库存。达因的线下零售渠道占大头,这一举措对业绩的影响较大,华特达因三季报单季度业绩大幅下滑60-70%。之后几个季度达因药业对药店恢复正常供应,达因的业绩迅速回暖。
四.行业概况与竞品分析
达因药业的主要产品属于维矿品类。维矿类包含维生素(如维生素A、B、C、D、E等)和矿物质(如钙、铁、硒、锌、钾、镁等)。维矿产品会根据其含量和功能等(如针对性治疗或日常保健),被开发为药品或保健品。维矿药品旨在治疗与预防疾病,需注册并提供临床证据,剂量高、监管严;而维矿保健品旨在营养补充与健康维护,剂量受限且审批宽松。
Ⅰ 维矿药品
维矿类药品的销售以零售为主,其中线下药店为主渠道,线上平台销售则是快速崛起的新兴渠道。
2024年,维矿零售市场中份额较大的品类包括钙制剂、钙复方、维生素D及其同系物、多种维生素与矿物质,以及维生素A、维生素D及其复方等。其中,钙市场体量庞大且发展成熟,钙单方及复方制剂合计市场份额超过40%。

1、维生素D滴剂
据米内网数据,维生素D滴剂2024年全渠道总销售额达50亿元,是维生素AD滴剂销售额的2倍。然而早在2015年,这一格局完全相反,维生素D滴剂的销售额尚不及维生素AD滴剂。

根据双鲸药业的招股说明书,2015年维生素D滴剂销售额为10.21亿,维生素AD滴剂的销售额为13.06亿。但是之后,维生素D滴剂的增势迅猛,2015-2024年维生素D滴剂销售额的复合增长率达19.31%,而维生素AD滴剂的复合增长率仅7.86%。

维生素D滴剂市场之所以快速增长,与消费者对维生素D缺乏的认知不断提升密切相关。维生素D对钙吸收、免疫功能和骨健康至关重要。随着越来越多的医学研究发现缺乏维生素D可能会产生骨质疏松症、心血管疾病、糖尿病、自身免疫疾病和免疫力受损等等,维生素D受到了更多的关注。维生素D缺乏在各个年龄段都十分常见,“孕妇、婴幼儿、成人、老人”全员补D逐渐成为共识。此外,疫情还重塑了国民健康态度,增加了民众对于免疫补剂特别是维生素D的需求。

2020年之前国内维生素D滴剂市场仅由星鲨和双鲸两家垄断。2020年开始,达因药业和华夏国药(菏泽)的维生素D滴剂获批上市,进入这个庞大的市场参与竞争。

这四款维生素D滴剂的规格一致,VD3的含量都是400 IU/粒,符合《中国居民膳食指南》中儿童每日摄入400IU的推荐量。
由于维生素A、D、K、E属于脂溶性维生素,这类维生素在制剂时需要油脂作为溶剂和载体来保证制品内维生素的稳定性和方便人体有效吸收。达因药业的维生素D滴剂和维生素AD滴剂药品均采用花生油作为基底油。以花生油作为基底的药品,人体对维生素的吸收率相对较高,营养丰富同时具有花生天然香味,口感佳,孩子更愿意吃。其他国内品牌的脂溶性维生素制剂主要采用大豆油作为基底油,精炼大豆油具有供应稳定、成本低廉、精炼技术成熟的优点,是大多数品牌的首选。
近两三年来,家长在养育婴幼儿、选择补剂时更加注重成分表。大豆和花生都在八大常见过敏原范围内,这点可以被采用非精炼植物油作为基底的脂溶性维生素产品利用来打压竞争对手,加剧家长们对使用精炼植物油(大豆油、花生油)产品的担忧情绪。但是中国家长对于大豆油过敏的担忧程度较低,而花生又被普通认知为易引起过敏的食物,达因的产品在网上面临更多的“致敏”质疑。达因药业需要不断科普自家采用花生油作为基底的产品已经剔除致敏的花生蛋白,仅保留安全的油脂,不会造成宝宝过敏,加强消费者认知教育。

从维生素D滴剂的销售情况上看,同样是2020年新入局的维生素D滴剂产品,华夏国药(菏泽)的百维单价高且市场份额极小,达因药业的伊D新销售单价与星鲨、双鲸差异小,新品销售放量快。伊D新全渠道销售额(按零售价计算)从2021年的2.4亿增长到2024年的7.3亿元,2024年销售额接近同年伊可新维生素AD滴剂销售额的40%。2024年9月达因药业将伊D新在中国境内的独家代理权交给华润三九,签署五年代理合作协议,寄望于通过华润三九的营销推广和市场渠道进一步开拓伊D新的销售。

而星鲨和双鲸是维生素D滴剂市场的老牌玩家,已经建立起成熟的渠道体系和强大的品牌影响力。2017年星鲨维生素D滴剂在各渠道的销售额均大于双鲸,之后星鲨大力拓展线上销售,双鲸继续深耕零售渠道。
对于维生素D滴剂药品本身,难再做出明显的差异化。由星鲨和双鲸为主导构筑的维生素D滴剂市场格局稳固,新玩家难以迅速破局。但维生素D市场规模庞大,新品牌若能切分份额,也能带来可观的业绩增长。
2. 维生素AD滴剂
在婴幼儿营养补充领域,维生素AD复方制剂十分重要。儿童中维生素A和维生素D缺乏很常见,同时缺乏维生素A和维生素D的比例较高。缺乏A、D将严重影响儿童的生长发育、降低儿童免疫力、产生精神神经上的疾病等等。
根据《中国儿童维生素A和维生素D临床应用专家共识(2024)》,婴儿出生后1周内应开始补充维生素A和维生素D。维生素A的存在还可以提高维生素D的生物活性,选择AD同补能够取得事半功倍的效果,是方便、经济、可及的预防干预措施。
从维矿细分品类下的具体品种来看,2024年维生素AD复方制剂中的重要产品——维生素AD滴剂,在整个维矿市场中市场份额位列第三。前二的葡萄糖酸钙锌口服液和维生素D滴剂均面向全年龄段用户,市场覆盖面广,因此与主攻婴幼儿细分市场的维生素AD滴剂在总体规模上能拉开较大差距。尽管目标人群范围相对有限,维生素AD滴剂仍能跻身市场份额前三,这充分反映了该品种药品在特定领域内拥有较强的市场认可度和竞争优势。

维生素AD滴剂市场内有11家企业拥有在销AD滴剂药品,其中达因药业的伊可新占市场销售额的七成。除伊可新外,比较有体量的是星鲨和双鲸的维生素AD滴剂产品。

这三个品牌的维生素AD滴剂都各有两个产品,分别适用于一岁以下和一岁以上。在包装配色上,伊可新的一岁以下产品采用绿色包装,俗称绿葫芦;适用于一岁以上的维生素AD滴剂,伊可新采用粉色包装,俗称粉葫芦。星鲨和双鲸则恰好与伊可新相反,一岁以下款是粉色装,一岁以上款是绿色装。
三款维生素AD滴剂的AD含量一致,成分上较大的区别也是基底油。从网上销售单价上看,星鲨和双鲸单粒维生素AD滴剂售价在5毛左右,伊可新的单价是其两倍。伊可新不仅在单价上碾压其他AD滴剂品牌,全渠道销售额也是断崖式领先,伊可新在维生素AD滴剂领域的市占率常年在70%左右。

维生素AD滴剂作为OTC药品,渠道销售上均以零售为主,医院渠道销售整体呈现萎缩趋势,线上销售发展迅速。河北集采和江西16省联盟集采两次区域性集采对伊可新的影响不大。但对于双鲸来说,主动压价到1毛内一粒进入院内集采则显得十分吃力不讨好。
目前维生素AD滴剂的主要使用群体集中在0-3岁。经过较长一段时间的育儿知识普及,维生素A和维生素D在0-3岁婴幼儿中的补充率较高,3岁以上儿童补充率不足。据专家共识(2024)建议,应重视3岁以上儿童维A维D营养水平,加强补充意识,补充到青春期。达因针对伊可新维生素AD滴剂的市场拓展也是与此相符,培育消费者认知,努力拓展维生素AD滴剂的使用年龄至0-6岁,扩大消费群体范围。
Ⅱ 婴童保健品
随着科学育儿观念的持续推进,当代家长在养育婴童时更加精细且注重营养均衡,普遍认可补充婴童营养品/保健品的”必要性“,在孩子不同的生长发育阶段会选择针对性的膳食结构和营养元素进行补充。婴童保健品的增强免疫力、补脑、长高、护眼、预防过敏等功能直击消费者痛点。
当下销售较为热门的婴幼儿营养品主要有钙铁锌、DHA、维生素、益生菌、乳铁蛋白和叶黄素,这六个品类占线上销售平台2024年婴幼儿营养品总销售额的89.54%。钙铁锌、DHA、维生素和益生菌这四个品类相对成熟,而乳铁蛋白和叶黄素的渗透率仍然较低,但是增速快。

1.钙铁锌
这里选取钙铁锌2024年线上销量前七的品牌产品与伊可新液体钙产品进行对比,伊可新的液体钙上线销售不久,特别是AD钙镁锌饮在2025年8月才上新推出。当前伊可新的液体钙系列产品销量规模还较小。市场上的液体钙主要有三种类型:钙镁锌复合型、纯钙基础型和钙铁锌功能型。为了方便对比,表内按照产品所属类型分类。同一类型的液体钙按照2024年线上销量的大小先后罗列。

上表液体钙产品的钙源几乎都是有机钙,易吸收、对肠胃的刺激小。目前液体钙产品的钙源以柠檬酸钙为主流。若液体钙产品采用柠檬酸钙这样的单一钙源,可以在配方中为其他矿物质和维生素的添加留出更大空间。若采用”柠檬酸钙+葡萄糖酸钙+L-乳酸钙“这类复合钙源,由于不同钙盐在人体内的吸收部位和速率各异,可实现更均衡、持续的钙释放与吸收,相较”单通道高强度供钙“更为高效。此外,葡萄糖酸钙和乳酸钙自带甜味和果酸味,儿童接受度更高。然而,由于复合钙在产品中已经占据较大的配方重量,往往会限制其他维生素或其他营养成分的添加。
纯钙基础型的液体钙产品成分较为单一,最多额外添加K2和D3来促进钙的吸收,钙含量基本远高于另外两个类型的产品。纯钙基础型很好地解决了孩子明确缺钙的问题,也能满足家长对成分纯净、安全专一补钙的需求。
如果孩子存在“不爱吃饭、挑食厌食”、“面色不佳、免疫力差”等可感知的问题时,家长可以选择钙铁锌功能型产品,比较经典的是哈药的钙铁锌口服液小蓝瓶。伊可新的钙铁锌口服液属于近几年开发的产品,在核心营养成分含量、口味和包装上均有优势。伊可钙铁锌口服液单支钙含量是哈药的两倍,铁含量也略多一些,口味上开发了草莓味和百香果味。伊可新钙铁锌口服液的包装采用了目前最受欢迎的条状袋装。从厂家角度,袋装比玻璃瓶装更容易运输且成本低;从消费者角度,袋装口服液便携快捷、易开即饮。
镁有助于镇静神经、改善睡眠,同时能够辅助钙的代谢和吸收。“钙镁锌”复合配方专注于营养元素的协同吸收和综合健康效益,达到“1+1>2”的营养优化效果。上表中的钙镁锌复合型产品单价都比较高,在这块领域,产品的溢价能力较强。因你小金条和童年时光的小绿钙成分相同,为“钙+镁+锌+K2+D3”;小小斯维诗液体钙镁锌只包含基础的钙镁锌;伊可新推出新品“AD钙镁锌饮”,将其王牌“维生素AD”与钙镁锌等矿物质结合,还添加了促生长发育的赖氨酸和帮助睡眠的γ-氨基丁酸,通过一次补充实现骨骼、睡眠、食欲的多维支持,通过差异化产品强化其市场竞争力。
2.DHA
DHA是婴童眼脑发育的”黄金营养素“,能够促进婴童智力发育、提升视力水平、改善认知功能,有益于注意力集中和行为调节。
0-3岁婴幼儿DHA产品对比


根据2024年DHA线上销量情况,选取销量前八的DHA品牌与伊可新DHA进行对比。按照品牌是否属于中国品牌分为上下两表,上表为外国品牌,下表为中国品牌。
国标要求的DHA纯度为35%(纯度=DHA含量/DHA藻油含量),DHA含量至少100mg/粒。表中所有DHA产品均符合基本要求,其中inne因你、童年时光Childlife和伊可新的DHA纯度≥50%,明显优于其他DHA产品纯度。从配料表来看,配料成分越简单纯净越好。国外这5个品牌的DHA产品均添加了另外的亚麻籽油、葵花籽油等。可能是厂家出于技术问题,为了让产品稳定或颜色好看等等进行添加,没有太大的好坏之分。健敏思、艾瑞可和童年时光还在DHA里添加了维生素。维生素是否需要补充取决于孩子日常的饮食或其他补剂,如果饮食均衡或额外补充好了维生素,就不建议食用含有维生素的DHA产品。整体来说,一般建议优先选择纯藻油夹心、无其他添加的DHA产品。
国内这4个品牌都没有额外添加其他油脂和维生素,均为纯藻油配方。其中天然博士和伊可新的DHA产品添加了天然甜味剂(罗汉果甜苷),甜度是蔗糖的240-300倍。添加甜味剂可以使婴幼儿接受度更高。不过,避免甜味剂对孩子的味觉发育和健康更有好处,看家长如何取舍。
天然博士的小琥珀DHA选用来自帝斯曼的金标寇氏隐甲藻油(T油),这特别的藻种和藻种来源是天然博士在互联网上营销的主要卖点。表中统计的九个品牌中,仅有天然博士选用T油,其余八款均以裂壶藻为DHA来源。
天然博士小琥珀DHA产品宣传卖点

T油的优势在于EPA含量极低(≤0.1%);S油的EPA稍高,但二者均符合LS/T 3243-2015 DHA藻油行业标准,即EPA含量≤3.0%。与S油相较之下,T油纯度略低,肉豆蔻酸、月桂酸含量略多,这些物质过量会影响婴幼儿的消化吸收和健康。二者在成分上各有细微优劣。在产品宣传上,T油产品往往放大”低EPA“的特点,S油产品则以”低豆蔻酸、月桂酸“来回击。
在生产成本上,T油由于生长周期长、产能低、生产企业较少,整体生产成本高。而裂壶藻为业内公认且应用广泛的优质DHA来源,S油生产周期短、产能高、生产技术成熟、生产企业多、成本较低。
天然博士的小琥珀单价是其他DHA产品的2-3倍,产品的优势实际没有很强。但是,它有高营销来宣传引导消费者为”低EPA、生产条件娇贵、产量低、稀有珍贵”等卖点高溢价付费。

在产品包装上,inne因你、天然博士和伊可新采用单颗独立包装。DHA具有不稳定的特点,容易氧化。除了需要合适的囊皮隔绝氧气和光照,采用双铝泡罩独立包裹DHA,能够更好地保护DHA的活性,也方便携带、安全卫生。如果没有独立包装,在海外长途运输或日常保存中,DHA很容易粘连成一团。
综合对比下来,伊可新的DHA在纯度、配料和包装上有其竞争优势,销售单价在这些产品中属于中上水平。另外,伊可新的DHA产品添加了1:1的DHA和ARA,紧跟当前的研究成果:“1:1的DHA和ARA下,DHA会受到ARA的加成,作用几乎加成一倍“。

2025年伊可新DHA在京东销售表现稳健,活跃在京东婴幼儿营养DHA鱼肝油热卖榜前十。最近,伊可新DHA在天猫上的销售也开始崭露头角,近期成功挤入天猫DHA热销榜前十。这表明伊可新DHA的产品力得到了市场的认可,有上升的劲头。
Ⅲ BD拓展药品
除了自主研发药品和保健品,达因药业也向外寻求合作,通过BD引入海外市场中适合中国儿童的优质药物。
长期以来,自闭症、多动症等神经发育障碍儿童饱受睡眠问题困扰,这不仅严重影响儿童的生长发育、日间行为与学习能力,也给家庭照料带来沉重负担。然而,我国的儿童失眠治疗药物市场却是一片空白,临床治疗无药可用。达因药业与日本诺贝仁合作引入的褪黑素颗粒是国内首款儿童药用级褪黑素。
虽然达因药业与诺贝仁褪黑素产品的接触时间较晚,但达因药业通过自身诚意与能力在一众国内竞争者中脱颖而出,全力帮助诺贝仁完成国内审批各项程序,成功与诺贝仁褪黑素项目达成合作。诺贝仁授予达因康健曼乐静在中国大陆的独家经销权,主要是对曼乐静的进口、销售和推广。具体的合作模式为:达因以较低的固定价格向诺贝仁采购进口,再定高价投放到国内市场销售推广,合作期限暂为10年,届满后可续签。并且,诺贝仁的儿童药储备丰富,如果在本次褪黑素合作中双方能建立起更深厚的信任,后续可能还有很大的合作空间。
目前,我国儿童精神类用药(特别是睡眠障碍领域)的应用仍不够规范。诺贝仁褪黑素颗粒这款儿童用药属于临床急需,可以申请优先评审,整体审批上市速度较快。曼乐静褪黑素颗粒在2023年7月3日申请优先评审,在2024年2月5日开始受理承办,2025年7月8日获批上市。

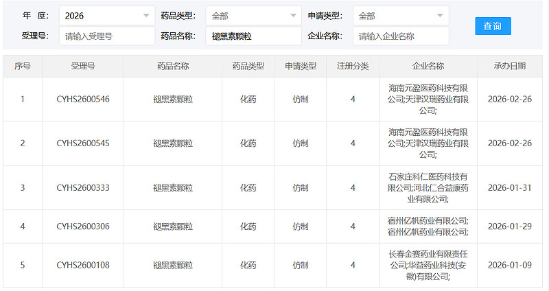
在诺贝仁褪黑素颗粒原研药获批上市的次月,国内首个褪黑素颗粒仿制药申请上市获得受理。2026年年初,多家药企的褪黑素颗粒仿制药接连申报上市并被受理。面对如此紧张的未来竞争局势,达因抓紧时间令曼乐静迅速上市销售,抢占两三个月的先发窗口期。不过,即使仿制药生产上市,原研药还是有其原研优势,仿制药顶多能仿制出80%的效果。
褪黑素颗粒仿制药申请情况


信息来源:国家药品监督管理局药品审评中心
五.达因药业软硬实力
达因药业经过长期的积累和投入,在品牌、研发、生产和运营多维度拥有深厚的竞争优势,兼具品牌市场软实力和生产运营硬实力。
高端品牌形象与市场认同:达因药业在儿童药领域目标客户中已经成功树立高端、可信赖的品牌形象,实现深度的“心智占领”。前文多项产品对比中,达因产品的售价均位于同类型产品的中上水平,达因药业能够实现高品牌溢价并增强客户忠诚度。
权威背书与文化建设:达因拥有全国唯一一块新华社颁布的儿童药物研究基地牌匾,此外新华社也多次发文对达因及其产品给予极大肯定。在新华社的新华健康节目也为伊可新AD遇到的致敏质疑进行正名。获得国家级媒体的认可与背书,极大提升了品牌公信力和社会认可度。同时,达因积极提倡健康饮食运动文化,多次举办马拉松比赛等,其健康文化与社会主流价值观同频共振。
持续研发与追求细节:设立有独立的博士后工作站,在产品研发方面大力投入,并且在产品细节上极致追求,不断提高用户体验感。
先进设施与快速迭代:达因早年便在生产端大力投入,引进国外先进设备并建设高自动化生产线。大规模的标准化自动化产线使得达因的产品拥有天然壁垒,小厂家的手工作坊模式难以与其竞争。达因在保健品领域还能够实现产品的快速迭代和完善,紧跟行业前沿研究和消费趋势,保持产品的鲜活度和竞争力。
六.当前的争议点&风险点
Ⅰ新生儿出生率-宏观环境
中国的新生儿出生数量在2013-2016年的二孩政策推行和实施期间有短暂的回升,2017年开始新生儿人口数量开启断崖式下跌。尽管国家陆续出台放开三胎、发放育儿补贴等一系列生育刺激政策,中国严峻的生育形势仍难以被扭转。育龄人口数量的减少、高昂的生育养育成本以及社会观念的转变也共同削弱了政策的刺激。未来中国人口出生数量的持续下滑是可预见的大概率事件。
中国新生儿出生数量下滑将对婴幼儿相关消费产生极大的影响。不过,由于社会观念的变化,新生儿的父母追求优生优育,希望给孩子提供更高质量的生活环境和养育条件,母婴消费观念更加成熟、精细和多元,这也为母婴消费市场带来新的增长机遇。

根据艾瑞咨询《2024年中国母婴亲子人群营销趋势洞察报告》研究,在生育率逐步下降的趋势下,平均育儿投入的提升带动母婴市场消费规模保持增长。

2016年是中国人口出生数的近几十年巅峰,之后出生率持续下滑。然而,目标用户为新生儿和幼童的维生素AD滴剂的销量却能保持增长的态势。这佐证了人口出生率下降对婴童产业会产生致命性打击属于是伪命题。


关于人口出生率下降的问题,也可以参考借鉴日本母婴行业的发展情况。

在日本出生率持续萎缩、经济下行的情况下,日本母婴渠道销售龙头企业西松屋却实现逆势扩张。西松屋凭借高性价比、店小量多易复制、管理高效的商业模式实现整体增长,越过阿卡佳(婴儿本铺)成为日本母婴零售龙头。区别于定位中低端客群的西松屋,阿卡佳的目标客户群体为中高端客户,阿卡佳门店面积大且商品价格高。在日本经济环境恶劣、出生率下跌的背景下,阿卡佳原有的大店坪效下滑同时坚持扩张新店。但新店培育期长,阿卡佳费用端压力大增,进入亏损阶段。之后阿卡佳通过精简员工和缩小门店面积等努力也积极扭亏为盈,目前经营向好发展。这表明出生率的下滑并不意味着母婴消费行业的必然衰败。

此外,提高市场集中度、消费升级、产品结构优化及服务模式创新等是驱动日本母婴用品企业在出生率日益下滑的背景下保持扩张发展的重要因素。其中,市场集中度提升意味着行业内的小散企业退出、龙头企业能够获得更多整合市场,存在结构性机会;随着现代优育观念的普及和发展,单个家庭将更加重视母婴用品的品质,母婴支出增加、母婴消费升级;之前的母婴用品适用范围一般在0-3岁,现在的母婴用品企业通过扩大年龄覆盖范围、增加高附加值产品,开拓挖掘大童市场。服务模式创新则是通过提供专业化/个性化服务、紧跟数字化/线上化销售发展浪潮,不断提升客户价值和运营效率,实现周期穿越。
Ⅱ 药店零售收缩-行业现状
出生率下滑对婴童行业是长期挑战,而短期内,婴童药品行业已面临维矿类补剂在药店销量萎缩的问题。2022年维生素矿物质补充剂品类销售在零售药店达到顶峰(260亿元)后逐年下滑。华特达因的支柱性大单品维生素AD滴剂作为OTC药品,目前药店零售渠道仍占大头。维矿类补剂在零售药店的萎缩对于达因的业绩亦会造成压力。


电商渠道分流是造成药店零售萎缩的关键原因之一,2025H1零售端销售额同比下滑6.2%。药企需要发力抢占线上销售市场,拓展各大主要电商销售平台。
当前达因药业在三大电商平台均开设多家线上店铺。多个账号可以避免单一账号被封禁或限流,同时形成内容矩阵,增加曝光,增大用户检索相关关键词即可直达官方的概率。多个细分账号还能深化品牌在特定领域的标签,强化专业形象,内容更垂直,转化率更高。目前达因在天猫和京东能够实现盈利,在抖音则由于平台抽成过高基本不盈利。但是达因仍然活跃在抖音阵地,主要是为了把握大流量下沉市场,进行内容推广和引流。

Ⅲ 达因领导人更换风险-企业自身
达因药业全体工作人员普遍对公司抱有强烈的认同感和自豪感,对总经理杨杰的工作能力、领导力、人格魅力十分认可与崇拜。在杨总的带领下,公司内部充满了跑步文化和健康饮食的生活理念。杨总从1994年进入公司,30多年的时光都贡献给了达因,在公司发展的多个关键节点上做出了具有战略远见的决断,是公司发展和文化塑造的灵魂人物。后续杨总如果退休,继任者能否挑起大梁也是一个较大的疑问。
$华特达因(SZ000915)$ 仅为企业分析,不构成投资意见。