大猫日常
2025-12-10 14:27
· 山东
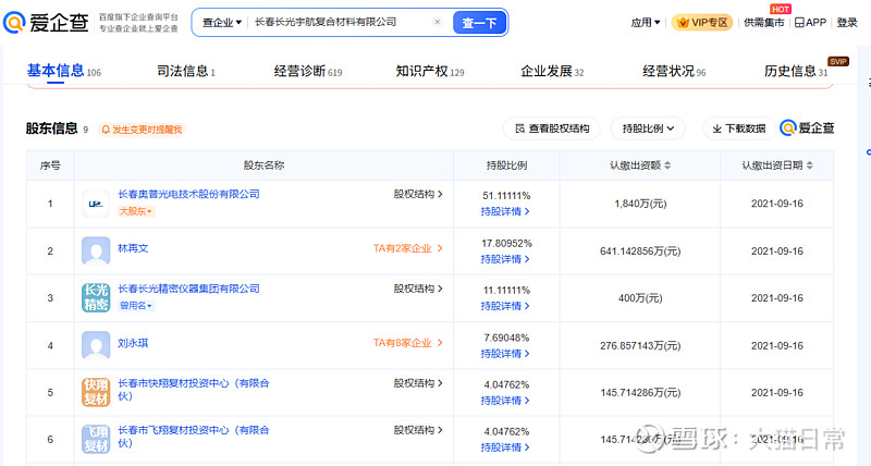
$奥普光电(SZ002338)$
$航天动力(SH600343)$
这么牛的航天公司怎么没有吹的,材料基本都应用火箭上了,属于控股股东