$诚迈科技(SZ300598)$ 2025年年内第30家分公司成立;同时,4/23日成立的广西分公司中标第一笔信息类产品采购,中标的产品包含台式机和服务器两大品类。其中台式机为 P1 系列,共拿下 4100 台的采购大单,单价 4780 元(财政部的限价是5000),对应总金额 1959.8 万元,该机型搭载龙芯 3A6000 处理器且预装统信 UOS 操作系统;同步中标的还有基于龙芯 3C6000 处理器设计的服务器,适配政务云平台、数据存储等多元场景,但目前并无公开信息提及这部分服务器的采购数量与对应金额;
那么,贵州、山东、山西、河南、河北、安徽、新疆等地的分公司如果有类似信息,就需要格外注意;
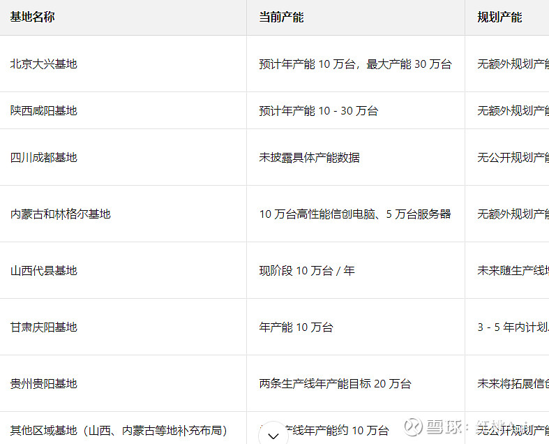
目前诚迈科技信创领域已在全国布局8 大生产基地,分布于北京、陕西、四川等多个省份,各基地当前产能以单条产线 10 万台为主,公开可统计的信创电脑年产能超 110 万台,服务器年产能 5 万台,等待产能释放;




最后补充一点,三年以来,诚迈中标的几个项目数据;



此外,启信宝和采招网显示,诚迈科技这三年还有大量未完全披露金额的入围类、框架类中标项目,业务覆盖江苏、广东、新疆、北京等多个地区,合作对象涵盖政务机关、大型央企、汽车厂商、水务科技企业等;

所以,不用怕也不要怕;还是那句话,风物长宜放眼量,国产替代不是选择题,而是必答题,十五五规划的首次纳入“基础软件”,加上本身今年的提前全国布局,耐心一点,等子弹在飞一会;