
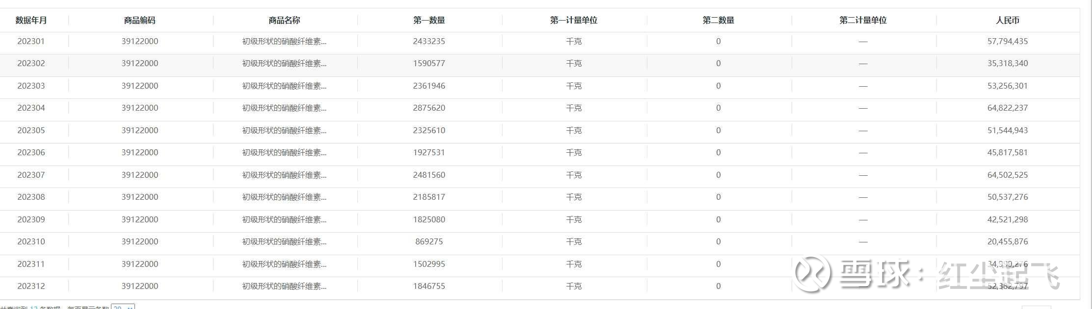
2023年均价稳定在2.2-2.4万元/吨,全年均价2.37万元/吨。
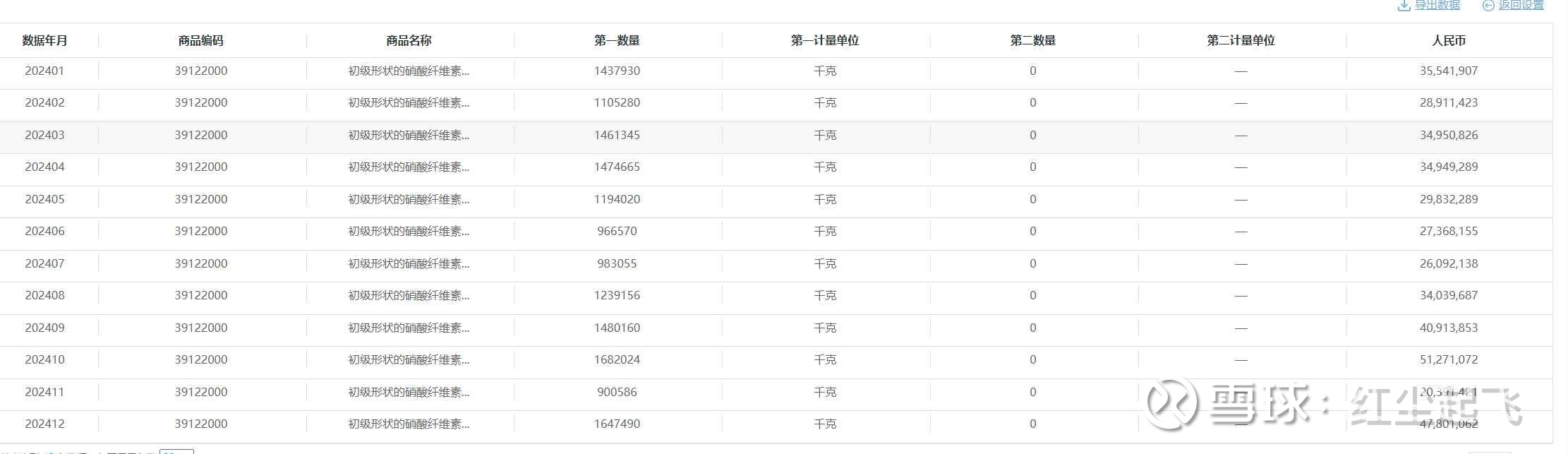
2024年均价小幅抬升至2.3-3.1万元/吨,全年均价2.74万元/吨,同比+15.6%。
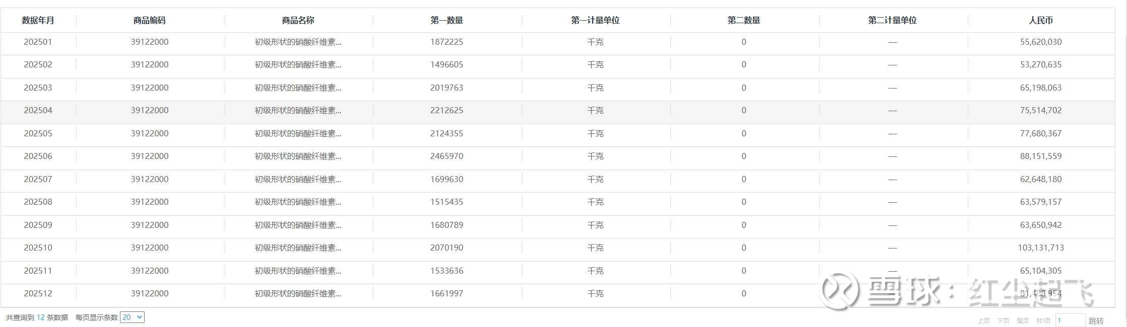
2025年均价大幅攀升至3.0-5.0万元/吨,全年均价4.27万元/吨,同比+55.8%,呈现量价齐升的爆发态势。
2025年四季度硝化棉出口单吨均价约4.71万元/吨(精准核算值),较三季度均价(3.89万元/吨)环比上涨21%,较2024年四季度均价(约2.8万元/吨)同比上涨68.2%,延续全年涨价态势
以下是23年到25年海关出口数据



受需求增加影响,全球产能持续减少,未来2年内无新增产能,价格将长期保持高位
最新出口价持续新高,行业目前缺货严重,受产能限制价格可能进一步上升
北化股份市占率50%+