来源:RT轨道交通
近日,通号空铁科技(内蒙古)有限公司成立,注册资本5000万元,经营范围包括智能无人飞行器制造、航空运营支持服务、人工智能应用软件开发等。企查查股权穿透显示,该公司由中国通号旗下通号低空智能科技有限公司、内蒙古交通投资(集团)有限责任公司共同持股。

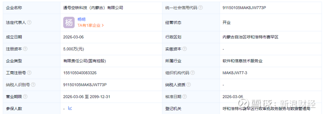
企业名称:通号空铁科技(内蒙古)有限公司
统一社会信用代码:91150105MAK8JW773P
法定代表人 :杨明
经营状态:开业
成立日期:2026-03-06
行政区划:内蒙古自治区呼和浩特市赛罕区
注册资本 :5,000万(元)
企业类型:有限责任公司(国有控股)
所属行业:软件和信息技术服务业
经营范围
一般项目:信息系统集成服务;人工智能行业应用系统集成服务;信息系统运行维护服务;智能无人飞行器制造;数字技术服务;数据处理和存储支持服务;网络与信息安全软件开发;地理遥感信息服务;航空运营支持服务;工程和技术研究和试验发展;软件开发;软件销售;通信设备销售;人工智能应用软件开发等等
股东信息
通号低空智能科技有限公司,持股比例51%
内蒙古交通投资(集团)有限责任公司,持股比例49%