投资界3月5日消息,目前,国家创业投资引导基金下设的三大区域基金均已进行资金扩容,规模都已超过500亿元。其中,京津冀创业投资引导基金合伙企业(有限合伙)(下称“京津冀区域基金”)的新增出资人中出现了险资机构的身影。

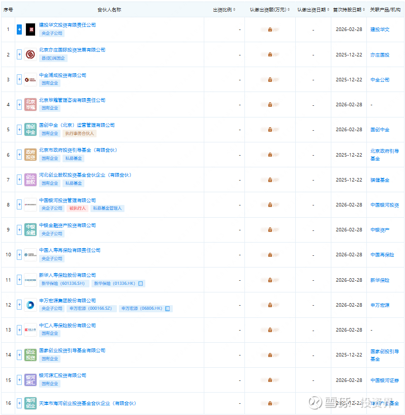
图片来源:企查查
2月28日,京津冀区域基金工商注册信息发生变更,注册资本从296.46亿元增至500亿元,多家金融机构新进成为出资人,其中包括3家险资机构,即新华保险、中汇人寿、中再寿险,3家机构均属于中投系,这也是首批投资国家创投引导基金区域基金的险资机构。
当前,险资机构正努力做好“科技金融”大文章。中汇人寿表示,通过参与长期股票投资试点、投资京津冀创业投资引导基金、投资支持半导体产业基金等方式,公司将资金精准注入国家急需的关键领域,以实际行动维护资本市场稳定、促进科技自立自强,展现了国有资本的战略引领作用。
新华保险也公开表示,积极赋能新质生产力发展,联合设立新质生产力相关主题的创投基金,并探索通过新模式加大对新基建、战略性新兴产业的支持力度。这些布局,既全力支持了国家战略科技力量的打造,也让新华保险在市场中分享了中国科技崛起的红利。
作为国家创业投资引导基金三大区域基金之一,京津冀区域基金于2025年12月22日成立,由中投公司下属中金资本作为管理团队。在2月28日变更注册资本的同时,京津冀区域基金的执行事务合伙人也有所变更从中金资本变更为国创中金(北京)运营管理有限公司(下称“国创中金”)。
来源:证券时报
点击获取更多LP资讯