中绿电公告里面有些次要无须负法律责任的内容,真的信不得。
看中绿电的2025发债募集说明书,里面募集资金用途中部分用于青海两个项目,表格里预计竣工时间是2026年6月30日,如果预计竣工时间为真的话,青海这两个项目肯定要申报2026年机制电价竞价啊。

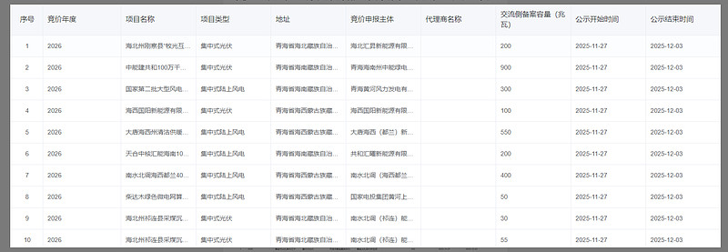
然而前几天青海2026机制电价竞价资质公示,总共就没几个集中式光伏和风电项目参与竞价申报,我发现并没有中绿电这两个项目参与竞价申报,说明这两个项目并不会在2026年竣工投产。

然后,我反应过来了,中绿电这个发债募集说明书里面的一些次要内容估计又是工作人员随便瞎填的。仔细看了一眼发债募集说明书里的那个表格,果然那个1GW光伏项目预计投资34.5亿,已投资金额4.8亿,然后建设进度已经完成65%
,预计竣工日期估计也是很早以前的表格拿过去复制粘贴的,根本没根据实际情况加以改正过。谁把这些无须负法律责任的次要内容当真,谁就输了。中绿电2026年在青海并没有项目要投产。
马上想起前几天新疆2026年机制电价竞价资质公示,有网友说中绿电阿勒泰和布尔津的2GW风电项目在竞价资质公示名单中,可惜我现在找不到新疆竞价资质公示的详细名单,不然就可以看看到底是不是。木垒1GW风电项目倒是看到绿发的公众号发文中提到首台风机吊装成功,按道理明年应该投产了,不知道在不在竞价资质公示名单中。
总结一句话,中绿电各种公告里面的预计竣工时间信不得,还是等像新疆机制电价竞价公告里面的名单才是真的。
更新一下:根据青海2025下半年新能源机制电价竞价结果公告,文中提到的中绿电青海100万千瓦光储一体化项目和50万千瓦风电项目的承诺投产时间是2025年12月31日。