
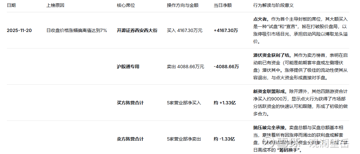
核心事件:11月20日,股价在震荡数日后,首次涨停(+10.01%),因“涨幅偏离值达7%”上榜。
数据切片分析:
买方阵营(点火方):以开源证券西安西大街为首,联合其他四家游资营业部,合计净买入约1.33亿元。这是一次典型的、有组织性的“点火”行为。他们的目标明确:用资金优势封住涨停板,制造强烈的视觉和情绪冲击,吸引市场注意力。
卖方阵营(抛售方):沪股通专用席位高居卖一,净卖出4089万元。这暴露了重要信息:在股价启动前,已有部分先知先觉或长期潜伏的资金(通过沪股通渠道)驻守其中。涨停给了他们一个绝佳的套现机会。
阶段本质与博弈:
这个阶段的核心是 “新旧资金的对抗与交换”。新进游资用真金白银,承接了旧有资金的获利盘。这对行情发展至关重要:
测试抛压:涨停板能封住,说明卖压虽存(沪股通卖出),但买盘更强,市场有承接力。
确立龙头地位:首次上榜,进入公众视野,为后续吸引跟风盘打下基础。
完成成本抬升:旧资金在低位离场,新资金在涨停价入场,市场的平均持仓成本被一次性大幅抬高,这减少了未来股价轻易跌回起涨点的可能。
结论:这是一个成功的“点火”。游资用成本换取了市场关注度和行情启动的主动权,而旧资金的退出也为后续拉升减轻了包袱。
下表基于11月20日独立的龙虎榜数据切片,呈现了行情启动日新旧资金的对抗与交换。

阶段核心总结:
对抗与交换:这一天本质是 “新进游资”与“潜伏旧资金” 的对抗与交换。新资金用真金白银承接了旧资金的抛压,将市场的平均持仓成本从水下直接拉升至涨停板附近。
成功点火的关键:涨停板能够稳固封住,且买卖力量基本平衡,证明了新资金的实力足以消化启动时的最大抛压,这是行情得以延续的第一块基石。如果买盘不敌卖盘,涨停被砸开,则“点火”失败。
确立关注度:首次登上龙虎榜,意味着该股正式进入市场(尤其是短线投机者)的核心观察池,为后续吸引更多跟风盘、进行资金接力创造了必要条件。
此阶段标志着航天动力脱离原有震荡区间,进入由活跃游资主导的新炒作周期,为后续的主升浪拉开了序幕。
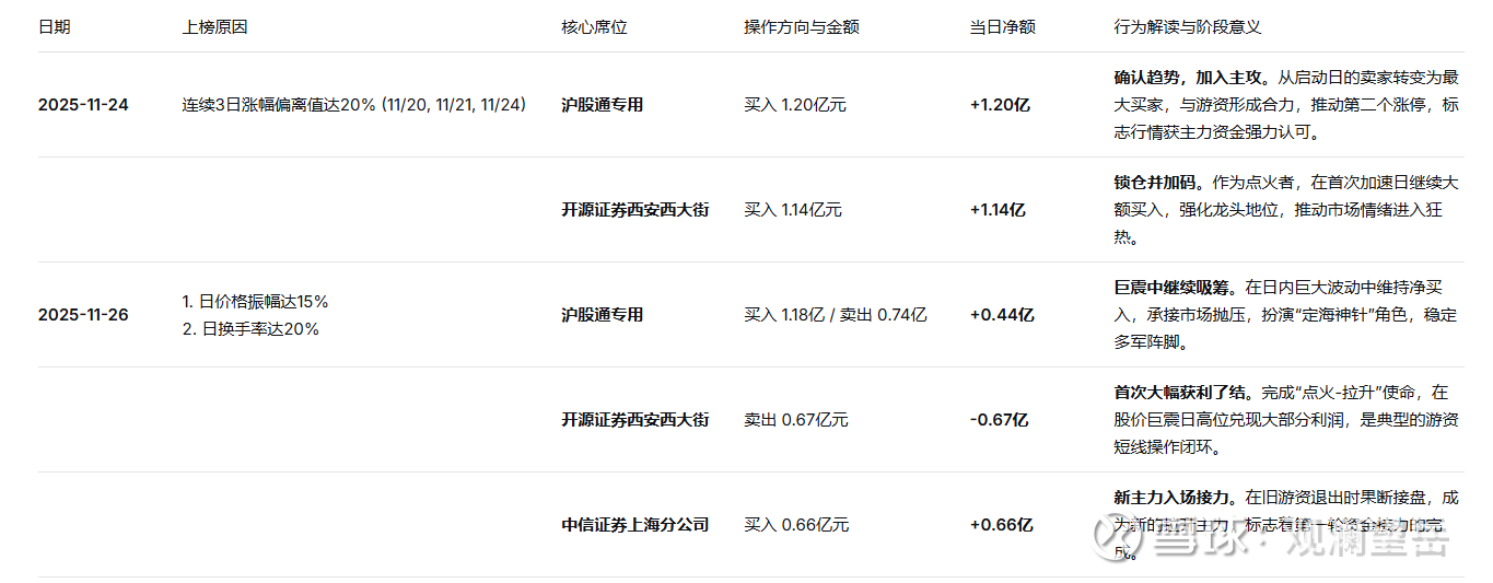
核心事件:股价连续涨停(24、25日),随后在高位出现巨幅震荡(26-28日),因“三日涨幅偏离”、“振幅超15%”、“换手率超20%”多次上榜。
数据切片与行为演化:
11月24日(三日榜):合力强化
沪股通角色逆转,从启动日的卖家变为最大买家(净买入1.2亿),与开源西安西大街形成共振。这表明外资/聪明钱经过观察,确认了行情强度,决定加码助推,形成“游资+外资”的强力组合。
11月26日(振幅/换手榜):首次高位接力与震仓
开源西安西大街出现在卖方榜首,获利了结。其操作完成了经典的“点火-拉高-出货”短线闭环。
沪股通和中信证券上海分公司等成为主要接盘方。这是第一轮明确的资金接力。股价日振幅达14.51%却几乎收平,这是典型的“震仓”:
目的:清洗在连续涨停中积累的短线获利盘。
手法:通过大幅波动,制造恐慌,迫使不坚定的筹码交出,同时让新资金(中信等)能在相对“合理”的价格拿到筹码,为后续拉升做准备。
11月27日-28日(振幅/换手榜):策略分化与滚动操作
多个核心席位(沪股通、国泰海通江苏路、瑞银证券)开始频繁同时出现在买卖两侧,净买入额显著缩小。
这标志着资金策略从“单向推升”转向“高抛低吸的滚动操作”。他们不再单纯增加仓位,而是通过巨量交易:
降低自身持仓成本。
维持极高的市场活跃度和换手率,吸引更多投机者参与。
在可控范围内继续推高股价,但随时准备转向。
阶段本质:
此阶段是行情最健康、也最复杂的主升浪。其特征是:清晰的主力资金接力(开源→沪股通/中信),配合 “拉升-震仓-再拉升”的节奏控制,以及后期主力资金的 “以交易代替持有”的策略预备。市场情绪被彻底激活,散户跟风盘大量涌入。
下表基于各交易日独立的龙虎榜数据切片,呈现了该阶段资金的博弈与演化:


阶段核心总结:
接力模式:完成清晰的 “开源证券(点火)→ 沪股通/中信证券(主升)→ 国泰海通(维护)” 的资金接力链条。
策略演变:主力资金策略从 “单向买入推升” 逐步过渡到 “高抛低吸的滚动操作”。买卖双方出现同一席位,意味着博弈从内外对抗转向内部复杂交易。
市场状态:高振幅、高换手成为常态,市场情绪被完全激活,散户跟风盘大量涌入,为主力后续操作提供了充足的流动性。
预示信号:机构席位的出现和核心资金净买入额的持续萎缩,是行情进入高位、资金产生分歧的早期信号,为第三阶段的震荡换庄埋下伏笔。
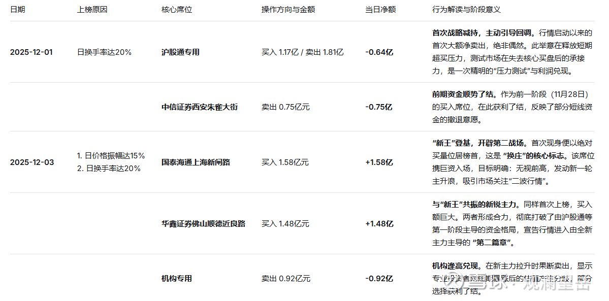
核心事件:股价经历一次回调(12月1日)后,再次放量大涨,期间机构席位显现,新游资龙头登场。
关键切片解读:
12月1日(换手榜):主动回调与压力测试
沪股通出现行情以来首次单日大额净卖出(-6375万)。这绝非偶然,是主力资金的主动行为。
目的:
技术性洗盘:释放连续上涨后的超买压力。
测试市场韧性:观察在核心资金撤退时,市场的承接力是否依然强劲。当日成交额高达35.5亿且跌幅可控(-3.15%),说明承接良好。
12月3日(振幅/换手榜):新王登基,开启第二波
国泰海通上海新闸路和华鑫证券佛山顺德近良路两大席位首次现身,便以雷霆之势分别净买入1.58亿和1.48亿,位居买一买二。
这是行情的“第二发动机”启动的标志。他们不是来接盘的,而是来开辟新战场的。他们的介入,赋予了股价第二波上涨的动能,也吸引了另一批相信“龙回头”或“二波启动”的资金。
12月4日-5日:短线套利与复杂博弈
新主力玩起了“闪电战”:华鑫佛山近良路在12月4日几乎全部卖出,国泰海通新闸路在5日卖出。他们完成了超短线的“建仓-拉升-兑现”。
机构席位出现分歧:在3日卖出、4日买入,显示专业投资者内部对此时股价的看法已不一致。
前期主力(如国泰海通江苏路)再度活跃,进行波段操作。
阶段本质:
这是一个 “换庄”与“行情再定义” 的阶段。第一波主力(沪股通、早期游资)部分撤退,股价通过回调消化压力。随后,更具魄力和资金实力的新游资龙头进场,他们不看过去,只做未来,用一波凌厉的攻势将行情推向新的高度,同时也吸引了更广泛的资金参与博弈,行情结构变得更加复杂。
下表基于各交易日的独立龙虎榜数据切片,呈现了该阶段新旧资金博弈、换庄与行情再定义的复杂过程:


阶段核心总结:
权力交接明确:以 12月1日沪股通大额净卖出 为序幕,以 12月3日国泰海通新闸路、华鑫佛山近良路巨量买入 为高潮,完成了行情主导权从第一阶段主力(外资/早期游资) 向 第二阶段全新主力(实力游资) 的转移。
操作节奏极快:新主力展现出“建仓-拉升-出货”的超短线特征(如华鑫佛山席位),将行情演绎为更暴烈、更短周期的波段,市场波动性和交易难度显著增加。
资金结构复杂化:此阶段,机构资金的短线卖出、前期主力的波段交易与全新主力的暴力拉升交织在一起。市场从相对清晰的上涨趋势,进入了一个由多路风格迥异资金共同主导的 “复杂博弈震荡期”。
为终局铺垫:极高换手下的“换庄”成功,意味着持仓成本被再次大幅抬升。然而,新主力更短的持仓周期和更快的获利诉求,也预示着一旦拉升任务完成,其派发的意愿和速度将更快、更坚决,直接引向第四阶段的集体派发。
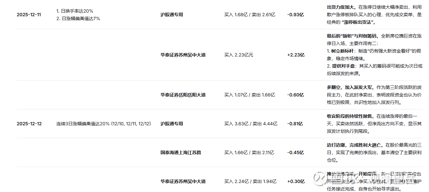
核心事件:股价在历史高位连续涨停(11、12日),但龙虎榜数据显示资金正在疯狂流出。
末日狂欢的解剖:
12月9日(多榜合一):多空决战日,胜利方开始撤离
这是全周期中资金博弈强度最高的一天。国泰海通江苏路净卖出2.66亿,沪股通净卖出2000万。
买卖力量对比发生根本逆转:虽然股价收涨,但卖方前五的总额和净额已显著压制买方前五。这意味着,最核心、仓位最重的主力资金已经开始不顾价格、以卖出为第一要务。
尽管仍有像“国信浙江互联网分公司”这样的席位在买入,但其角色更像是 “维持人气的旗手” 或 “博取最后一段利润的短线客”,已无法改变主力资金出逃的大势。
12月11日-12日(涨停出货的经典教案)
股价连续两天涨停,市场情绪达到癫狂。然而:
12月11日:买方前五净流入约7亿,卖方前五净流出约11亿,存在高达4亿的资金净缺口。这个缺口由成千上万散户的跟风盘填补了。
12月12日(三日榜):数据显示,所有早期的核心主力席位(沪股通、国泰海通江苏路、华泰岳阳大道等)全部为巨额净卖出。
操盘手法:
涨停板出货法:在涨停价位上,利用散户“买不到”的急切心理,优先挂出卖单,轻松成交。
对倒制造繁荣假象:部分席位仍有买入,制造“大资金依然看好”的幻觉,维持流动性。
情绪利用:充分利用市场“怕错过”的贪婪心理,完成最高效率的派发。
阶段本质:
这是行情周期的终局。所有前期入场的资金,无论属于哪个阶段、哪种策略,在此刻目标高度一致:兑现利润。他们利用市场最后的狂热情绪作为掩护,完成了惊天大逃亡。龙虎榜上“天量成交”与“资金净流出”的背离,是行情见顶最铁血的证据。
下表基于各交易日的独立龙虎榜数据切片,揭示了在股价连续涨停、市场情绪癫狂的表象之下,主力资金如何协同完成大规模派发。


阶段核心总结:
战略目标彻底转变:所有早期和中期进场的核心主力(沪股通、国泰海通江苏路、华泰岳阳大道等),无论此前是合力拉升还是波段操作,在此阶段行动高度一致——净卖出。行情进入纯粹的 “派发周期”。
经典出货手法上演:
涨停板出货:在12月11、12日股价涨停时,龙虎榜呈现巨额净流出。这是利用散户“买入即赚”的狂热心理,在流动性最好的时刻完成筹码交换。
对倒与掩护:通过引入新席位(如华泰苏州吴中大道) 在涨停日大额买入,制造“资金源源不断”的繁荣假象,掩护其他席位出货。这些新席位本身也可能进行短线对倒。
利用市场情绪:将市场情绪作为最佳的保护色和工具,在情绪最高点完成最高效的派发。
最危险的背离信号:此阶段提供了教科书级的 “量价与资金流向的顶部背离” 信号:股价连续涨停(价新高),但龙虎榜显示核心资金持续大规模净流出(资金撤退)。这表明上涨的推动力已从主力买盘转换为散户跟风盘,是行情即将逆转的铁血证据。
行情终局:随着最后一个交易日(12月12日)主要席位完成净卖出,本轮由多路资金精密协作的炒作周期宣告结束。后续股价一旦失去维护,将面临因主力缺失而导致的大幅回调。
航天动力的这波行情,是一部完整的、教科书式的A股资金协同作战案例。它展示了:
清晰的阶段轮动:点火→主升(接力/滚动)→换庄(第二波)→派发。
精密的角色分工:有点火者、趋势跟随者、波段交易者、换庄新主力、流动性维护者。
冷酷的博弈逻辑:每一个阶段的资金都在为下一阶段的资金创造条件和空间,但最终目的都是将筹码在高位置换给市场。
对于观察者而言,第三阶段末期和第四阶段的龙虎榜数据(核心席位巨额净卖出、买卖力量严重失衡)是不可忽视的离场信号。它告诉我们,当盛宴达到高潮时,厨师们已经开始从后门悄悄离开了。