
2025年即将收官,$松霖科技(SH603992)$ 一骑绝尘,涨幅110%,$建霖家居(SH603408)$ 涨幅16%,为何业务类似,松霖能甩开建霖好几个身段。对标松霖,建霖还能涨吗?
在A股中,这两家都属于小众股。从关注度来说,建霖和松霖的雪球关注度都很低,松霖约7000人关注,建霖约6000人关注。对比而言,同样名为家居的志邦家居、顾家家居、欧派家居,分别有3w+、4w+以及5w+人关注。从主营业务来说,建霖和松霖主要是厨卫出口,海外营收占比高,国内知名度低。这也是为何欧派等国内家居业务为主的企业关注度高出他们一个量级的原因。
但,从热点概念上说,建霖和松霖虽然同为厨卫出口,但松霖科技概念热点更足。今年以来松霖在机器人业务上动作频频。2月,松霖宣布成立全资子公司“厦门松霖机器人科技有限公司”,开始正式切入机器人领域。3月开始,松霖通过与独角兽企业达闼机器人合作研发,收购威迪思智能运动系统有限公司切入具身智能行业,此后至今区间涨幅75%。8月,公司收到了福建省伍心养老服务有限公司用于清洁、理疗、护理陪伴等多场景的智能机器人产品的采购1250台,此后至今区间涨幅30%。从行业前景来看,人形机器人发展前景十分广阔。根据研报, 到2030年,全球具身智能市场规模预计将从2025年的195.25亿元增长到2326.3亿元,年复合增长率超过64%。一旦打开人形机器人这一风口行业的第二增长曲线,松霖的想象空间是巨大的。但问题是松霖前期并无多少技术积淀,靠合作收购等半路出家的方式,未来能够形成规模效应和稳定产出和利润,并不确定。然而,市场是情绪化的。无需多言,先涨为敬。
反观建霖,除了近期的海峡福建概念,几乎没有可以让人打开联想的地方,智能家居的概念早已过时,高股息、海外扩产等概念老生常谈,毫无新意。一句话,讲故事的素材不行。在A股,讲故事也是一种能力。
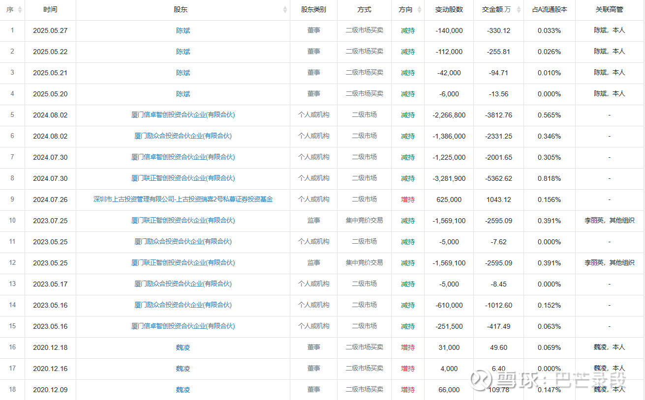
前面专门发文讨论过建霖的股权结构,DCF也算不出来的信息,谈建霖家居的股权结构(一)网页链接{DCF也算不出来的信息,谈建霖家居的股权结构 (二)},总体而言建霖的股权结构相对较好。松霖科技的股权结构不同,实控人周华松、吴文利夫妇家族持有松霖74.1%股权,减持意图和能力更强。松霖2019年上市,建霖2020年上市,一先一后,上市后我们来对比下股东和高管的减持情况。这是松霖:实控人暂未减持套现,但其亲属及公司高管已经开始。

这是建霖:

阿尔法的减持前面也发文专门讲过,矛盾的建霖:股东减持。
股东都有现金流偏好,如果不减持,那么大股东要想获得现金流就必须从现金分红,股权质押等角度打主意。建霖选择的是前者,分红较高,这种方式可以与中小股东共享。松霖则是兼用,但大部分中小股东是无法股权质押的。上市以来,建霖大股东从未质押,厦门松霖投资管理有限公司在2023年和2024年分别质押所持股的8%和22%。中国政法大学刘纪鹏教授说,一股独大是A股市场的先天顽疾,量化交易是后天沉疴。上市前大股东股权过高,减持是理性人的不二选择。所以刘纪鹏教授建议,大股东上市前必须减持完毕,股份不能超过30%。最终,松霖的实控人家族还是会通过减持来套现的,毕竟这是最直接最有效的方式,我们拭目以待。
整理了近五年2家企业的基本面数据,这是松霖的:

这是建霖的:

建霖对美业务敞口在60%以上,松霖约20%,但今年前三季度,松霖利润已经腰斩,建霖也下滑了18%。同样面对欧美市场高通胀、加息周期,消费需求疲软,下游品牌客户普遍处于去库存周期,导致新增订单减少、下单节奏放缓影响,建霖韧性更足。原因在于面对贸易战,考虑到关税的上涨可能会对行业未来订单、新项目等产生影响,建霖在2018年就为海外布局做好了前瞻性的准备,选择了泰国作为转移生产基地。经过五年以上的努力和团队建设,目前泰国的业务已实现盈利,拥有七八百名当地员工,并且逐步复制了从台湾到大陆的经验,提升了泰国团队的效率和成本控制能力,而泰国出口的产品还有进一步提价的空间。核心在于改变产品的产地,将对美出口订单,从中国厦门工厂转移到泰国工厂生产。从泰国出口美国,即可获得泰国原产地证明,从而规避对中国产品加征的关税。这是最彻底、最合规的关税转移方式。但需要巨大的前期资本投入和供应链管理能力。建霖泰国基地已成为其应对贸易摩擦的压舱石,墨西哥基地也可以尽快投产。虽然松霖也已规划越南等海外基地,但其步伐晚于建霖,2025年才开始布局。
作为制造业企业来说,2家都很优秀。但从价值投资角度来说,时间的天平会逐步向低估优质的企业倾斜。毕竟,市场短期是投票机,长期是称重机。#雪球星计划# #雪球星计划公募达人# #雪球星计划私募达人#星计划达人#