中煤能源H是公公的第一重仓,公公在煤炭股上投资五年以上收益很大,在过去几年已经涨了很多的情况下,在煤价同比去年(25相比24)下跌不少的情况下,煤炭股还能投资吗?中煤能源H的作业还能抄吗?带着这两个疑问,做一些梳理。
AI生成的表格,涨跌幅的具体数值可能不对,但趋势应该没问题。当煤价低的时候,煤炭股股价表现就不好,煤价高的时候,煤炭股股价也好。2021-2024这四年煤炭价格都较高,股价也好。

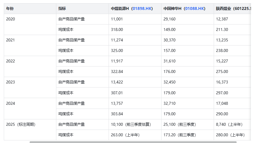
从AI生成的表可以看到中煤、神华、陕煤的产量都有所提升,神华的成本最低,但是相比2020年成本在上升,陕煤2020年成本比中煤低100元/吨,到2025年两者的成本一个升一个降,现在已经基本相当。

煤炭的可采储量

中煤能源近几年的煤炭产量、吨煤成本,净利润。

2024年销售价格562元,2023年销售价格602元。

中煤能源的煤炭储量(摘自2024年年