9月23日,中国汽车流通协会(以下简称流通协会)微信公众号发文称,近段时期,流通协会收到大量会员企业反映,持续的“价格战”等因素所带来的汽车市场剧烈变化,使得汽车经销商深陷泥潭,面临着资金流动性极度紧张的突出问题。
对此,流通协会于近日向政府有关部门正式递交了《关于当前汽车经销商面临资金困境和关停风险相关情况的紧急报告》(以下简称《报告》),就目前汽车经销商普遍面临的资金链紧绷致使关停风险陡增的问题进行了分析并提出相关政策建议,及时反映汽车经销商急难愁盼的现实问题。
图片来源:中国汽车流通协会官微 《报告》显示,据流通协会“市场脉搏”监测数据,今年1~8月,“价格战”已致使新车市场整体零售累计损失1380亿元,对行业健康发展产生较大影响。
事实上,今年以来,因“价格战”而不堪重负,进而深陷泥潭的经销商并不鲜见。仅在9月,就有两家汽车经销商被传出或新车无法上牌、或遭品牌方解除经销商协议的消息。
其中,经营高端品牌汽车经销业务的G.A.集团(以下简称GA集团),被曝因经营不善导致资金链断裂,无法赎合格证给客户,以及付款逾期等原因,遭某豪华品牌解除经销商协议,9月20日生效。
9月16日,G.A.控股(08126.HK)通过公告也确认了这一消息。不过,在9月20日,G.A.控股再发公告称,上述汽车生产商的高层管理人员已同意与公司董事会晤,探讨互利互惠的替代解决方案,会议安排目前正在排定。
图片来源:G.A.控股公告 前8个月新车市场零售累计损失1380亿元
上述《报告》内容显示,当前汽车经销商的新车销售出现大面积亏损,普遍存在现金流赤字经营和资金链断裂风险加剧的情况,已难以摆脱生存的困境。
《报告》认为,现阶段面临的两大主要问题:一是消费不振和厂家批发量的双重压力使得经销商库存维持高位,为降低资金压力和融资成本,经销商被迫低价抛售求生;二是“价格战”使得进销倒挂严重,经销商卖得越多亏得越多,同时又面临融资到期履约困难压力,经销商面临经营回款断流,资金链断裂风险陡增。目前,经销商现有流动资金维持时间已被压缩至极限。
“价格战”导致经销商业绩下滑或亏损,并不缺少案例。以GA集团为例,财报数据显示,今年上半年,GA集团累计收入约8.43亿港元,同比下降17.22%。其中,汽车销售收入约5.69亿港元,同比下降19.9%;期内亏损约1823万港元,而去年同期期内亏损约378.4万港元,亏损同比进一步扩大。
GA集团方面表示,今年上半年,由于中国各大汽车品牌之间展开激烈的“价格战”,集团收入、经营毛利及经营毛利率均有所下滑,并录得净亏损。同时,集团汽车销售收入的减少,也是激烈的“价格战”所致。

根据公开信息,GA集团是一家专业从事高端品牌汽车经销业务的集团,经营品牌中包括法拉利、保时捷、玛莎拉蒂等,目前在厦门、泉州、福州、上海及新加坡等地开展业务。在上述公告中,G.A.控股方面则披露称,截至2024年6月30日,上述经销商协议直接应占的汽车销售及汽车服务分别占集团总收入约66%和4%。
《报告》显示,据协会“市场脉搏”监测数据,截至今年8月,经销商进销倒挂数据最高已达-22.8%,较去年同期进一步扩大10.7个百分点。据协会专家相关数据分析,今年8月,新车市场的整体折扣率为17.4%;今年1~8月,“价格战”已致使新车市场整体零售累计损失1380亿元。
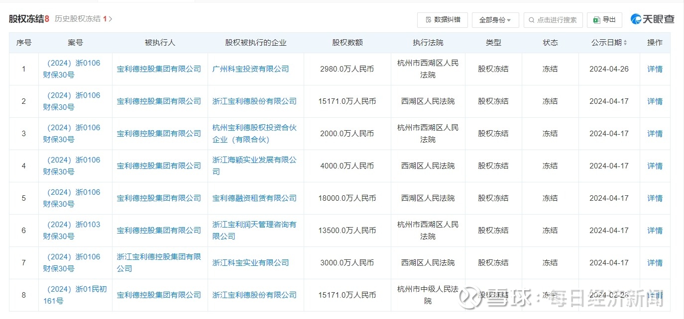
而除了GA集团,近期,位居“中国汽车经销商集团百强榜”前20位的豪车经销商宝利德集团,也传出旗下4S店新车无法上牌,车主拉横幅维权的消息。
另据天眼查信息,今年以来,宝利德集团已出现8起股权冻结,总股权数额超过7亿元。此外,宝利德集团此前还曾多次向永达汽车、中升集团等经销商出售旗下门店。
图片来源:天眼查 官网资料显示,宝利德集团经营品牌包括劳斯莱斯、阿斯顿·马丁、保时捷、林肯等,营销服务网络遍布浙江、湖南、安徽、上海等地。
针对个别门店出现了延缓交车或延迟交证的情况,宝利德方面回应称,公司在积极处理,正在通过统一部署保障客户问题有序解决。
呼吁出台阶段性金融纾困政策措施
流通协会方面认为,今年以来,媒体多次报道国内汽车经销商“爆雷”新闻,既有全国性也有区域性经销商。而“爆雷”原因大多都出在资金流动性问题上,与经销商本身经营没有直接关系,资金链的断裂最终导致了企业的停摆。
在“价格战”的屠刀之下,经销商的利润空间进一步缩水,加之传统经销商在新能源转型的竞争中面临阵痛,部分经销商不堪重负,甚至退网的情况并不鲜见。
流通协会数据显示,2020~2023年,中国车市有超过8000家4S店退网,预计今年退网数量超过2000家。
而根据中国汽车流通协会发布的《汽车经销商投资人调查报告》,2024年上半年,汽车经销商整体盈利呈现显著下降趋势,仅有27.3%的汽车经销商实现盈利,较2021年超过五成的盈利比例大幅下滑。
图片来源:每日经济新闻 刘国梅 摄(资料图) “当前汽车市场已进入存量市场阶段,流通效率已成为提高国民经济总体运行效率的重要方面,汽车流通行业属于资金密集型且民营企业占比较高的行业,金融稳则流通活,进一步完善金融服务对流通的保障能力,特别是加大对民营经销商企业发展的金融支持,对于扩大汽车消费、升级汽车产业和构建‘双循环’新发展格局都具有重要意义。”流通协会方面认为。
为此,流通协会呼吁,政府相关部门能够高度关注当前汽车经销领域所面临的资金困境和关停风险问题,果断采取阶段性金融纾困政策措施,切实防止汽车经销领域系统性风险的发生。
具体来看,汽车经销领域阶段性金融纾困政策措施包括两大方面:一是,相关部门尽快组织汽车经销领域金融环境专项调研,梳理百强汽车经销商集团、区域龙头经销商集团和中小汽车经销商等经营主体的金融需求,研究制定汽车经销领域融资支持政策,引导金融机构在依法合规和风险可控前提下加大对汽车经销领域的支持力度,从而进一步增强金融服务流通的功能;二是,金融机构与汽车经销商共同推动汽车市场稳定,对现有贷款不抽贷、不断贷、不压贷,允许以灵活方式进行展期和延续,同时逐步增加对经销商的授信额度,拓宽贷款使用范围。鼓励政策性银行对汽车经销商设立授信专项政策。
“下一步,协会将与行业企业和会员单位携手应对挑战,同时积极配合政府相关部门开展行业调研和反映会员诉求,帮扶广大汽车经销商共同渡过难关。”流通协会方面还建议,未来汽车市场不确定性加大,经销商要根据实际情况,理性预估实际市场需求,还要加大对“以旧换新”和“报废更新”政策的宣传,通过强化服务提振消费信心,把降本增效放在首位,防范经营风险。
每日经济新闻