近日,车规级芯片公司琻捷电子科技(江苏)股份有限公司(以下简称琻捷电子)向港交所递交招股书(申请版本,下同),以上市规则第18C章项下特专科技公司身份寻求上市。
记者注意到,在报告期内(2022年至2024年各年度与2025年上半年,下同),作为琻捷电子股东旗下附属公司的客户F,逐步成为琻捷电子第一大客户。今年上半年,来自客户F的销售收入已占琻捷电子总收入的20%以上,而且是琻捷电子前五大客户中唯一一家直销商。
此外,琻捷电子在2022年以总价超1亿元收购了聚洵半导体科技(上海)有限公司(以下简称聚洵半导体)100%股权,转让方包括科隆股份(300405.SZ)、张智才等。然而,琻捷电子到了2023年即对聚洵半导体计提了商誉减值准备7610万元。
值得一提的是,在上述股权交易正式完成前的2022年4月、9月,张智才等多名交易对手正式成为琻捷电子的间接股东。
另一方面,2021年入股聚洵半导体的科隆股份,在2022年通过转让上述股权产生收益2307万元。

图片来源:琻捷电子招股书(申请版本)截图
琻捷电子分销商数量为何自2024年起大幅减少?根据招股书,按2024年收入计,琻捷电子为全球第三大汽车无线传感SoC(系统级芯片)公司,也是中国最大的汽车无线传感SoC公司。
从业绩表现来看,琻捷电子报告期内营业收入分别为1.04亿元、2.23亿元、3.48亿元和1.57亿元,业务规模并非很大。且公司尚未实现盈利,报告期内亏损额分别为2.05亿元、3.56亿元、3.51亿元和1.43亿元。
琻捷电子的销售模式分为分销和直销两种。在2022年和2023年,退出琻捷电子销售体系的分销商分别为40家和150家,增加的新分销商数量分别为218家和222家。但到了2024年和2025年上半年,退出的分销商分别达到356家和97家,同期仅分别增加新分销商58家和34家。这也使得琻捷电子的分销商数量从2023年末的480家快速下降,至2024年末、2025年上半年末分别为182家、119家。
那么,为何2024年度和2025年上半年有大量分销商退出琻捷电子销售体系,同时增加的新分销商数量又较之以前减少了?
在2022年和2023年,琻捷电子前五大客户中均有3家为直销客户,在2024年的前五大客户中,有2家为直销客户,但到了2025年上半年,其中仅有1家直销客户——即客户F。
值得一提的是,客户F是琻捷电子股东旗下附属公司。客户F在2024年和2025年上半年都是琻捷电子的第一大客户,为琻捷电子分别贡献了期内总收入的25.2%和22.9%。

图片来源:琻捷电子招股书(申请版本)截图
收购半导体公司后第二年计提7610万元商誉减值记者注意到,琻捷电子在报告期内还进行了一宗数额较大的股权收购交易。
2022年5月,琻捷电子从A股上市公司科隆股份处收购了聚洵半导体51%的股权,交易价格为5970万元。同时,琻捷电子还从自然人张智才和蒋宇俊处分别收购了聚洵半导体17.54%和8.36%的股权,交易价格分别为2924万元和1394万元。
在2022年10月,琻捷电子又从上海语融电子技术服务部、深圳华秋电子有限公司(以下简称华秋电子)、深圳市嘉立创投资有限公司(以下简称嘉立创)和上海禅生半导体科技有限公司(以下简称上海禅生)处,收购了聚洵半导体11.10%、5.00%、5.00%和2.00%的股权,交易价格分别为1110万元、500万元、500万元和200万元。
至此,琻捷电子总共耗资约1.26亿元获得了聚洵半导体100%股权。
值得一提的是,琻捷电子在招股书中表示,公司在收购聚洵半导体的初始交易中确认了商誉金额7610万元,该金额为可识别净资产4210万元与现金对价1.182亿元之间的差额。
而到了2023年,琻捷电子即对上述因收购聚洵半导体而产生的7610万元商誉全额计提了减值损失。琻捷电子在招股书中对此仅表示,这是因为聚洵半导体的业务和财务表现。
那么,为何在琻捷电子完成收购后的第二年,聚洵半导体的业绩表现就与当初预期相差如此之大呢?

图片来源:琻捷电子招股书(申请版本)截图
完成收购聚洵半导体前 交易对手间接入股琻捷电子琻捷电子收购聚洵半导体的背后并不简单。
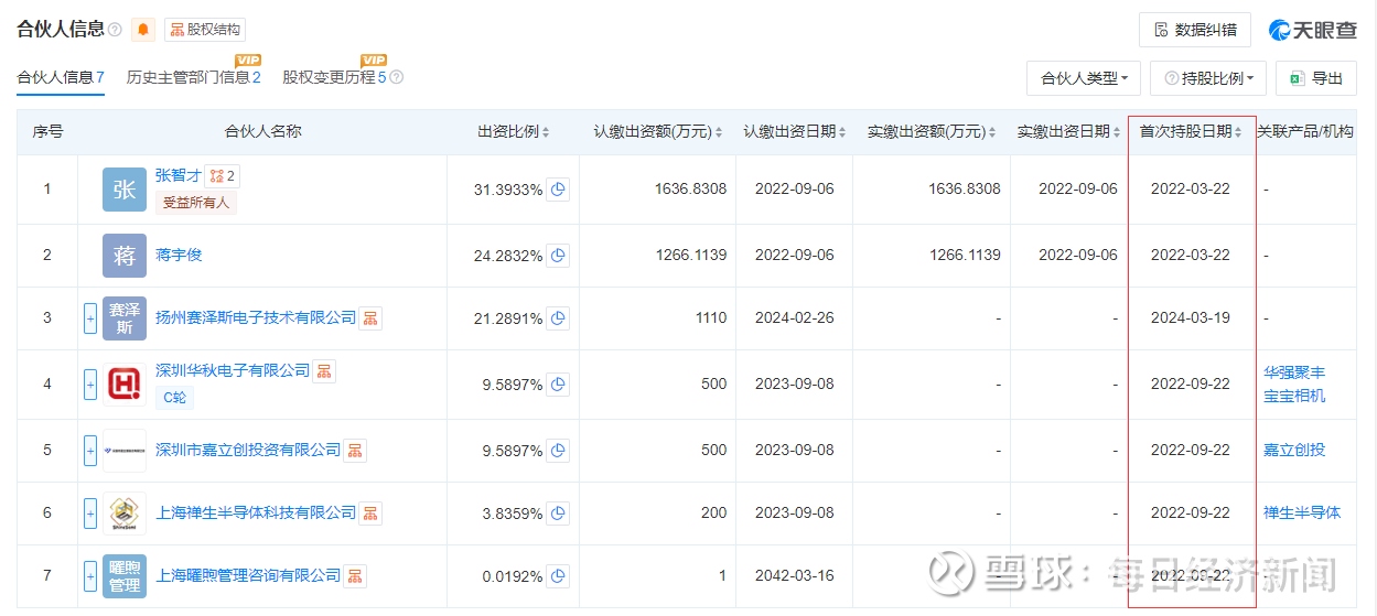
据天眼查,琻捷电子收购聚洵半导体时的交易对象中,华秋电子、嘉立创、上海禅生分别持有共青城英锐创投资合伙企业(有限合伙)(以下简称共青城英锐创)9.5897%、9.5897%和3.8359%的出资份额比例(正式入股时间为2022年9月)。此外,自然人张智才、蒋宇俊持有共青城英锐创31.3933%、24.2832%的股份(持股自2022年3月起)。

图片来源:天眼查截图
共青城英锐创的执行事务合伙人为上海曜煦管理咨询有限公司,后者是琻捷电子执行董事徐红如全资拥有的公司。
根据招股书,共青城英锐创现持有琻捷电子1.96%的股份。天眼查显示,共青城英锐创成立于2022年3月份,其在2022年4月份即正式入股了琻捷电子。
琻捷电子从张智才和蒋宇俊处收购聚洵半导体股权的过程发生在2022年3月至5月。2022年3月,琻捷电子签订了聚洵半导体股权购买协议,在2022年5月获得对聚洵半导体的控制权。
琻捷电子是在2024年11月由南京英锐创电子科技有限公司(以下简称南京英锐创)更名而来,当时名字中也有“英锐创”三个字。
此外,科隆股份是在2021年6月份以4940万元的价格收购了聚洵半导体51%的股权。而在2022年5月以5970万元的价格将聚洵半导体51%股权出售给琻捷电子之时,科隆股份还获得了聚洵半导体2021年已分配但尚未支付的股东分红款1530万元。据科隆股份2022年年报,通过对聚洵半导体51%股权出售,科隆股份产生收益2307万元。
对于本文中存在的疑问,《每日经济新闻》记者于9月16日向琻捷电子发去采访函,但琻捷电子方面回复称,公司正处于IPO静默期,暂不方便回复采访。
每日经济新闻