公司名称:江苏金融租赁股份有限公司,简称$江苏金租(SH600901)$
控股股东:江苏交通控股,实际控制人为江苏省国资委。江苏交通控股、扬子大桥、广靖锡澄为一致行动人。
经营范围:公司经营范围经中国银监会批准,主要包括:融资租赁业务;转让和受让融资租赁资产; 固定收益类证券投资业务;接受承租人的租赁保证金;吸收非银行股东3个月(含)以上定期存款;同业拆借;向金融机构借款;境外借款;租赁物变卖及处理业务;经济咨询;银监会批准的其他业务。
主要业务模式:包括直接租赁、售后回租等。
行业概况
国际:
1952年,世界第一家融资租赁公司在美国成立,掀开了现代融资租赁业的发展历程。据《世界租赁年报》统计,从全球租赁成交额来看,1993年至2015年总体保持平稳增长,1993年租赁成交额3,096亿美元,2015年为10,053亿美 元,年均复合增长率 5.50%。


2015年,除日本外,西方发达国家融资租赁业务的固定资产渗透率普遍达到15%以上, 而我国与之相比仍有较大差距,我国融资租赁市场未来仍具有较大发展空间。
国内:
1981年4月,我国第一家融资租赁公司中国东方租赁有限公司成立,揭开了我国现代融资租赁业发展的篇章。同年7月,首家金融租赁公司中国租赁有限公司成立。此后一段时期,融资租赁在我国得到快速发展。
在经历了诞生初期的快速发展后,融资租赁行业因制度问题导致严重欠租, 在90年代几近倾覆。这一时期的欠租问题因涉及广泛、规模巨大,造成了恶劣影响,这时期出租人起诉承租人的欠租违约事件还因法律上融资租赁的性质确定问题而屡遭败诉,导致许多的租赁公司破产、清算或者业务停滞。通过行业协会和政府部门的大力支持,直到1998年底,租金拖欠问题才得到基本解决。
前期租赁行业存在的租金拖欠问题,促使我国租赁行业相关制度的诞生。从1999年开始,我国陆续实现了融资租赁法律框架的基本建设,包括:《合同法》 (1999 年9月生效)中对于融资租赁的相关规定;《企业会计准则——租赁》 (2001年1月生效,后修改为《企业会计准则 21 号——租赁》2006年2月生效) 中对融资租赁记账方法的规定;《金融租赁公司管理办法》(2000年6月发布) 中对金融租赁公司设立和管理等的相关说明,后又于2007年1月经银监会修订并发布,允许国内银行重新介入金融融资租赁业务;《外商投资租赁公司审批管 理暂行办法》(2001年9月发布,后修改为《外商投资租赁业管理办法》并于2006年3月发布)中对外商设立融资租赁公司的相关要求介绍。以上相关法律法规的建设,为以后整个融资租赁行业恢复活力打下了坚实的基础。
随着行业监管政策的变化(例如银监会于2014年3月修订并发布了《金融 租赁公司管理办法》)以及政策支持力度的加大,融资租赁行业的公司数量大幅增加,市场规模持续扩大,服务领域更加广泛,市场活跃度明显提升。
2007年后,国内融资租赁业进入了几何级数增长的时期。业务总量由2007年的约240亿元增至2016年约53,300亿元,年均复合增长率为82%。2016年末我国的融资租赁余额较 2015年末上升 20%。

国内租赁行业市场渗透率:
2015年我国租赁行业市场渗透率4%。
2020年我国租赁行业市场渗透率已增至9.40%。
2024年我国租赁行业市场渗透率?
从国内外行业市场渗透率情况判断,近期还将保持10%以上的年复合增长,达到高位后将在较长时期内保持5%左右的年复合增长。
目前,我国融资租赁行业的参与者按照监管部门的不同可以分为两类:一类是商务部监管下的外商投资融资租赁公司和内资融资租赁公司,一类是银监会监管下的金融租赁公司。据公开资料显示,截至2017年底,全国注册的融资租赁公司9021家,金融租赁公司69家。近年来,融资租赁行业监管由商务部划归银保监会(现国家金融监督管理总局),行业进入清理整顿和规范发展的新阶段。当前持牌金融租赁公司数量稳定在71家,行业准入门槛提高。监管强调“融物”属性,引导回归本源,对已经具备规模、资本和合规优势的企业构成显著利好。
金融租赁公司虽然数量较少,但是凭借融资渠道以及风险管理方面的优势,在我国租赁市场中占据的市场份额较大。
2024年,在监管政策的引导下,金融租赁行业进入关键转型期。年内监管部门发布《金融租赁公司管理办法》《关于印发金融租赁公司业务发展鼓励清单、负面清单和项目公司业务正面清单的通知》等一系列重要文件,对金融租赁公司的合规管理提出了明确要求,推动金租公司加速回归租赁本源,加快业务转型与资产结构优化。
经营分析:公司的盈利模式本质上是利差驱动型的金融中介业务。通过投放融资租赁资产获取资产端收益,其与负债端融资成本的差额——即净利差,是公司收益的核心驱动。利息净收入构成了营收的绝对主体,其增长由生息资产规模和净利差共同决定。
公司沿革
江苏金融租赁成立时名称为“江苏省租赁有限公司”,系根据江苏省编制委 员会苏编[85]28 号批复于1985年成立运营,后经中国人民银行银复[1988]28 号文批准,于1988年4月在江苏省工商行政管理局办理工商设立登记,是全国最早的专业性金融租赁公司之一。2014年10月18日,公司召开创立大会,并于11月17日完成工商变更手续,整体变更为江苏金融租赁股份有限公司。先后引入南京银行、及国际金融公司和法巴租赁等海内外战略投资者,2018年3月1日在上交所A股上市。
公司为全国首批获取金融许可证(1988年)、首家进入银行间拆借市场(2008年)、首批获准发行金融债券(2010年)、资产支持证券(2015年),以及首家获保监会批准保险资金资产支持计划(2015年)的金融租赁公司,也是唯一在A股上市的金融租赁公司。
股权结构
总股本:57.92亿(2025半年报)
发行上市日期:2018年3月1日,发行股数63,999.97万股,发行价格6.25元,发行后总股本298,665.00万股。发行前后股权结构如下:

2019年12月回购实施股权激励计划网页链接,计划回购数量:不超过2,964万股,回购价格:不超过人民币9.06元/股。2020年3月2日,公司完成回购网页链接,实际回购29,159,956股,回购最高价格5.87元/ 股,回购最低价格5.44元/股,回购均价5.66元/股。2024年12月回购注销限制性股票826,000股。
2021年12月发行50亿元可转换公司债券网页链接上市时间:2021年12月10日/转股期起止日期:2022年5月17日至 2027年11月10日,转股价格:5.42元/股网页链接可转债赎回摘牌日:2024年10月18日
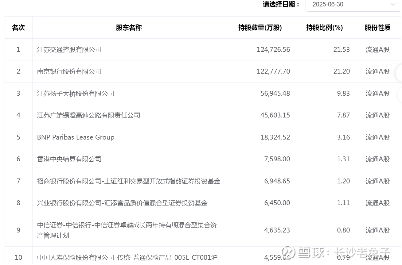
最新十大股东持股情况如下:(2025半年报)

从上述股权结构及比例来看,前四大股东上市从未减持股份;意味着合计60.43%的股份长期锁定,流通筹码不到实际股本的40%。
业务和技术
公司为中国银监会监管下的金融租赁公司,主营业务为融资租赁业务,早期主要服务的行业涉及医疗、教育、工业制造、农业机械等。
上市前主要业务分类概况如下:

上市后主要业务:
公司的三年转型战略在2020年已有全面展现。2017年起确立了绑定厂商&零售化转型两大战略目标,2020年末公司已与600多家世界五百强、国内龙头厂商、经销商建立战略合作,2024年合作厂商达5847家。
公司依托法巴租赁在欧洲成熟的厂商租赁业务模式和全球厂商合作资源,打造创新型厂商模式。厂商模式促进公司、厂商与客户的互利共赢。公司借助厂商渠道批量获客降低展业成本、实现三位一体风控;厂商借助公司实现销售体系成本降低、扩大销售规模。厂商模式具有零售化、可复制、高利差和壁垒性较强等优势,公司厂商模式业务占比持续提升,合作厂商经销商数量从2020年底的632家增长至2021年6月末的近1000家。公司与优质设备龙头厂商长期绑定,具有竞争壁垒,未来成长空间在于细分产业赛道的复制和渗透率的提升。
2024年报主要业务分类概况如下:

公司的融资主要由金融同业部负责。金融同业部根据资金需求制定融资计划并进行资金管理。公司通过银行借款、同业拆入资金、金融债、资产证券化等多种渠道及股权融资的方式筹集资金。
主营业务收入

主营业务收入基本为融资租赁业务收入。
周期性
业务早期投向基本上集中在医疗卫生及水利等周期性较弱的行业。
主要聚焦于中小型客户,议价能力强,分散资产风险,并且市场未来空间广阔。
季度间的营收及净利润比较均衡,见下表:

公司特点
公司是A股市场唯一纯正金融租赁标的。金租行业受益差异化监管,较一般融资租赁公司具有更广泛的融资渠道(同业拆借等)。公司资产久期显著大于负债久期,公司有息债务的期限一般在一年以内,而公司融资租赁的收款期限一般在三年以上。因此公司在具有流动性风险的同时,能够明显受益于市场利率下行带来的净利差提升。打造“租赁物+承租人+厂商”三位一体的风险防控体系,盈利能力和抗风险能力表现突出。协同厂商建立了租赁物监控、售后维护、远程锁机等风险预警和处置机制,过往的高不良生成行业在厂商模式下得到了较好的控制。
公司的核心竞争力源于其“零售+科技”战略,通过“厂商+区域”双线渠道高效服务小微普惠客群,不仅实现了稳健的资产规模增长,更在资产质量和业务结构上展现出卓越的风险控制能力。其最核心的投资亮点在于,受益于适度宽松的货币政策和卓越的主动负债管理,公司负债端成本优化速度超越资产端,驱动净利差进入逆势走扩通道,盈利能力极具韧性。
历年业绩记录

从上市前后至今的业绩来看,营收连年增长,从未下滑,净利润年增长从未低于10%。妥妥的一支成长股!
历年分红记录

2025年5月,公司股东大会同意实施中期分红,并授权董事会于年内开展。2025年12月11日股权登记,12日除权,每股中期分红0.13元。
上市后股价走势


投资计划
20251020于5.79买入观察仓,PE=9.34、PB=1.39,估值合理偏低;股息率=4.66%,股息率低于5%,可以接受。不过在当前持仓股中不具备优势,主要是由于去年债转股的因素导致每股分红下降,但基本可以确定预期3~5年的中短期内业绩具备年复合增长达到10%以上,5~10年的中长期内可以保持5%以上的年复合增长。
11月26日股价冲高6.61后一直回落,今日跌到6.02元最低价收盘。中期分红0.13元/股,今日股权登记,明日除权。近日在6.20以下逐步分批建仓,已接近标配上限。计划后期择机继续加大投入,做长线持有。
风险点
目前我国法律对融资租赁资产的物权保护制度还不完善,除飞机、船舶和机 动车辆外,我国尚未设立普通动产所有权登记制度,对于以占有为公示方法的动 产,占有即推定为所有。根据《物权法》的规定,如果承租人恶意将属于出租人 所有的租赁资产转让或者抵押、质押给第三人,支付了合理对价的善意第三人, 对于承租人交付的动产享有所有权,出租人只能向无处分权的承租人请求赔偿, 不能向善意第三人主张对租赁资产的权利。虽然政府、行业协会等已通过各种方 式来保护融资租赁公司对租赁资产的所有权,但动产所有权登记制度的缺失状况短期内难以改变,公司在业务经营过程仍将面临租赁物所有权难以行使的风险。
知识点
直接租赁:是指承租人自主选择意向设备,与供应商基本确定设备规格、型号、数量、价格等条件后,出租人根据承租人的要求,向设备供应商购买设备,并将设备出租给承租人使用。租赁期间,承租人向出租人支付租金;租赁期满,设备归承租人所有。
售后回租:是指承租人以其存量自有设备与出租人进行洽谈,将设备以合理的价格出售给出租人,再从出租人手中租回使用。租赁期间,承租人向出租人支付租金;租赁期满,设备归承租人所有。售后回租有利于帮助客户特别是中小微客户盘活存量资产,提高资金效率,缓解中小微客户融资难题。
厂商租赁业务:是指出租人即融资租赁公司与设备厂商结成战略合作关系,厂商通过自身的销售渠道向出租人推荐设备购买方,出租人审核通过后,由出租人支付设备价款,并向推荐的设备购买方即承租人提供融资租赁。厂商为租赁项目提供某种形式的担保或设备回购承诺。租赁期间,承租人向出租人支付租金;租赁期满,设备归承租人所有。
融资租赁公司和商业银行的区别:金租在业务模式及监管等方面与银行相近。《金融租赁公司管理办法》要求金租公司杠杆率不得低于6%,明显高于普通银行不低于4%的要求,此外监管还限制金租公司财务杠杆倍数不得高于10倍。2025年5月,央行将金融租赁公司的存款准备金率从以前的5%调降为0%,预计将显著提升金租公司的资金效率。融资租赁业务至少有租赁物作为保障,较商业银行的信用贷款业务保障程度更高。
参考资料
全景网网页链接
年报
2024网页链接
2023网页链接
2022网页链接
2021网页链接
2020网页链接
2019网页链接
2018网页链接
2017网页链接
2021可转换公司债券募集说明书网页链接
2017首次招股说明书网页链接