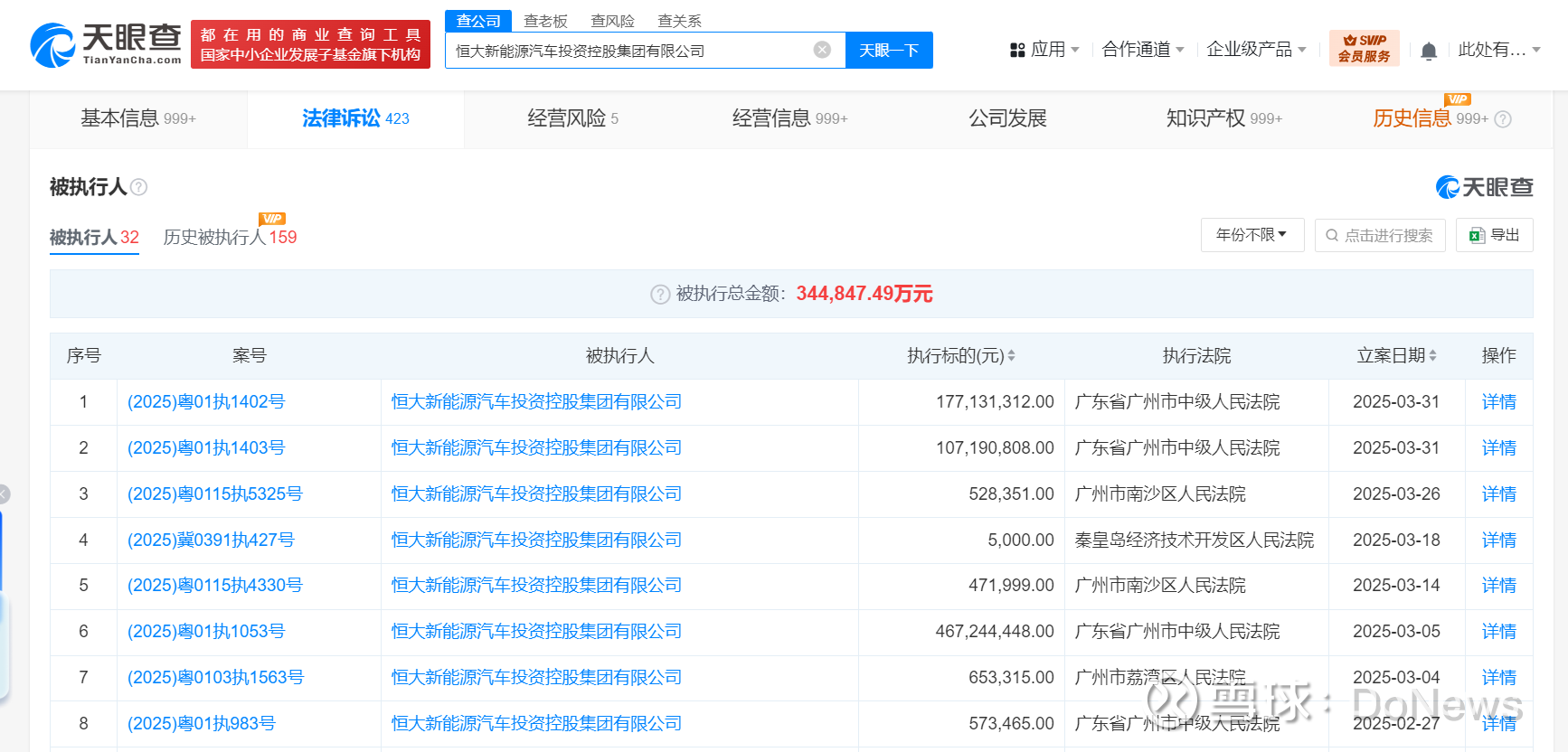
天眼查法律诉讼信息显示,3月31日,恒大新能源汽车投资控股集团有限公司新增2条被执行人信息,执行标的合计2.8亿余元,涉及融资租赁合同纠纷案件,被执行人还包括恒大集团有限公司、恒大恒驰新能源汽车(上海)有限公司等,执行法院为广东省广州市中级人民法院。
恒大新能源汽车投资控股集团有限公司成立于2019年1月,法定代表人为刘伟胜,注册资本35亿美元,经营范围为在国家允许外商投资的领域依法进行投资。股东信息显示,该公司由恒大新能源汽车控股(香港)有限公司、恒大恒驰新能源汽车(广东)有限公司共同持股。天眼风险信息显示,该公司现存30余条被执行人信息,被执行总金额超34亿余元,此外,该公司还存在多条限制消费令、失信被执行人(老赖)及终本案件信息。


本文转载自天眼查,转载目的在于传递更多信息,并不代表本站赞同其观点和对其真实性负责。如涉及作品内容、版权和其它问题,请联系天眼查通知我方删除,我方将在收到通知后第一时间删除内容!本文只提供参考并不构成任何投资及应用建议。本站拥有对此声明的最终解释权。