证券之星消息,根据市场公开信息整理,胜业电气(920128)于6月13日将有126.0万股限售股份解禁,为公司公开发行战略配售股份,占公司总股本1.55%。(本次数据根据历史公告整理得出,实际情况以上市公司最新公告为准)最近一年内,该股累计解禁360.0万股,占总股本的4.43%。本次解禁后,公司还有5923.0万股限售股份,占总股本72.95%。具体如下图所示:

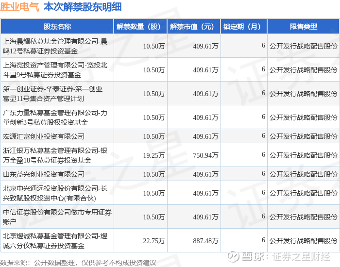
本次解禁涉及股东明细见下表:

胜业电气财务数据及主营业务:胜业电气2025年一季报显示,公司主营收入1.32亿元,同比上升3.0%;归母净利润940.97万元,同比下降9.8%;扣非净利润886.97万元,同比下降13.82%;负债率38.26%,财务费用20.74万元,毛利率23.67%。胜业电气(920128)主营业务:薄膜电容器、电能质量治理配套产品的研发、生产及销售。
以上内容为证券之星据公开信息整理,由AI算法生成(网信算备310104345710301240019号),不构成投资建议。