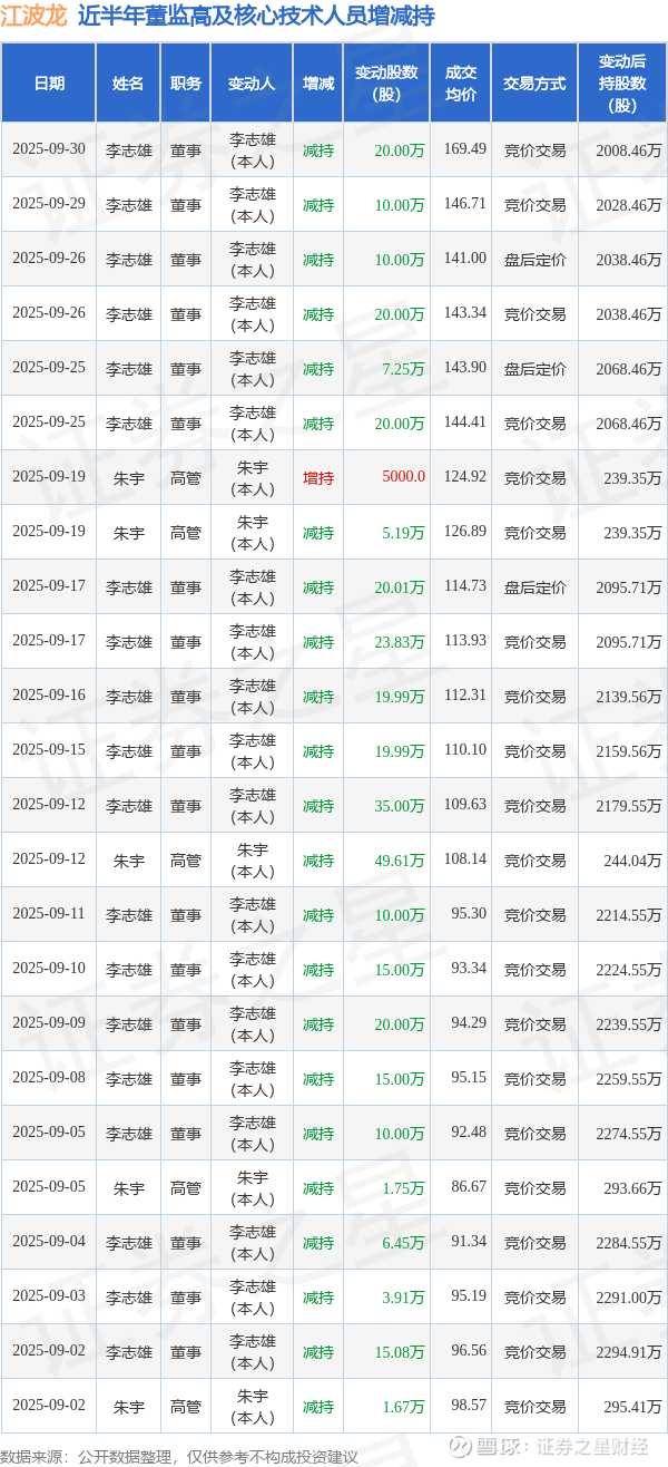
证券之星消息,根据10月9日市场公开信息、上市公司公告及交易所披露数据整理,江波龙(301308)最新董监高及相关人员股份变动情况:2025年9月30日公司董事李志雄共减持公司股份20.0万股,占公司总股本为0.0477%。变动期间公司股价上涨20.0%,9月30日当日收盘报178.03元。
江波龙近半年内的董监高及核心技术人员增减持详情如下:

江波龙的高管列表及最新持股情况如下:

融资融券数据显示该股近5日融资净流入1.6亿,融资余额增加;融券净流入5500.0,融券余额增加。
该股最近90天内共有9家机构给出评级,买入评级8家,增持评级1家;过去90天内机构目标均价为114.78。
以上内容为证券之星据公开信息整理,由AI算法生成(网信算备310104345710301240019号),不构成投资建议。