证券之星消息,根据2月6日市场公开信息、上市公司公告及交易所披露数据整理,中自科技(688737)最新董监高及相关人员股份变动情况:2026年2月5日公司董事陈耀强共减持公司股份500.0股,占公司总股本为0.0004%。变动期间公司股价下跌1.99%,2月5日当日收盘报27.53元。
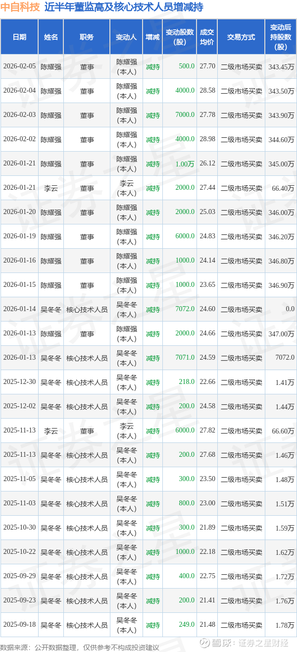
中自科技近半年内的董监高及核心技术人员增减持详情如下:

中自科技的高管列表及最新持股情况如下:

融资融券数据显示该股近5日融资净流出1145.57万,融资余额减少;融券净流入2000.0,融券余额增加。
该股最近90天内无机构评级。
以上内容为证券之星据公开信息整理,由AI算法生成(网信算备310104345710301240019号),不构成投资建议。