证券之星消息,根据市场公开信息整理,鼎佳精密(920005)于2月9日将有250.0万股限售股份解禁,为公司公开发行战略配售股份,占公司总股本3.01%。(本次数据根据历史公告整理得出,实际情况以上市公司最新公告为准)本次解禁后,公司还有6150.0万股限售股份,占总股本74.1%。具体如下图所示:

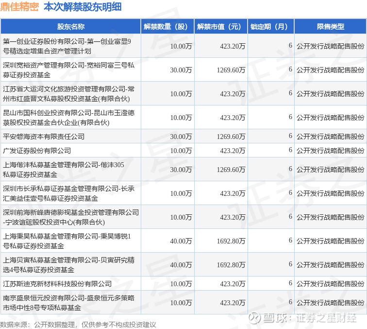
本次解禁涉及股东明细见下表:

鼎佳精密财务数据及主营业务:鼎佳精密2025年三季报显示,前三季度公司主营收入3.34亿元,同比上升12.26%;归母净利润5431.03万元,同比上升30.53%;扣非净利润5370.8万元,同比上升23.56%;其中2025年第三季度,公司单季度主营收入1.18亿元,同比上升1.99%;单季度归母净利润1625.66万元,同比上升20.25%;单季度扣非净利润1621.22万元,同比下降3.46%;负债率21.55%,投资收益17.17万元,财务费用-353.2