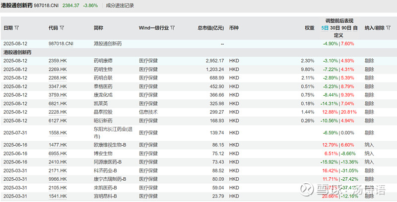
据说国证港股通创新药指数已经把$药捷安康-B(02617)$ 纳入成分股了,但查阅该指数的网页,发现成分股列表里没有它(图1):网页链接 而查国证指数的官网,也没找到调入指数的公告;万得的成分股进出记录里也没有它(图2)。但跟踪该指数的$港股通创新药ETF(SZ159570)$ 的申赎清单却已经有该股了(图3):网页链接 (以及其他几个跟踪同指数的:$港股创新药ETF(SZ159567)$ 、159217港股通创新药ETF工银、159286港股通创新药ETF鹏华、159297南方国证港股通创新药ETF,图4)它到底是怎么纳入进去的呢?什么时候进去的?权重多少?公告都没有,网页上也没有。如果必须查ETF申赎清单才知道指数的成分股有没有变,那请问有几个投资者知道ETF申赎清单是什么?怎么查?怎么用?大家可以回复一下。今天国证港股通创新药指数跌了3.86%,而没纳入它的中证港股通创新药指数只跌了0.62%,大概前者确实已经将它纳入指数了(图5)。国内做指数投资还真是挺头疼啊,连指数的成分股怎么调都得猜,权重也不知道......跟踪国证港股通创新药指数的ETF规模不小了,有370多亿元,因为权重不知道,也不能直接计算这些ETF买了多少股票。当然,可以通过ETF申赎清单去估算,但毕竟不准。说实话,如果不是今天这事,应该几乎不会有人去查ETF申赎清单去倒推指数有没有纳入或剔除某个股票......




