本投资笔记对双箭股份2025年1-9月专利统计:
1. 2025年新增专利授权量:2025年1-9月,公司新获得专利12件。
2. 专利类型分布:
a.纠偏装置类专利(数量最多)
纠偏装置是输送带领域的核心专利类型,主要解决输送带运行过程中因物料冲击、负荷变化或安装误差导致的偏移问题,保障输送稳定性与效率。该类专利涵盖机械结构纠偏和自动/智能纠偏技术方案
b.检测设备类专利(聚焦质量与性能监控)
检测设备类专利主要针对输送带的生产过程或使用状态,提供精准的性能评估与质量控制,确保产品符合标准,该类专利涵盖生产过程检测、成品性能检测。
c.输送带结构改进类专利(提升产品核心竞争力)
结构改进类专利通过优化输送带的材料、层数或部件设计,提升其耐用性、适应性及功能性,是企业差异化竞争的关键。该类专利涵盖高延伸与小转弯性能、耐高温与阻燃性能、金属异物监测。
d.监测与管理系统类专利(数字化与智能化升级)
“一种输送带倾斜监测系统及监测方法”(通过监测点布设、数据采集与分析,构建三维模型评估倾斜异常等级,实现精准预警);还有“一种输送带自动纠偏系统以及纠偏方法”(结合控制模块与上料单元,实现纠偏与上料的协同,提升整体效率)。这类专利推动输送带从“被动维修”向“主动预防”转变。
3.双箭股份2025年专利介绍:
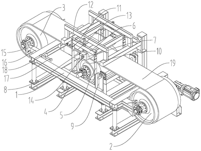
①一种橡胶输送带的滚动阻力测试机
本实用新型涉及橡胶输送带检测技术领域,尤其是一种橡胶输送带的滚动阻力测试机,包括主机架及支撑架,在主机架的一端设置有驱动滚筒,在主机架的另一端设置张紧滚筒,在主机架内部设置支撑架,在支撑架的两侧分别间隔设置有两个竖直向上的竖向载荷连杆,在四个竖向载荷连杆的顶部设置顶架,在顶架上设置有竖直向下的连接螺杆,在连接螺杆上设置轴座,所述轴座之间设置测量滚筒,在支撑架的一侧通过销轴转动连接有安装架,所述销轴设置于安装架的一侧,所述安装架上设置有对位滚筒,在安装架与支撑架之间设置有空气弹簧。本实用新型所得到的一种橡胶输送带的滚动阻力测试机,能精确检测橡胶输送带的滚动阻力,且可多次重复测量以提升测量精度。

②一种管状输送带检测机
本实用新型涉及输送带检测技术领域,尤其是一种管状输送带检测机,包括底座及设置于底座上的机架,在机架的中心设置有贯通整个机架的通孔,在通孔外围的机架上呈环形间隔均匀设置有若干个伺服模组,在伺服模组上设置有连接杆,所述连接杆的端部设置压辊座,压辊座内设置压辊,所述压辊座与连接杆之间设置有压力传感器;所述机架包括两个板体,所述板体间隔固定于底座上,板体之间间隔设置若干支撑杆进行固定。本实用新型所得到的一种管状输送带检测机,利用两个板体所形成的机架,并将压辊与伺服模组的组合分布于两个板体上,形成对管状输送带的两个间隔的径向平面进行检测,以提升检测过程中的稳定性及检测精度。

③一种高延伸可小转弯的输送带
本发明公开了一种高延伸可小转弯的输送带,涉及输送带技术领域。包括骨架,骨架的两侧分别设有上覆盖胶和下覆盖胶;骨架包括上层结构、中间层结构和下层结构,中间层结构位于上层结构与所述下层结构之间,中间层结构沿输送带的径向设置,上层结构与下层结构均沿输送带的横向设置;中间层结构包括芳纶布和橡胶,芳纶布设置于中间部位,橡胶设置于芳纶布的两侧,且橡胶位于输送带的边缘。本发明通过芳纶布和橡胶相结合的结构,实现了延伸率高的效果,满足了输送带小半径转弯时输送带内外侧伸缩比较大的需求,解决了输送带不能小半径急转弯的难题;通过设置上覆盖胶和下覆盖胶满足了对耐磨性和抗冲击性的高要求,为芳纶布提供最佳保护。

④一种管带弯曲疲劳试验机
本实用新型涉及橡胶输送带检测技术领域,尤其是一种管带弯曲疲劳试验机,包括机架,机架两侧设置有竖直方向的竖向滑轨,在竖向滑轨上由上至下第一移动架、第二移动架和第三移动架,所述底部支撑架上端设置有底部压力传感器,在底部支撑架两侧的第一移动架上设置有第一支撑架,在第一支撑架上设置有第一压力传感器,在第二支撑架上设置有第二压力传感器,在机架的顶部中间位置设置有竖向移动机构,在竖向移动机构的下端设置有顶部压力传感器。本实用新型对管状输送带卷曲成管状,并通过多个传感器实时检测管状带施加于传感器的压力,最后可通过计算机分析得到管带的弯曲疲劳性能,检测过程自动化完成,简单方便,安全可靠。
⑤一种输送带纠偏装置
本发明公开了一种输送带纠偏装置,涉及输送带设备技术领域,包括输送带本体、底板和纠偏辊,所述纠偏辊包括中间辊和对称设置于中间辊两侧的侧辊,所述中间辊与所述侧辊均设置于底板上,所述输送带搭设于所述纠偏辊上,所述输送带中间位置处设置有硬质条,所述硬质层宽度与所述中间辊宽度相适配。通过本发明的设置,提供了一种能在输送带运行过程中对输送带位置进行纠正,保证输送带使用寿命的输送带纠偏装置。

⑥橡胶输送带精准测量辅助设备
本发明公开了橡胶输送带精准测量辅助设备,属于测量技术领域。包括固定架,固定架上安装有多轴机械手和与水平面平行的测量台,多轴机械手的输出端安装有用于输送带测量的视觉相机,两组调节组件,包括可转动的支撑柱,用于将输送带调整至与测量台垂直,处理器,用于对输送带边缘线绘制及周长和厚度计算。本发明视觉相机捕捉输送带连续的外边缘线并计算边缘切线,通过切点绘制与边缘切线垂直的切点垂线,使切点垂线与输送带的另一个边缘线相交,多轴机械手带动视觉相机移动,使识别中心点移动至边缘线上并沿边缘线移动,处理器记录边缘线坐标并计算输送带的周长和厚度,实现输送带尺寸的精准测量。
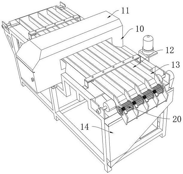
⑦一种橡胶输送带制造用检测设备
本发明公开了一种橡胶输送带制造用检测设备,涉及材料检测技术领域,包括外壳,外壳的内部固定安装有电机和电动伸缩杆,外壳的内部滑动连接有与电动伸缩杆伸缩端固定的滑块,滑块的一侧转动连接有两个动支撑辊,还包括驱动机构,驱动机构包括转动连接于外壳一侧并分别与两个动支撑辊上下对齐的两个定支撑辊,定支撑辊和动支撑辊的一端均固定连接有蜗轮,电机的驱动轴固定连接有定蜗杆,本申请通过调节动支撑辊和定支撑辊之间的间距,和两个动支撑辊和定支撑辊的转动方向,能够实现不同状态橡胶带的抗拉性能检测,突破传统设备只能针对单一状态橡胶带检测的局限,全面覆盖橡胶输送带制造过程中的不同形态产品,提升检测的全面性。
⑧一种高效智能悬挂运输加工耐高温输送带
本发明公开了一种高效智能悬挂运输加工耐高温输送带,涉及运输技术领域。该高效智能悬挂运输加工耐高温输送带,包括运输架,所述运输架外壁固定连接有悬挂连接板,所述运输架外壁固定连接有运输电机,所述运输架内部活动连接有两个滚轮,其中一个滚轮与运输电机的输出轴固定连接。该高效智能悬挂运输加工耐高温输送带,通过通过转动架旋转带动转动杆绕着转动架旋转,让转动杆表面的凸起块会定顶着运输带,会让运输带表面发生弯曲,弯曲会将运输带表面附着的粘附煤炭给撕裂,让其变的容易脱落,让扫动刷不断的对运输带的表面进行扫动,配合撞击球不断的撞击,进而将粘附物从表面去除,能够增加运输带的运输效率。

⑨一种橡胶输送带金属异物监测机构
本发明涉及生产线异常产品剔除技术领域,公开了一种橡胶输送带金属异物监测机构,解决了常规金属异物监测机的翻板式剔除装置在剔除异物中,同段时间内由输送带末端抛出的产品会落入收集不合格产品的收集框内,导致框内合格产品占比比例大,不利于后续分拣的问题,经传送带传送末端抛出的产品,由第一底板导向剔除槽内侧,再由剔除槽出口导向第二底板上侧滑落;当金属异物进入剔除槽腔内时,控制剔除辊转动,使剔除槽出口向下,剔除槽入口与第一底板错位,经第一底板表面滑落的产品会在下端暂时堆积,剔除槽仅排出腔内的金属异物以及产品,故而减小正常产品随金属异物一起被排出的占比量,便于后期分拣。

⑩一种输送带倾斜监测系统及监测方法
本发明涉及输送带倾斜监测技术领域,具体涉及一种输送带倾斜监测系统及监测方法,包括监测点布设模块、数据采集模块、数据监测分析模块、倾斜判定模块和显示终端;本发明,通过获取输送带的三维结构数据,构建三维模型,并分别在三维模型的两侧、关键区域和关键部位进行布设数据采集器,形成监测点集合,通过监测点集合获取输送带的运行状态信息,并对其进行分析处理,得到第一评估指数、第二评估指数和第三评估指数,对上述评估指数进行归一化处理后,计算输送带的综合评估值,据此确定倾斜异常等级,从而实现精准监测与实时预警,提升输送带的安全性和稳定性。

⑪一种自动化输送带的自动纠偏机构
本发明公开了一种自动化输送带的自动纠偏机构,涉及皮带输送机配件技术领域,包括安装架,安装架上转动连接有转动架,转动架的内部转动连接有第一双向丝杆,第一双向丝杆上螺纹连接有移动块,移动块的上方转动连接有第一连杆,第一连杆的一端转动连接有固定板,固定板和转动架的上表面转动连接,转动架上转动连接有支撑辊,固定板的上表面设置有纠偏机构;纠偏机构包括固定连接在固定板上的固定架,固定架的内部滑动连接有刮板,刮板的内部滑动连接有限位杆,限位杆的一端滑动连接有移动架,本装置通过设置刮板,刮板可以带动锥形辊往复运动,使得物料向输送带中心部位进行靠近,即可避免因物料分布不均导致的输送带波动和抖动的问题。

⑫一种阻燃输送带及其制备工艺
本发明公开了一种阻燃输送带及其制备工艺,涉及输送带技术领域,包括以下成分制成:丁苯橡胶、白炭黑、硫磺、弹性体阻燃复合剂、复合填料、防老剂、天然橡胶、硬脂酸、增塑剂、玻璃纤维;本发明通过对输送带成分进行了调整,引入了弹性体阻燃复合剂,不仅能够改善输送带的力学性能,同时,还能够极大的提高输送带的耐热阻燃性能,进而所制备的输送带能够长期应用于高温领域,保证了其在高温领域中的使用寿命。
4. 研发投入支撑专利增长:2025年上半年,公司研发投入4682.63万元,同比增长16.32%,为专利研发提供了资金保障。
5.创新实践体现:(从双箭公众号整体而来)
a.智能输送带
推出智能输送带,具备智能RFID芯片,可实现全生命周期精准管控;
采用预埋线圈防撕裂技术,能实时监控输送带运行状态,降低纵向撕裂风险;
拥有接头智能监测系统,可对拼接处进行高分辨率实时测量;
针对钢丝绳芯输送带,还有在线实时损伤监测方案,能洞察钢丝绳损伤演变并量化损伤程度,为用户提供精准维护决策。
b.管状输送带领先
其管状输送带在长度、管径和转弯角度上均有突破,为豫北煤炭储配物流基地提供的输送带长度达30千米,荣获“大世界基尼斯之最”;
公司已为南美客户定制了管径达700mm的管状带,直接替代欧洲进口产品。能设计和制造最大管径800mm的管状输送带
在山西某项目中,公司成功突破了管带机设计的物理极限:实现101°的最大转弯角度。这一项目成为全球转弯角度最大的管带机之一。
c.标准制定优势
今年6月,双箭股份制定的管状输送带横向刚度试验方法国际标准正式立项,取得中国橡胶输送带行业首项ISO国际标准制定权
风险提示:本文所提到的观点仅代表个人的意见,所涉及标的不作推荐。