这篇投资笔记个人感觉还是有一些东西,不是说写的多么好,而且这个主题的没有人写过,但对了解双箭股份还是非常有必要。这个也是非常需要静下心来花时间去挖掘梳理,梳理下来会惊奇发现原来双箭还参股国内非常厉害的手术机器人公司,虽然持股比例不大,但还是可以看到公司在医疗健康领域产业是有布局。
往往目前大众对双箭股份的投资研究集中于输送带,这个研究视角固然没错,因为投资必然需要关心企业的主业,少部分人的投资投资研究于公司养老服务业务,这个研究视角也挺好,A股是政策驱动的市场,银发经济是公司的主要炒作点。
我在投资中会追踪企业的基本面,但不会过多因为基本面变化而对持股产生动摇,还是更多的关注企业的股价安全性+公司潜在的炒作点来综合持股,在A股的炒作中,市场也经常炒作各个公司参股的企业,本投资笔记的研究点就在于梳理一下,双箭股份都投资了那些优质的企业。
双箭股份曾公告,其出资入伙上海金浦医疗健康股权投资合伙企业(有限合伙),占比9.52%,投资的目的中谈到,此次公司参与的股权投资基金将主要用于投资医疗健康领域的标的公司,有利于公司在医疗健康领域的产业布局。
那么双箭股份通过出资入伙上海金浦医疗健康股权投资,都间接持股那些潜力公司呢?

1.宁波华科润生物科技有限公司& 2.中欧智薇(上海)机器人有限公司
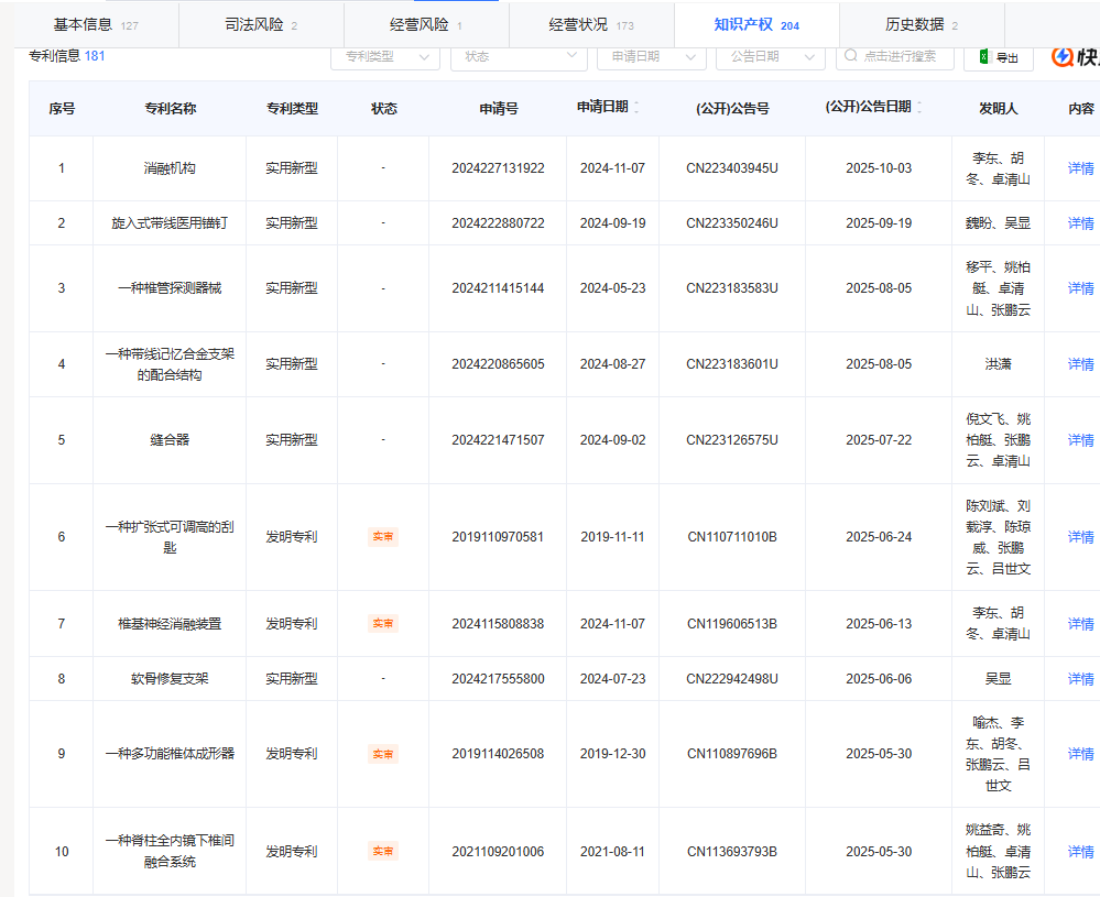
华科润是全国首家获得弯角椎体成形手术产品国内及欧盟批准上市的生产企业,也是国内弯角与传统椎体成形解决方案最为全面的手术器械厂家。作为弯角椎体成形技术全球领跑者,更是客户首选椎体成形器械的优质提供商。同时,公司拥有椎体成形全系列产品,以及脊柱内植入物系列、运动医学系列、骨科有源设备及耗材、人工智能等领域的创新产品。已累计申请国内专利项203项,包括发明专利83项、实用新型109项、外观设计11项;累计申请国际专利10项,已授权国际专利8项。目前已取得17张二类、12张三类NMPA医疗器械注册证,获得CE认证7项,美国/FDA认证12项,未来预期每年取证数量均不少于5项。
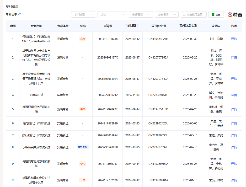
2021年,华科润投资欧洲创新机器人公司 Interventional Systems(INS)上亿元资金,并与其在上海合资成立中欧智薇(上海)机器人有限公司,成为华科润迈向数字化骨科及手术机器人市场具有标志性的里程碑。

由中欧智薇(上海)机器人有限公司研发的脊柱手术导航定位系统(商品名:智能啄木鸟微型脊柱手术机器人)成功通过国家药品监督管理局医疗器械技术评审中心创新医疗器械特别审查申请

智能啄木鸟微型脊柱手术机器人是新一代的微型化智能手术辅助系统,具有微型、精准、高效、智能等创新特性,搭载高度针对性设计的手术规划与导航系统,实现手术全程可视化与可控化;系统配备了丰富手术配件组合,以差异化的技术特点和人性化的产品设计满足临床用户的切实需求。智能啄木鸟系统将全面适配华科润各类型耗材产品,适用于脊柱内固定手术、脊柱介入手术、脊柱经皮内镜手术等多个领域,为临床提供全面的微型精准机器人辅助手术解决方案。

以智能啄木鸟微型脊柱手术机器人为核心,公司进一步推出了【智立方IDEAS³】智能数字化先进脊柱手术解决方案生态系统,公司推出了【智立方IDEAS³】智能数字化先进脊柱手术解决方案生态系统(Intelligent Digital Ecosystem of Advanced Spinal Surgical Solutions)。【智立方IDEAS³】通过多模态融合技术以及术前和/或术中规划,可在C臂机实时引导、导航技术引导以及导航定位技术等三类技术辅助下,配对华科润公司及相关授权品牌的产品,全程可视化操作有源、无源手术工具,在包括椎体成形、脊柱内镜减压与融合、全脊柱椎弓根螺钉固定等在内的各种脊柱手术场景中,为临床医生赋能,使操作更加方便、精准、智能、微创与高效,实现产品系统及临床需求的完美闭环。



3.赛诺微医疗科技(北京)有限公司
赛诺微医疗科技成立于2015年,为国家级专精特新“小巨人”企业。公司核心创始团队均具有数十年国际医疗巨头研发、生产、市场等领域的从业经验与深厚积淀。公司专注于微创外科手术和肿瘤微创介入治疗领域,致力于成为全球首选的微创外科整体解决方案提供者。
公司在北京建有一个拥有电子、机械、光学、声学、机器人、动物组织、可靠性等10余个实验室的研发中心以及一个配置了外科手术室、介入手术室和多功能培训室等的创新中心。同时,公司在浙江慈溪高新创业园区,建有超一万平方米符合MD GMP要求的生产基地,可快速响应全球客户需求,向世界输送中国高端微创外科整体解决方案。
目前,公司已构建外科能量、智能吻合、外科视觉、肿瘤消融四大平台,面向全球提供微创外科治疗整体解决方案,产品主要包括超声软组织切割止血设备、超声高频外科集成手术设备、超声高频大血管闭合集成手术设备、电动腔镜直线型切割吻合器、3D全高清、3D全高清荧光、3D4K、3D4K荧光电子胸腹腔镜以及4K、4K荧光光学硬镜成像系统、白光及荧光光源、气腹机、陡脉冲治疗仪、微波消融仪、射频消融仪等,涵盖微创手术全过程中的设备与器械。其中,多款产品已获CE认证以及NMPA、FDA的批准,产品及服务已进入欧美亚非的六十多个国家和地区。


4.上海阅尔基因技术有限公司
上海阅尔基因技术有限公司专注于将最新基因科技和国际顶尖大数据算法应用于基因筛查和诊断,为中国家庭及患者提供遗传数据分析和健康管理建议。团队核心平均拥有20 年以上的学术研究、客户支持、实验室质量管理等丰富经验;实验室拥有高通量基因检验的完整能力;生物信息团队位于美国波士顿,拥有全基因组、外显子组、遗传病、肿瘤等应用的领先算法,其中VarDict被Nature子刊Scientific Reports评为全球最佳临床变异分析软件。阅尔基因的愿景是:运用自主知识产权的创新基因组学产品,服务基础研究,服务临床诊断,服务大众健康。

5.启东领星医学检验实验室有限公司
领星医学是一家精准医疗方案提供商。公司提供临床全外显子组测序、终身随访、定制化循环肿瘤DNA监测及海外资源对接等世界一流的临床决策支持服务和精准医疗解决方案, 致力于通过基因检测技术与国际医疗资源为国内肿瘤患者创造切实的临床获益。

6.格微生物科技(苏州)有限公司
格微生物科技(苏州)有限公司以Toehold Probe为基础的技术是在哈佛大学维斯生物工程研究所和莱斯大学进行的初始研究和开发,并得到其专利授权。这是一项突破性的分子技术,可用于检测包括癌症在内的多种疾病。格微基因的技术可以非常灵敏地识别早期阶段的突变体,提高疾病检出率,并帮助指导可增加患者生存机会的治疗决策。

7.北京万灵盘古科技有限公司
万灵云是一家精神科人工智能辅助诊断系统提供商,自主研发了“万灵云”系统,能针对精神心理疾病进行预诊筛查,医生能根据预诊结果有针对性的问诊,同时其系统还将给出预后情况、治疗方案、用药建议等。

8.心韵恒安医疗科技(北京)有限公司
心韵恒安医疗科技(北京)有限公司成立于2016年,是一家总部位于北京的“专精特新”高新技术企业,多年来公司持续深耕“互联网+医疗健康”领域,是国内可穿戴心电监测技术的积极探索者和重要推动者之一。公司自主研发的 “康乃心” 品牌 12 导联可穿戴心电仪,可采集、显示和记录人体心电信号,可以辅助医生评估、诊断和预警(不包括自动诊断分析功能)。公司被“中国心血管健康联盟”授权运营“全国心电一张网”项目,通过康乃心远程心电信息智慧平台,加强医疗机构之间、医患之间的信息共享,致力于提高心电筛查普及率以及心血管疾病救治效率。

9.上海极橙医疗科技有限公司
极橙齿科是一家儿童口腔医疗连锁机构,致力于帮助孩子快乐看牙,将治疗的步骤嵌入到游戏的流程中,用游戏化的方式帮助孩子降低焦虑,提高配合度。同时利用“互联网+”的模式为患者服务,可实现手机APP和微信平台的预约挂号、诊治记录云查询等功能。

10.上海延安医药洋浦股份有限公司
上海延安医药洋浦股份有限公司的主营业务是药品制剂、原料药及医药中间体等产品的研发、生产与销售。公司的主要产品是药品制剂、原料药和医药中间体。公司子公司延安药业、延安湖北、无棣融川为国家高新技术企业;延安药业于2022年被认定为上海市“专精特新”中小企业,延安湖北于2025年被认定为湖北省“专精特新”中小企业。
企业已上市,2025年中报披露,该公司年中营业总收入为2.2亿元,归母净利润为3,262.2万元,净资产收益率为4.89%,其收入构成主要有:制剂(营收占比72.81%),原料(营收占比24.92%),其他(营收占比2.06%)。
持股比例介绍(数据来源:企业快查)

风险提示:用户发表的所有文章仅代表个人观点,与雪球的立场无关。投资决策需建立在独立思考之上。