日前,华邦健康发布公告,其全资子公司重庆华邦制药的糠酸莫米松乳膏以仿制3类报产获批,是该产品第2家过评企业。米内网数据显示,糠酸莫米松乳膏在2024年中国三大终端六大市场(统计范围详见本文末)销售额超过9亿元,是软膏剂(化+生+中)TOP2产品。今年以来,华邦健康已有8款产品获批上市。

糠酸莫米松乳膏主要用于湿疹、神经性皮炎、异位性皮炎及皮肤瘙痒症。
2024年中国三大终端六大市场软膏剂(化+生+中)TOP10产品

来源:米内网格局数据库
糠酸莫米松乳膏在2024年中国三大终端六大市场销售额超过9亿元,是软膏剂(化+生+中)TOP2产品,湖北恒安芙林药业的市场份额最大。
米内网数据显示,糠酸莫米松乳膏有11家企业拥有生产批文,福元药业、重庆华邦制药过评,江苏知原药业、浙江寰领医药、河北新张药以仿制4类报产在审,获批后视同过评。
华邦健康表示,此次重庆华邦制药的糠酸莫米松乳膏获批,进一步丰富公司产品管线布局同时,为患者提供更多在皮炎湿疹、皮肤瘙痒方面的用药选择。
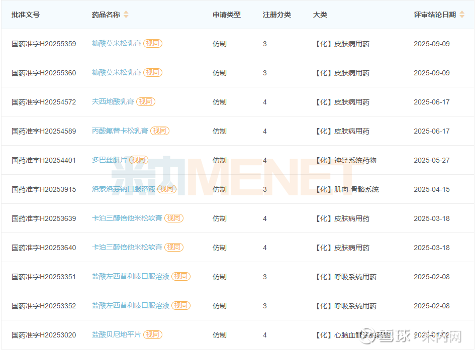
华邦健康今年以来获批产品

来源:米内网中国申报进度(MED)数据库
今年以来,华邦健康已有8款产品获批上市,其中4款是皮肤病用药,糠酸莫米松乳膏、丙酸氟替卡松乳膏在2024年中国三大终端六大市场软膏剂(化+生+中)中均是TOP10产品之列,卡泊三醇倍他米松软膏是首仿和首家过评。
资料来源:公司公告、米内网数据库
注:米内网《中国三大终端六大市场药品竞争格局》,统计范围是:城市公立医院和县级公立医院、城市社区中心和乡镇卫生院、城市实体药店和网上药店,不含民营医院、私人诊所、村卫生室,不含县乡村药店;上述销售额以产品在终端的平均零售价计算。如有疏漏,欢迎指正!