近日,津药药业公告称,其子公司津药和平申报的3类仿制药酒石酸布托啡诺注射液获批生产并视同过评,公司在该项目上累计投入研发费用约2200余万元。米内网数据显示,2024年在中国三大终端六大市场(统计范围详见本文末)酒石酸布托啡诺注射液销售额接近19亿元。

来源:企业公告
酒石酸布托啡诺注射液属于激动-拮抗混合型阿片受体激动剂,是国家《麻醉药品和精神药品管理条例》规定的第二类精神药品,主要用于治疗各种癌性疼痛、手术后疼痛。
米内网数据显示,酒石酸布托啡诺注射液已被纳入国家医保乙类目录,2024年在中国三大终端六大市场的销售额接近19亿元,2025年上半年接近10亿元。从厂家格局看,江苏恒瑞医药以超9成市场份额领跑。
近年来中国三大终端六大市场酒石酸布托啡诺注射液销售情况(单位:万元)

来源:米内网格局数据库
仿制药申报方面,恒瑞医药的酒石酸布托啡诺注射液为首仿及首家过评,国药国瑞药业、福安药业庆余堂制药、成都苑东生物、津药和平的产品获批生产并视同过评,扬子江药业、西南药业的产品报产在审。
酒石酸布托啡诺注射液申报进度表

来源:米内网中国申报进度(MED)数据库
在神经系统领域,津药药业拥有20余款产品的生产批文,包括盐酸利多卡因注射液、复方盐酸利多卡因注射液、对乙酰氨基酚片等多款麻醉止痛药。
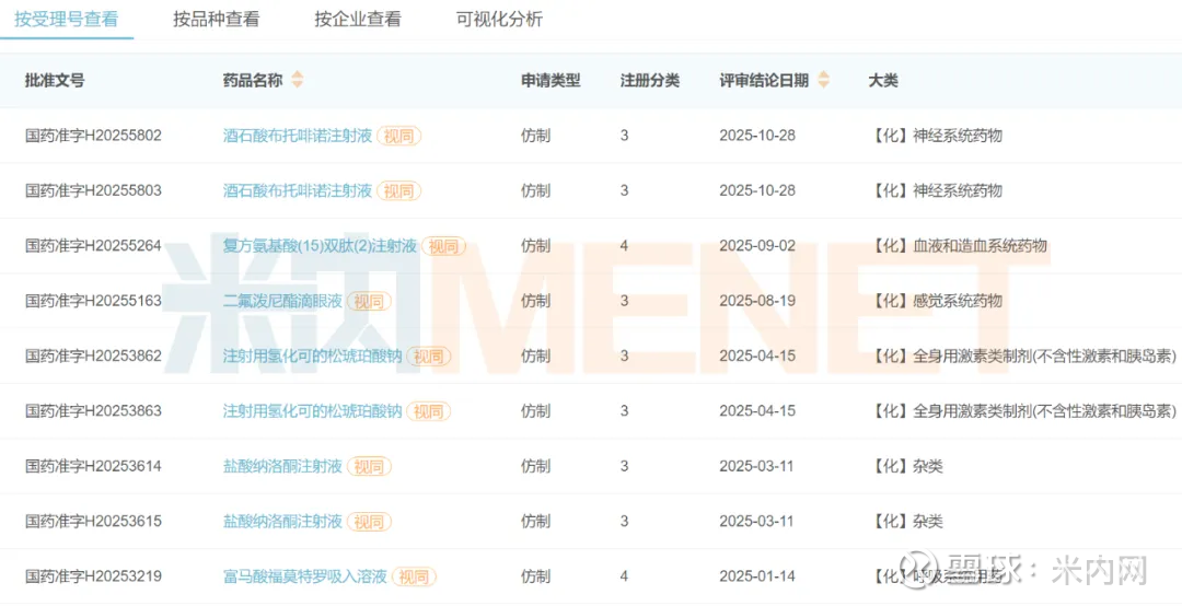
今年以来,津药药业有6个品种获批生产并视同过评,其中二氟泼尼酯滴眼液为首仿+首家过评,酒石酸布托啡诺注射液、注射用氢化可的松琥珀酸钠等国内第5家获批。
今年以来津药药业获批上市的品种

来源:米内网中国申报进度(MED)数据库
注:米内网《中国三大终端六大市场药品竞争格局》,统计范围:城市公立医院和县级公立医院、城市社区中心和乡镇卫生院、城市实体药店和网上药店,不含民营医院、私人诊所、村卫生室,不含县乡村药店;上述销售额以产品在终端的平均零售价计算。数据统计截至11月3日,如有疏漏,欢迎指正!