日前,康恩贝披露2025年三季度业绩,单季实现营收16.17亿元,同比增长10.42%;归母净利润2.3亿元,同比增长69.11%。近年来,公司聚焦中药大健康核心业务,目前拥有260余个中成药生产批件,包含48个独家中药品种(含剂型独家,下同);坚持研发创新驱动战略,3款中药新药获批上市、2款1类新药步入Ⅱ期临床、11款高端仿制药上市可期;积极参与国家带量集采,累计11个产品集采中选,37个品种获批过评。
三季度净利大涨70%!中药大健康战略成绩斐然
日前,康恩贝披露2025年三季度业绩,报告期内,公司营收与利润双增,实现营业收入49.76亿元,同比增长1.27%;归母净利润5.84亿元,同比增长12.65%;特别是第三季度单季成绩更为喜人,营收及归母净利润分别达16.17亿元和2.3亿元,同比增长10.42%和69.11%。
康恩贝始创于1969年,公司坚守以中药大健康为核心业务的产业发展战略,和以全品类中药产品为主体,以特色化学药品、特色健康消费品为两翼的“一体两翼”产品业务定位,经过逾五十年的发展,现已成长为一家集药物研发、生产、销售于一体的大规模中药企业。
米内网数据显示,康恩贝中药产品覆盖消化、心脑血管、呼吸、泌尿、骨骼肌肉、妇科、儿科等疾病领域,核心产品包括肠炎宁片/颗粒、复方鱼腥草合剂、麝香通心滴丸、银杏叶片、黄莪胶囊、普乐安片等。目前,公司(不含参股公司,下同)拥有中成药生产批件264个,其中中药独家品种有48个。
康恩贝已获批的独家中成药品种


来源:米内网中国上市药品(MID)数据库
在中国三大终端六大市场(统计范围详见本文末),康恩贝独家拳头品种肠炎宁片2024年销售额超12亿元,2025H1以11.23%的增速增长至超6亿元;独家中成药麝香通心滴丸及非独家中成药复方鱼腥草合剂、银杏叶片、肠炎宁颗粒均为2025H1销售额破亿单品。
从二级集团销售格局上看,康恩贝已连续多年稳居肠道用药领域TOP1,热销产品包括肠炎宁片、肠炎宁颗粒等;2025H1在前列腺用药领域位列TOP4,热销产品包括黄莪胶囊、龙金通淋胶囊、普乐安片/胶囊等;2025H1在清热解毒用药领域位列TOP8,热销产品包括复方鱼腥草合剂/滴丸、牛黄上清胶囊、蓝芩颗粒等;2024年在心血管疾病用药领域位列TOP12,热销产品包括麝香通心滴丸、银杏叶片/胶囊、可达灵片等。
中药新药方面,黄蜀葵花总黄酮口腔贴片是公司首款中药1.2类新药,为全球首个中药双层口腔贴片,其功能主治清心泄热,用于心脾积热所致轻型复发性口腔溃疡,2025H1在中国三大终端六大市场销售额同比增幅达140.34%;苓桂术甘颗粒是公司首款中药3.1类新药,于今年8月首次获批上市,具有温阳化饮、健脾利湿之功,用于中阳不足之痰饮,症见胸胁支满、目眩心悸、短气而咳、舌苔白滑、脉弦滑等,为国家医保乙类药品种。
7款明星产品冲线,37个品种获批过评
近年来,康恩贝积极参与国家组织药品带量采购。在日前开标的第十一批集采中,公司的腺苷钴胺胶囊(0.5mg*10粒)成功中选,拿下湖北、四川、宁夏等地的供应资格。米内网数据显示,腺苷钴胺口服常释剂型2024年在中国公立医疗机构终端销售额近8亿元,同比增长22.82%。
在此之前,康恩贝已有10个品种中选国家药品集采。其中,在中国公立医疗机构终端,公司的盐酸坦索罗辛缓释胶囊中选第三批集采,市场份额由2020年的13.42%增长至2025H1的23.26%;非那雄胺片中选第三批集采,市场份额由2020年的0.47%增长至2025H1的5.66%;泮托拉唑钠肠溶片中选第四批集采,市场份额由2020年的0.23%增长至2025H1的17.7%;盐酸吡格列酮片中选第七批集采,市场份额由2022年的4.46%增长至2025H1的23.29%;乙酰半胱氨酸颗粒中选第九批集采,市场份额由2023年的0.3%增长至2025H1的12.7%等。
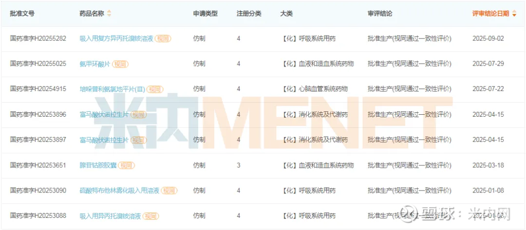
2025年至今康恩贝获批上市仿制药

来源:米内网中国申报进度(MED)数据库
2025年至今,康恩贝已有7款仿制药获批上市并视同过评,包括吸入用复方异丙托溴铵溶液、氨甲环酸片、培哚普利氨氯地平片(Ⅲ)、富马酸伏诺拉生片、腺苷钴胺胶囊、吸入用异丙托溴铵溶液、硫酸特布他林雾化吸入用溶液,涵盖呼吸、血液、心脑血管、消化等疾病领域。
7个已获批品种2024年在中国三大终端六大市场合计销售额超30亿元,其中富马酸伏诺拉生片、硫酸特布他林雾化吸入用溶液分别为超8亿元和6亿元的畅销品种,培哚普利氨氯地平片(Ⅲ)、富马酸伏诺拉生片为2024-2025H1销售额增速均达两位数的潜力品种。
康恩贝获批过评产品

来源:米内网一致性评价进度数据库
截至目前,康恩贝已有37个品种获批过评/视同过评,其中3个品种泮托拉唑钠肠溶片、硫唑嘌呤片、复方磺胺甲噁唑片为首家过评,3个品种阿莫西林胶囊、乙酰半胱氨酸泡腾片、乙酰半胱氨酸颗粒为第2家过评,4个品种盐酸坦索罗辛缓释胶囊、布洛芬颗粒、甲钴胺片、盐酸吡格列酮片为第3家过评。
紧盯4大千亿市场,19个新品火力全开
康恩贝坚持研发创新驱动,扎实推进创新药研发、特色仿制药(一致性评价)、大品牌大品种产品二次开发三方面工作。公司2024年研发费用3.26亿元,同比增长4.35%;2025年前三季度累计研发费用达1.84亿元,持续保持高强度的研发投入。
中药新药方面,康恩贝的中药2.1类新药清喉咽含片于今年5月获批上市,用于阴虚燥热、火毒内蕴所致的咽部肿痛、咽干少津、喉核肿大等;中药3.1类新药苓桂术甘颗粒于今年8月获批上市,用于中阳不足之痰饮;中药1.2类新药洋常春藤叶口服液已步入Ⅱ期临床,拟用于急性气管炎-支气管炎引起的咳嗽、痰多;中药1.2类新药ZY13片已获批临床,拟用于年龄相关性黄斑变性等。
化药新药方面,康恩贝的化药1类新药EVT-401片正处于Ⅱ期临床试验阶段,拟用于中重度活动性类风湿关节炎;化药2.2类新药吸入用吡非尼酮溶液已获批临床,正开发用于轻到中度特发性肺纤维化(罕见病:IPF)的治疗。
康恩贝主要在研新药

来源:米内网综合数据库
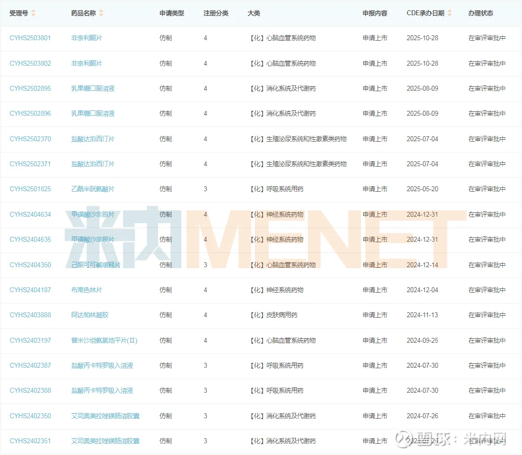
化学仿制药方面,康恩贝有11个品种以仿制3/4类提交上市申请在审。其中,甲磺酸沙非胺片、非奈利酮片、乙酰半胱氨酸片等有望冲击首仿+首家过评,阿达帕林凝胶等有望冲击第3家过评。
康恩贝以新分类报产在审仿制药

来源:米内网中国申报进度(MED)数据库
19款在研新品覆盖心脑血管疾病用药、呼吸系统疾病用药、皮肤病用药等11个治疗大类,其中,抗肿瘤和免疫调节剂、消化系统及代谢药、心脑血管系统药物、神经系统药物2024年在中国三大终端六大市场销售规模分别超2300亿元、2000亿元、1300亿元和1000亿元。
资料来源:米内网数据库、公司年报及季报等
注:米内网《中国三大终端六大市场药品竞争格局》,统计范围:城市公立医院和县级公立医院、城市社区中心和乡镇卫生院、城市实体药店和网上药店,不含民营医院、私人诊所、村卫生室,不含县乡村药店;上述销售额以产品在终端的平均零售价计算。数据统计截至11月20日,如有疏漏,欢迎指正!