近日,康缘药业的中药1.1类新药双鱼颗粒提交NDA获受理,距离获批上市又近了一步。该药主要用于流行性感冒(风热犯卫证),米内网数据显示,近年来中国三大终端六大市场感冒中成药销售额均超过200亿元。

据悉,双鱼颗粒具有清热解毒、疏风凉血的功效,用于治疗流行性感冒(风热犯卫证),症见发热,咽痛,咳嗽,鼻塞流涕,头痛,肌肉酸痛,乏力,恶风,舌质红,苔薄黄,脉浮数等。
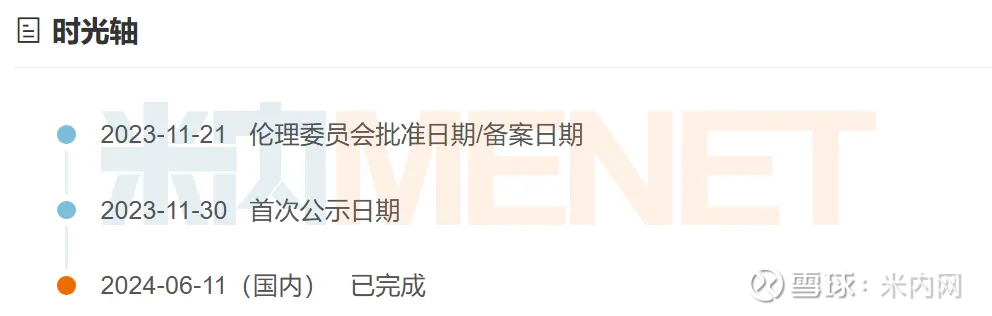
米内网数据显示,康缘药业于2023年11月公示双鱼颗粒的III期临床试验(登记号为CTR20233845);2024年6月,该临床试验顺利完成,并于2026年2月申报NDA获受理(受理号为CXZS2600012),上市可期。
双鱼颗粒III期临床开展情况

来源:米内网中国临床试验数据库
近年来,中国三大终端六大市场(统计范围详见本文末)感冒中成药的市场规模有所波动,但始终维持在200亿元以上。
在2025年前三季度感冒中成药TOP5品牌中,华润三九的感冒灵颗粒、复方感冒灵颗粒分别位列第一、第四,以岭药业的连花清瘟颗粒、连花清瘟胶囊分别位列第二、第五,陕西海天制药的四季抗病毒合剂排位第三。
2025Q1-Q3中国三大终端六大市场感冒中成药TOP5品牌

来源:米内网格局数据库
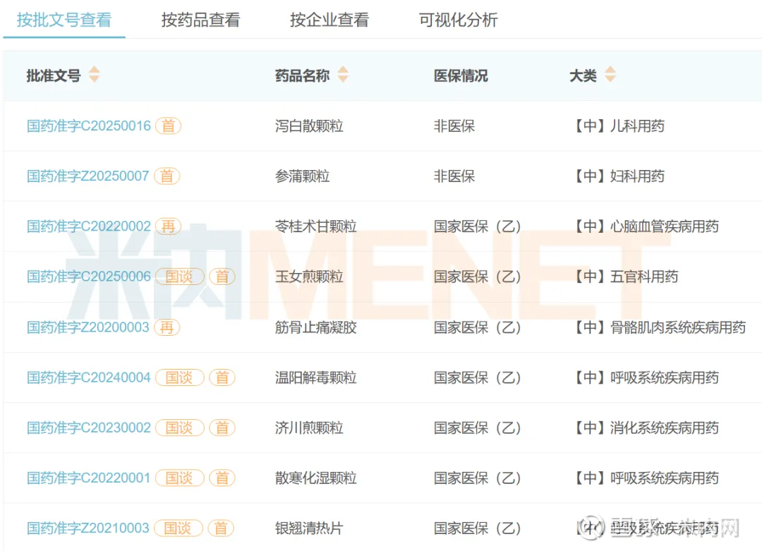
康缘药业是国内中药创新药龙头企业之一,2020年至今,公司已有9款中药新药获批上市,包括银翘清热片、筋骨止痛凝胶、参蒲颗粒3款中药创新药,以及泻白散颗粒、玉女煎颗粒、温阳解毒颗粒、散寒化湿颗粒、济川煎颗粒、苓桂术甘颗粒6款古代经典名方中药复方制剂。
2020年以来康缘药业获批上市的中药新药

来源:米内网中国申报进度(MED)数据库
此外,据不完全统计,康缘药业还有5款中药新药已报产在审。其中,中药1.1类新药双鱼颗粒、苏辛通窍颗粒、六味地黄苷糖片分别于2026年2月、2025年12月、2025年3月提交NDA,分别用于治疗流行性感冒(风热犯卫证)、持续性变应性鼻炎、女性更年期综合征(肾阴虚证)。
康缘药业报产在审的部分中药新药

来源:米内网中国申报进度(MED)数据库
注:米内网《中国三大终端六大市场药品竞争格局》,统计范围:城市公立医院和县级公立医院、城市社区中心和乡镇卫生院、城市实体药店和网上药店,不含民营医院、私人诊所、村卫生室,不含县乡村药店;上述销售额以产品在终端的平均零售价计算。数据统计截至2月6日,如有疏漏,欢迎指正!