11月18日,利安人寿保险股份有限公司(简称“利安人寿”)发布公告称,该公司于11月15日通过港股通二级市场买入深圳国际控股有限公司(深圳国际 0152.HK)股票50万股,共计持有深圳国际股票1.205亿股,占深圳国际总股本的5%。利安人寿买入深圳国际股票的资金来源为自有资金和保险账户责任准备金。

△利安人寿官网公告截图
香港联交所股权披露信息显示,11月15日,利安人寿以每股平均价6.4142港元买入深圳国际50万股,合计耗资约320.71万港元。
利安人寿称,以2024年11月15日深圳国际股票收盘价6.34港币和同日日终港元兑人民币汇率为基准,公司持有深圳国际股票市值为人民币7.13亿元,占公司上季度末总资产的比例为0.59%。
参与本次举牌交易前,利安人寿持有深圳国际股票1.2亿股,占其总股本比例为4.98%。
对于此次股票的投资管理,利安人寿表示,按照监管相关规定,该公司将本次举牌的深圳国际股票纳入权益类投资管理。
截至2024年9月30日,利安人寿总资产为1209.95亿元,净资产为68.17亿元,综合偿付能力充足率为249.67%。
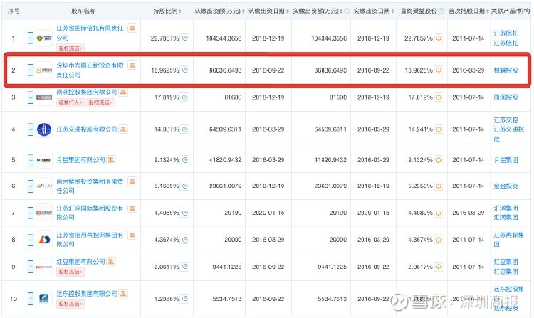
据天眼查信息显示,利安人寿成立于2011年7月,注册资本45.79亿元人民币,总部位于南京。利安人寿股东由江苏省国际信托有限责任公司、江苏交通控股有限公司、南京紫金投资集团有限责任公司等5家国有大型企业和深圳市为顺正新投资有限责任公司、雨润控股集团有限公司等5家知名民营企业组成。
值得一提的是,利安人寿第二大股东深圳市为顺正新投资有限公司(曾用名:深圳市柏霖资产管理有限公司),成立于2006年,控股股东为深圳市柏霖控股有限公司,实控人赖柏霖,系鸿荣源集团董事长赖海民次子。

据港交所资料显示,赖海民于2015年12月31日开始增持深圳国际,最高持股达15%,2017年开始则不断减持。2019年12月13日,赖海民及一致人好莱企业控股有限公司、陈思廷减持深圳国际184万股,减持后持股比例为5.93%。2019年,购股权激励到期行权,赖海民也随管理层陆续卖出深圳国际,最终减持到5%以内。
回溯往期年报,2018-2020年,利安人寿实现净利润分别为0.87亿元、1.81亿元、3.82亿元。2021年,利安人寿净利润由3.82亿元缩减至1.38亿元,直到2022年出现断崖式下跌,亏损27.34亿元。2023年第四季度偿付能力报告显示,利安人寿全年实现净利润0.73亿元,成功扭亏。
值得关注的是,近段时间,险资频频举牌上市公司股票。截至11月18日,包括瑞众人寿、中邮保险、新华保险和利安人寿在内的多家险企已先后进行举牌,仅本月内就有4次举牌行为,涉及5家上市公司,创下了年内险企举牌数量的新高。
据不完全统计,年内险企举牌上市公司股票已达15次,迎来又一轮高峰期。
来源:读创财经