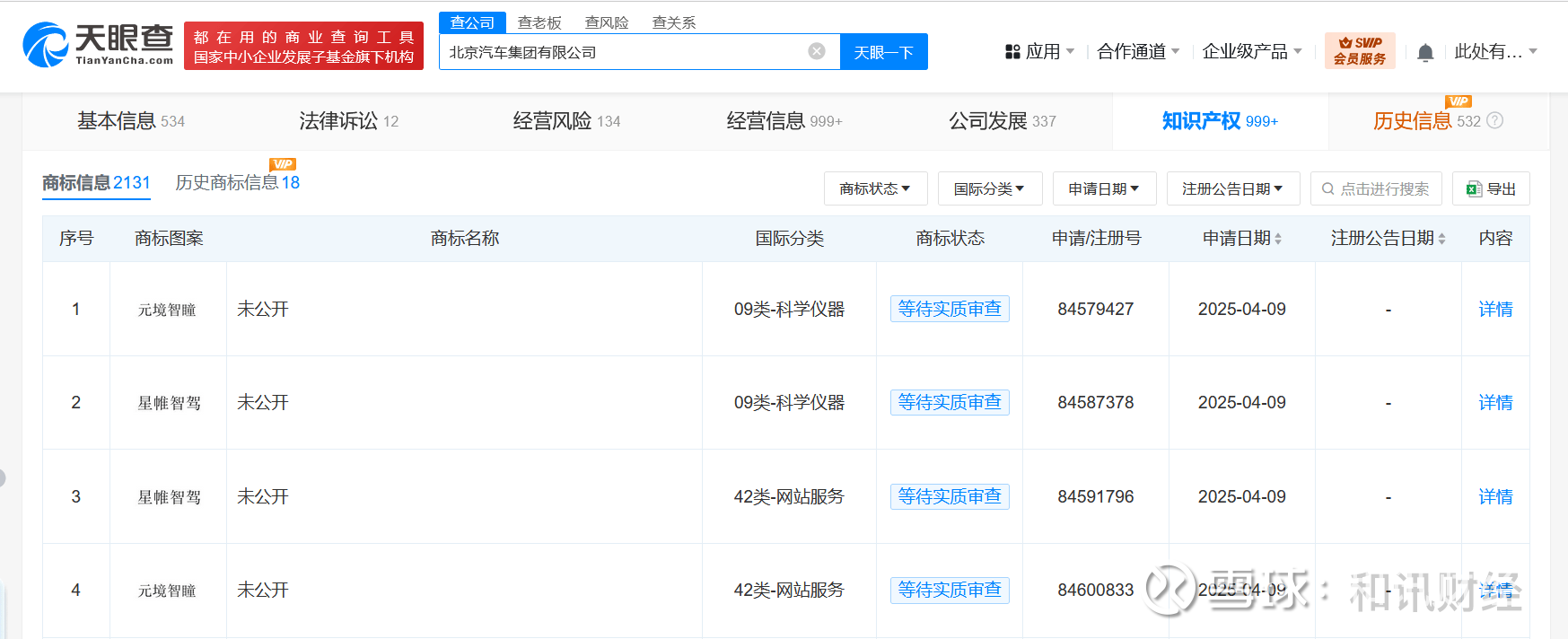
北汽集团申请注册星帷智驾商标 北汽集团申请注册元境智瞳商标

用户头像
和讯财经
 · 北京  

天眼查财产线索信息显示,近日,北京汽车集团有限公司申请注册两枚“星帷智驾”“元境智瞳”商标,国际分类为网站服务、科学仪器,当前商标状态均为等待实质审查。

北京汽车集团有限公司成立于1994年6月,法定代表人为张建勇,注册资本约199.57亿人民币,由北京国有资本运营管理有限公司全资持股。