盘点被控诈骗政府商人商业版图

用户头像
和讯财经
 · 北京  

亳州圆通物流园由亳州市梦翔置业有限公司投资建设,梦翔置业董事长曹玉根是圆通速递有限公司加盟商。2025年5月,亳州市谯城区人民法院开庭审理该案,检方指控曹玉根冒充圆通速递母公司骗取政府信任,利用物流项目骗取政府扶持资金、税费、专项建设基金共计9500余万元。

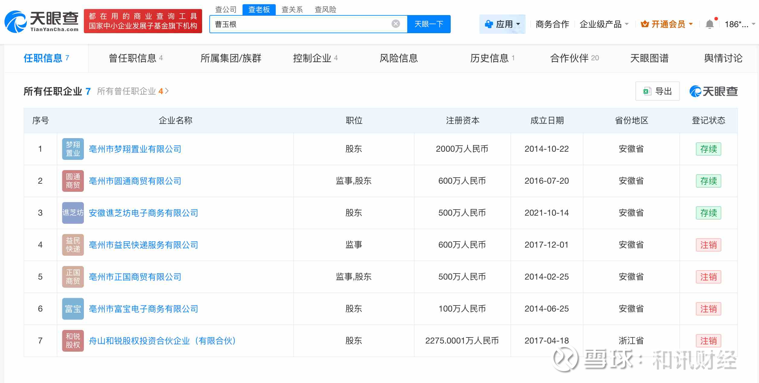
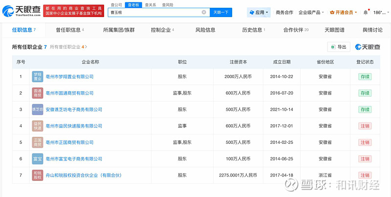
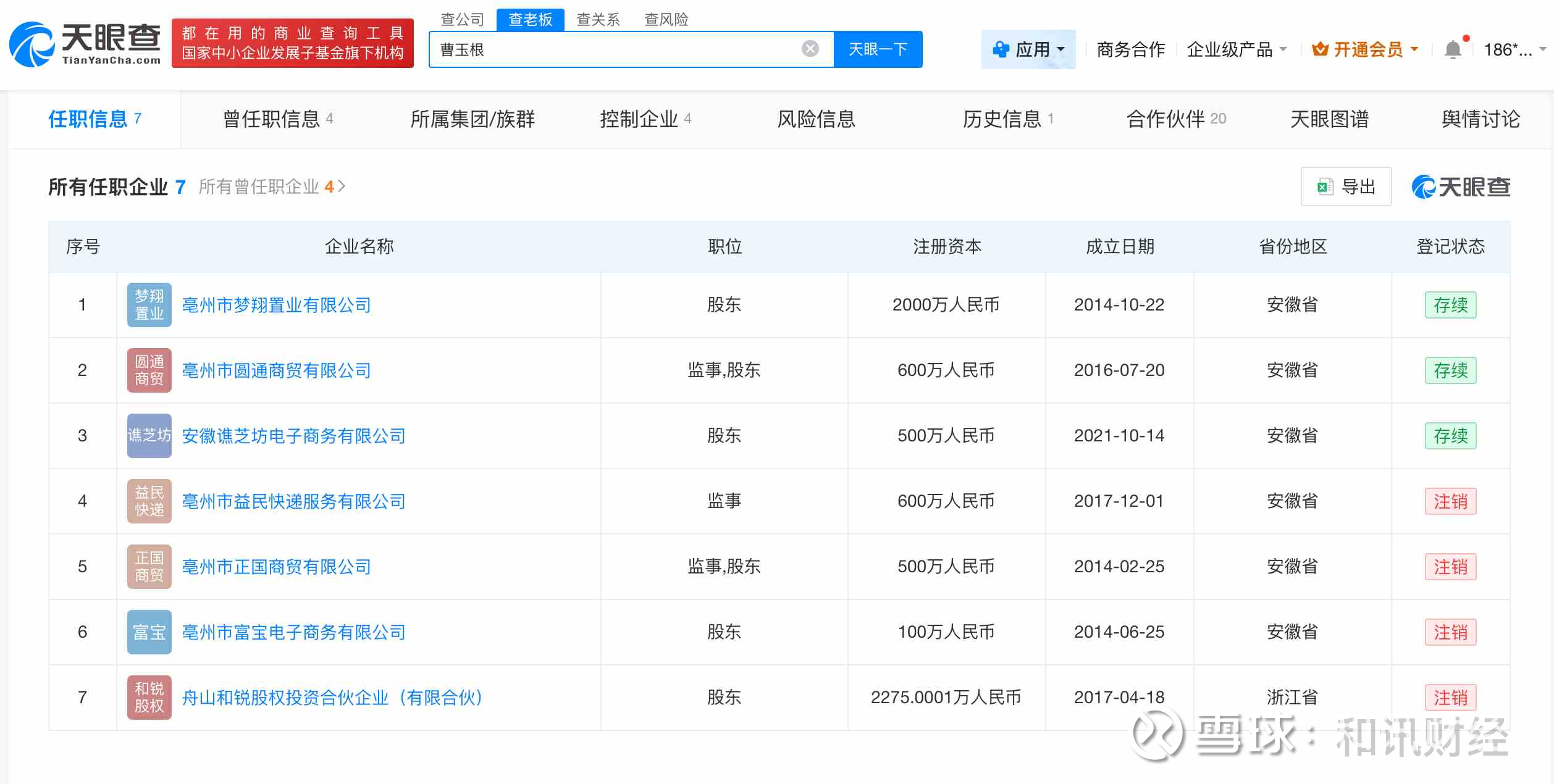
天眼查任职信息显示,曹玉根名下关联7家企业,其中4家已注销,仅亳州市梦翔置业有限公司、亳州市圆通商贸有限公司等为存续状态。