文/瑞财经 曾树佳
程一笑旗下的快手,最近并不平静。
近日,快手被采取了约谈、责令限期改正、警告、从严处理责任人等处置处罚措施。
被处置的原因,是快手平台未落实信息内容管理主体责任,在热搜榜单主榜扎堆呈现炒作明星个人动态和琐事类词条等不良信息内容,存在泛娱乐化倾向问题。

而几乎于此同时,快手旗下的电商公司,则被调查了。
市场监管总局根据前期核查,依法对成都快购科技有限公司涉嫌违反相关法律法规的行为,立案调查。

成都快购被调查
市场监管总局负责人对外表示,直播电商作为平台经济的重要组成部分,在推动创新、促进消费、扩大就业等方面发挥了重要作用。
但由于参与交易主体类型多元,法律关系复杂,责任落实不到位,直播电商行业乱象多发,虚假营销、假冒伪劣等违法违规行为屡禁不止,社会各界对此反映强烈。
此次对成都快购科技有限公司作出立案决定,是为了进一步压实电商平台主体责任,更好地保护广大消费者和中小微商家合法权益,推动直播电商行业提升合规水平。
天眼查信息显示,成都快购科技有限公司(简称“成都快购”)成立于2019年10月,注册资本为5000万元,经营范围包括技术服务、技术开发、技术推广等。该公司由北京快手科技持股100%。
而成都快购的法定代表人、总经理为杨远熙,他目前还担任北京达佳互联信息技术有限公司、成都磁力引擎传媒有限公司、浙江快手信息技术有限公司等26家公司的法定代表人。
眼下,杨远熙为快手集团高级副总裁,他于2011年加入快手,是创始团队成员之一。
此前,他曾负责快手Android客户端研发、内部数据平台开发、用户增长商务拓展及海外新产品搭建等业务,现主要负责快手集团的企业社会责任及内容安全。
成都快购的监事则为银鑫,他的头衔也是快手高级副总裁,只比杨远熙晚一年加入快手。其主要负责快手的集中采购、行政管理、IT中心及基础设施建设。
上述两人,作为快手老将,均有一定的话语权,他们在快手集团的运营实体北京一笑科技发展有限公司(简称“北京一笑”)中,都持有股份。瑞财经查阅获悉,北京一笑目前由宿华、杨远熙、程一笑、银鑫,分别持股32.3%、29.2%、25.9%、12.6%。
有老将坐镇的成都快购,主要负责运营电商交易平台“快手小店”,并提供供货商入驻、服务商入驻、直播基地入驻等相关服务。
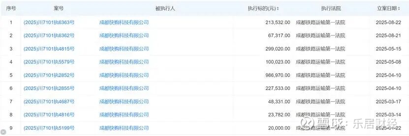
该公司目前有9项被执行纪录,被执行的总金额为198.65万元,立案日期均在今年1月至8月间。

电商增长的另一面
今年二季度,快手的营收同比增长13.1%至350亿元,经调整净利润同比增长20.1%至56亿元。毛利率和经调整净利润率,分别达到55.7%和16.0%,创下新高。
期内,快手线上营销服务的收入,达到了198亿元,同比增长12.8%。
而在电商业务方面,其二季度电商GMV(成交总额)同比增长17.6%至3589亿元。泛货架电商成为该公司电商业务的增长引擎,期内泛货架电商GMV占比总电商GMV,超过了32%。
早在2022年9月,快手便调整了组织架构,程一笑兼任快手电商第一负责人,亲自抓电商业务。
快手财报披露,第二季度,它在内循环营销服务方面,通过产品和流量策略的迭代,助力电商商家提升全局智能经营效率。
进一步升级全站推广产品,迭代了智能出价、素材追投、全站多品营销等多个核心工具,保障商家投放的极简操作,提升了商家营销素材投放的稳定性。
但在电商业务逐渐进阶的节点,不少消费者说出了在快手商城较差的购物体验。

一网友称,其在快手商城买的雅诗兰黛眼霜和精华,东西是假货,用完之后脸痒脸红,而且味道特别难闻。
7月4号找商家退货退款,商家不给于处理。找平台,平台也说商家现在找不到人,又说商家现在出现违规行为,但是商家账户里没钱不能给其退货退款,只能给申请60块钱补偿。
在黑猫投诉平台上,共有15619条投诉中,包含搜索词“快手小店”。