$有棵树(SZ300209)$ ,以下信息均为公开渠道获取,不涉及任何内幕信息,仅用于记录研究和进行合理推测,不构成购买建议。
写在有棵树更名行云科技、王总增持之际
有棵树与天行云的双重救赎
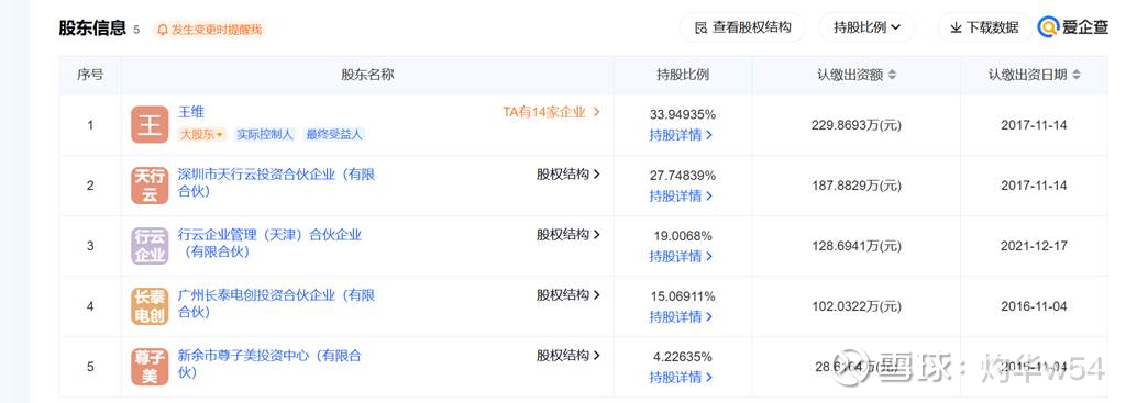
根据24年末公布的有棵树重整计划草案,天行云为代表的产业资本入主有棵树。化作白衣骑士拯救有棵树于退市风险中。随后新实控人ww与前实控人xsq进行了一些列的实际管理权斗争,随着xsq股权及管理团队的退出,天行云集团实际控制了有棵树。
何为产业资本,天行云在重组计划草案中这样介绍自己的赋能能力:注入进口B2B业务、提振出口业务、注入进口B2BB2C业务等,这些过于抽象,具体资产价值如何无法定价,但可以有一个量化的指标,注入Polibeli。

Polibeli是天行云的子公司,25年8月Polibeli与Chenghe Acquisition II Co.完成了36亿美元的SPAC上市(借壳,这一点很重要,为后续天行云入主有棵树提供很有意义的参考),目前Polibeli的市值为34亿美元。


这时候我想到了一个问题为什么Polibeli需要Spac上市,而不是直接上市?
从境内主体深圳市天行云供应链有限公司的股权架构来看,是非常简单的,只有实控人ww和若干持股平台。但从PR文章来看,天行云融资进行到了C+轮,有非常多的一级市场的机构投资人,考虑到天行云的主要的资产、业务以及员工实际都在境内,不难得出结论,这是一个典型的VIE架构,境外主体为融资主体,境内主体为实际运营主体,二者通过协议控制,境外股东并不在境内显名持股。


VIE架构通过SPAC完成美股上市并不少见,但需要注意到天行云的股东由于是间接持有Polibeli股权,并不能因为这次SPAC上市而得以退出,对于一级市场投资人而言最重要的就是通过回购/上市/转让完成退出(分红从来不是一级投资的目的)。但结合天行云入主有棵树,天行云的资本路径变得逐渐清晰了起来。
让我们看下天行云的融资路径,15年天使轮,18年B轮,作为做过上百个融资case的律师,可以和大家分享下境内企业有一个必备的条款,叫做股权回购条款,其中国特色的背景在这就不在赘述,惯例回购期限是投资期+7-8年,而早期投资人是不怎么care你是否延后这个期限的,B轮之后的投资人会对投资回购期抓的非常死,甚至双方谈不好就不会投,可以假设2018年+7年,恰好是2025年,天行云有意入主有棵树的后一年。
再看下天行云PR出来的投资人结构,大多数其实都是假外资(有美元的境内投资机构),考虑到这部分的投资机构的退出需求以及公司特别的vie架构(VIE架构只有拆分后才能在A股上市,并且费时费力费钱且风险极大),一旦回购期限届满,投资人扎堆提出回购请求,公司不死也得大伤元气,只能寻求曲线救国的上市之路,可以看到入主有棵树和polibeli的SPAC实际上是两条腿走路的求生之路,既要满足假外资的退出需求又要满足真外资的退出需求,这两条曲线救国的上市之路其实都是必选项。
让我们回到上一个问题,如何解决通过入主有棵树而完成天行云财务投资人的退出需求?这个问题没有solid的事实佐证,提出猜想如下。在有棵树的重组方案当中,王维持有1.1亿股,重组计划中王维代表的天行云及其关联方的合计份额是1.7亿股,财务投资人是2亿股,目前财务投资人股已经发放完毕。这里的财务投资人是谁,我们不得而知,结合前面天行云财务投资人需要退出的诉求,再看下目前王维在有棵树的股权比例占有棵树重组计划中产业投资人+财务投资人的29%,基本符合C轮融资后创始人合理的持股比例范围内,我做出一个猜测,所谓有棵树的财务投资人实际上是天行云的财务投资人。因为(1)天行云的财务投资人有退出需求,(2)天行云的实际融资主体是开曼主体,回购流程非常简单,可以通过天行云回购天行云财务投资人股权+支付回购款+回购款必须打入有棵树财务投资人账户内的形式完成股权下翻,这类交易我自己主导过太多次,也是我看到这类需求时能够想到的一个比较适合的退出方案。

这样股权下翻后原天行云股东在有棵树层面持股,但坏处是股权比例确实被稀释了太多,重组计划后财务投资人+产业投资人持股比例=有棵树股权比例的44%,相当于被稀释了一半。但考虑到VIE架构拆分上市本身的成本以及VIE架构无法在境内上市,看起来这笔交易稀释了很多股权,但其实是股东退出的唯一选项。如果是按此方案推进,那么所谓的天行云资产注入的价值如何呢?其实可以看到,这并单纯是资产注入这么简单了,让我们回头看看Polibeli的Spac,是不是异曲同工之妙?
天行云的价值几何?无需多述,中国500强的290强,3000多员工,仅仅Polibeli也已经34亿美元。那么有棵树(行云科技)呢?
