
在“猪周期”连续动荡下,猪企龙头温氏股份(300498.SZ)正持续加码投资业务。
2月初,温氏股份接连披露两份投资公告,计划以全资子公司广东温氏投资有限公司(简称“温氏投资”)为主体,分别向山东恒鑫生物科技有限公司(简称“恒鑫生物”)、青岛双安生物科技有限公司(简称“双安生物”)投资不超2.05亿元、1.47亿元。
此外,公告中还提到温氏投资2025年业绩表现:营收2211.37万元,净利5.71亿元。计算下来,净利润率竟高达2582.14%。对此,有业内人士分析称:“随着该公司产业VC的模式日渐成熟,此类财务投资收益,或将成为其穿越行业周期的重要助力。”
协同主业布局
企查查显示,恒鑫生物成立于2005年10月、注册地位于山东滨州沾化区的食品及饲料添加剂制造公司,现已获得国家级高新技术企业、省级专精特新中小企业等多项荣誉认证。据其官网介绍,恒鑫生物主营以猪皮、猪骨为重要原材料的食品添加剂明胶、药用辅料明胶和水解胶原蛋白肽,目前可年产2.6万吨明胶和6000吨胶原蛋白肽。
在本次投资以前,恒鑫生物共有林国猛、陈玉辉、陈庆成、易永格四大自然人股东,持股分别为84.51%、11.52%、2.64%与1.32%,注册资本为8330万元。

恒鑫生物股权结构(投资前)
其中,控股股东林国猛系这笔交易的唯一出让方,将向温氏投资、温氏投资旗下在管基金——温润农业生物科技(云南)创业投资基金合伙企业(有限合伙)(简称“温润农业”)、温润安享科盈(海南)股权投资基金合伙企业(有限合伙)(简称“温润安享”)以及温氏投资内部员工“凌敏锐”4位主体,合计转让约14.05%股权,交易对价分别为1.05亿元、8895万元、105万元、500万元。

恒鑫生物股权结构(投资后)
随后,温氏投资将与滨州市财金旗下基金“滨州智空创业投资基金合伙企业(有限合伙)”一同向恒鑫增资,分别以2000万元、1亿元的价格认购标的公司117.05万、585.25万的新增股本。
最终,恒鑫生物注册资本将增至9032.31万元,同时林国猛持股占比也降至64.98%,而温氏投资、温润农业、温润安享则分别持有13.28%、5.76%、0.07%的股权,新进其第二、第四、第九大股东。
此外,双方还就回购权、业绩分红、董事会席位做出相关约定。如温氏投资有权委派1人任恒鑫生物董事(董事会共设5席);若恒鑫生物在2032年底前未能实现合格上市或达成特定业绩目标,温氏投资亦有权要求其回购股份;从2026年至上市前,恒鑫生物每年还应以现金方式分配利润,分红比例不低于当年可分配利润的20%,在某些情况下不低于30%。
至于投资恒鑫生物的原因,温氏股份也表示:“在巩固主业优势的基础上,积极探索具备协同效应或战略价值的优质细分赛道,以提升公司可持续发展与抗风险能力。”
探路宠物赛道
与恒鑫生物相比,另一个投资标的双安生物则涉足时下热门的宠物经济。
企查查显示,该公司成立于2010年9月,注册资本达6699.66万元,主营业务包括宠物食品的研发、加工、销售等。据其官网介绍,公司现有冻干食品、烘干食品、湿粮、营养品等多条业务线,旗下“黑鼻头”“乐活美膳”“猫博士”等多品牌矩阵,已实现高端主粮、营养品等完整生产体系全覆盖。产业布局方面,旗下共有山东青岛、辽宁喀左、辽宁台安3大生产基地,可年产10万吨各类宠物食品。2025年,双安生物还曾宣布将在台安扩产6万吨/年的湿粮车间。
此外,公告中还提到双安生物2025年业绩表现:截至报告期末,公司总资产、净资产为5.06亿元、1.44亿元:2025年营收约4.07亿元,净利润约1216.60万元、现金流净额为446.28万元。

双安生物股权结构(投资前)
回到投资结构来看,温氏亦采用了相同的“受让老股+增资”模式。
出让方,温润农科壹号(珠海)创业投资基金合伙企业(有限合伙)(温氏投资在管基金,2022年通过其A轮融资,持股占比约9.99%)、萍乡启道致晟资产管理合伙企业(有限合伙)、光橙(上海)信息科技有限公司、珠海横琴齐创共享创业投资合伙企业(有限合伙)4位原股东,将向温氏投资合计转让约22.19%股权,交易对价合计4438.54万元。

双安生物股权结构(投资后)
增资方系温氏投资、凌敏锐,二者会以1.03亿元、275万元认购双安新增注册资本3445.79万股和92.12万股。交易完成后,双安生物注册资本将增至1.02亿元;同时温氏投资也持有标的公司48.18%股权,晋升为第一大股东。但需注意的是,双安原控股股东王福正依旧通过一致行动协议实际控股,安宝杰、余小杰及上图三家“青岛盛元”开头的员工持股平台为其一致行动人,持股占比合计约50.92%。
协议约定方面,若青岛双安未能于2033年12月31日前实现合格上市;2026至2028三年经审计的归母净利润合计未能达到6000万元,2029年至2031年经审计的归母净利润合计未能达到1.05亿元,温氏亦有权要求双安回购股权。
投资版图扩容
当然,温氏股份的资本版图还远不止于此。
企查查显示,温氏投资成立于2011年4月,注册资本达35亿元,法定代表人由温氏股份董事、副总裁赵亮兼任,经营范围涵盖私募股权投资基金管理、创业投资基金管理服务等诸多业务。

图源:企查查
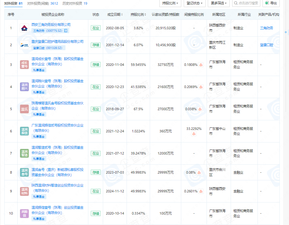
如图所示,温氏投资目前共直接参股三角防务(300775.SZ)、登康口腔(001328.SZ)两家上市公司,具体持股数分别为2091.50万股、1045.69万股,占上市公司总股本的比重分别为3.82%、6.07%。
间接投资方面,该公司还持有美利信(301307.SZ)、红四方(603395.SH)、华塑股份(600935.SH)、新媒股份(300770.SZ)等8家上市公司部分股权。据同花顺iFind显示,截至去年三季度,温氏投资旗下三支在管基金“温润清新壹号”“温润智造壹号”“横琴温氏柒号”就持有美利信3.98%、3.70%、1.98%的股权,是其第二、第三、第四大流动股东,合计持股总市值约3.61亿元。
而在基金方面,温氏投资已发起、设立、参投超37支基金,总规模超129.82亿元。进一步梳理可知,这些基金的投资方向并不局限于单一的农牧食品,而是在高端制造、生物科技、机器人、半导体、数字经济及大消费等多个领域均有涉猎,已投标的超299起。另据21世纪经济报道此前统计,截至2023年底,仅温氏股份投资并成功IPO的公司就超过了30家,如千禾味业(603027.SH)、盈趣科技(002925.SZ)、华夏航空(002928.SZ)等。
熨平“猪周期”
如此高频投资背后,或与“猪周期”影响下的大涨大落不无关系。当猪价处在周期底部时,“猪企们”往往更易出现亏损。此一背景下,良好的投资收益自然能为业绩表现提供一定保障。同花顺iFind显示,2022年—2024年,温氏股份总营收837.25亿元、899.21亿元、1049.24亿元;归母净利润52.89亿元、-63.90亿元、92.30亿元;同期实现投资收益14.73亿元、8.57亿元、-4974.31万元。截至去年前三季度,该公司总营收、净利润、投资收益分别为758.17亿元、52.56亿元与2.47亿元。
同时财闻还注意到,在追求早期投资+IPO的高额回报的同时,温氏股份亦在寻找赋能主业的机会。如2024年参投“拉塞特机器人”B轮融资。

种猪场智能轨道机器人正在对猪群进行巡检。 图源:温氏股份官微
2026年1月,温氏方面就对该公司进行调研并展开“产房应用轨道巡检机器人+种猪精准饲喂器”项目验收工作,旨在通过拉塞特AI+养殖解决方案,实现从经验养殖向数据养殖的转变,为集团精细化管理提供支撑。(周鼎新/文)