可以毫不夸张地说,“颗粒硅+CCz”技术成功之日,就是硅料行业真正王者诞生之时。
有人或许认为,CCz设备初期投入较高,在光伏行业高度内卷的当下并不具备投资吸引力。但他们忽略了一个关键点:CCz代表着下一代硅片技术的方向,具备RCz无法比拟的工艺优势。任何颠覆性技术在推广初期成本偏高都是正常现象,随着技术不断迭代和规模化应用,成本完全有望持续下降。正如颗粒硅刚推出时也一度因成本受疑,如今其现金成本已降至25元/公斤左右——技术的进步永远走在质疑的前面。
在中国光伏产业跌宕起伏的发展历程中,协鑫科技以其对原创技术近乎偏执的坚守,走出了一条独特的“孤独行者”之路。这条充满艰辛的探索之路,即将迎来丰厚的回报。通过长达十余年的技术布局,协鑫不仅构建了从颗粒硅材料到CCZ工艺的完整技术体系,更在隆基绿能等企业退出CCZ技术研发的背景下,凭借其技术闭环形成了难以复制的独特竞争优势。在行业同质化竞争日益严重的背景下,这种长期主义的战略选择,正推动协鑫实现从行业“重要替代者”到“市场统治者”的关键蜕变。
CCz技术深度受益股天通股份(SH:600330):协鑫科技的合作开发者,协鑫科技指定的设备制造商。

在经历了一段时间的技术沉寂后,协鑫科技在全球BC峰会上的重磅发声引发行业高度关注。协鑫科技全球硅基材料研究总院副院长刘涛博士不仅展示了颗粒硅技术在纯度和稳定性方面达到电子级标准的突破性进展,更特别提出了“颗粒硅+CCZ拉晶”的联合应用方案。这一技术路线的重现,标志着协鑫在材料与工艺的协同创新上取得重要突破。
值得一提的是,峰会期间协鑫与ISC Konstanz、澳大利亚新南威尔士大学、爱旭股份等全球顶尖机构的深度交流,为这一技术方案的产业化应用奠定了坚实基础。这种开放合作的态度,展现了协鑫推动行业技术进步的决心。
刘涛博士受邀演讲.网页链接:网页链接—-协鑫官网资料。
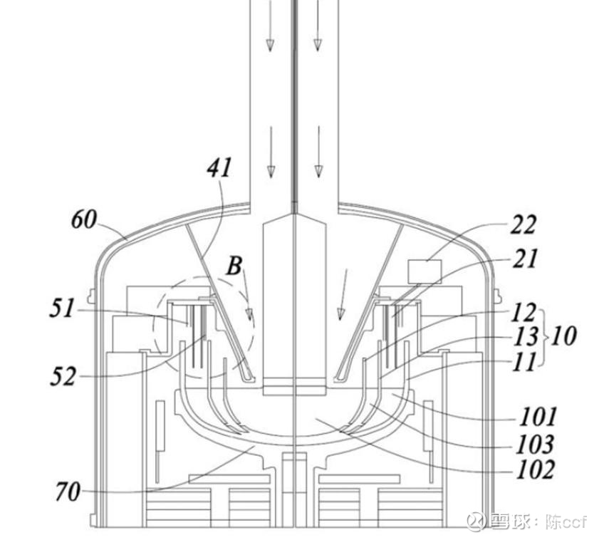
协鑫科技--2025年申请的三个专利(CCZ 连续直拉单晶核心技术)
专利1: 拉晶系统及其设计方法和控制方法
· 申请号CN202510118335.1 申请日2025.01.24
专利2: 拉晶系统及其控制方法
申请号CN202510123399.0 申请日2025.01.26
专利3: 坩埚组件及单晶炉
申请号CN202510115961.5 申请日2025.01.2

协鑫科技对原创技术的执着,最早体现在颗粒硅的研发上。当整个行业还沉醉于改良西门子法的规模效益时,协鑫便前瞻性地押注硅烷流化床法(FBR)这一创新技术路径。这条“孤独长征”历时十数年,期间经历了无数次的质疑与挑战。
从实验室的小试、中试到万吨级量产线,协鑫研发团队攻克了一个又一个技术难关。这种对技术创新的长期投入,最终使得协鑫成功突破技术瓶颈,填补了全球10万吨级颗粒硅产能的空白,为后续的技术协同创新奠定了坚实基础。

“颗粒硅+CCZ拉晶”技术方案的核心价值在于其产生的协同效应。当前N型电池已成为行业主流,BC电池因其高效特性对硅料纯度要求极为严苛。协鑫通过持续的技术革新,使颗粒硅的纯度和稳定性均达到电子级标准,完美适配BC电池的高标准需求。
更重要的是,颗粒硅的良好流动性与CCZ连续加料工艺的天然契合,使得这一技术组合在提升产品品质的同时,还能显著降低生产成本。这种技术协同效应正在创造新的行业标杆,为协鑫赢颗粒硅更进一步的重要的市场竞争优势。
颗粒硅高流动性 + CCz高质高效 = 完美适配N型电池的上游科技。网页链接 —-协鑫官网资料。

随着技术方案的成熟,协鑫科技正在将技术优势转化为市场竞争力。目前,协鑫颗粒硅已获得多国碳足迹认证,前五大客户出货量占比超过70%,上半年市占率达到24.32%。这些数据充分证明了市场对这项技术路线的认可。
特别是在全球“双碳”背景下,颗粒硅的低碳特性与CCZ拉晶工艺的结合,能够为下游企业提供显著的碳税优势。这一优势在欧盟碳边境调节机制逐步落地的今天,显示出越来越重要的商业价值。

协鑫科技的战略布局正在形成完整的产业生态闭环。从材料端的颗粒硅,到工艺端的CCZ拉晶,再到应用端适配,协鑫构建了一个难以复制的技术体系。这种全方位的布局不仅体现了其技术实力,更彰显了其市场远见。
随着电池市场的快速扩张,协鑫的“颗粒硅+CCZ”技术组合有望成为其实现市场领先的重要利器。这种基于技术创新的发展模式,正在重新定义行业竞争规则。

协鑫科技乐山年产10万吨颗粒硅项目

协鑫科技的发展历程证明,在高端制造业的竞争中,真正的胜利属于那些能够坚持原创技术、保持战略定力的企业。从颗粒硅的艰难研发,到CCZ技术的持续突破,再到如今BC电池时代的完美适配,协鑫用十余年的时间完成了一场深刻的技术变革。
这种对原创技术的专注,虽然历程艰辛,但正在帮助协鑫实现从技术追随者到行业引领者的华丽蜕变。在光伏产业竞争日益激烈的今天,协鑫的“颗粒硅+CCZ”技术路线不仅为其赢得了独特竞争优势,更可能重新定义行业的技术标准和发展方向。这种以技术创新驱动产业升级的发展模式,为中国制造业高质量发展提供了有益借鉴。