$比亚迪(SZ002594)$ 比亚迪这批次新车/升级车型不多,只有大唐纯电单电机/双电机、钛7纯电单电机/双电机新车,海狮05/06纯电和腾势D9纯电单/双电机都是老车型。


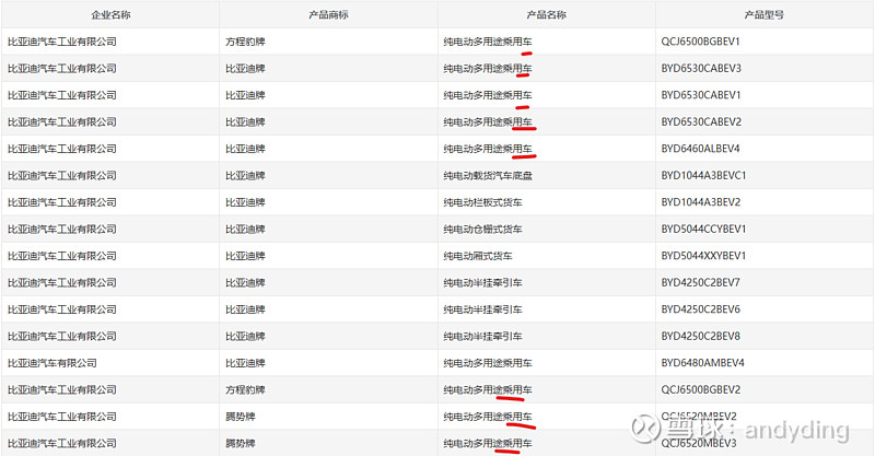
1. 方程豹牌 钛7 产品型号:QCJ6500BGBEV1/QCJ6500BGBEV2 产品名称:纯电动多用途乘用车





2.比亚迪牌 大唐 产品型号:BYD6530CABEV3/ BYD6530CABEV1 产品名称:纯电动多用途乘用车





3.比亚迪牌 海狮05 产品型号:BYD6460ALBEV4 产品名称:纯电动多用途乘用车




4. 比亚迪牌 海狮06 产品型号:BYD6480AMBEV4 产品名称:纯电动多用途乘用车




5腾势牌 D9 产品型号:QCJ6520MBEV2/QCJ6520MBEV3 产品名称:纯电动多用途乘用车





