$科伦博泰生物-B(06990)$ $康宁杰瑞制药-B(09966)$
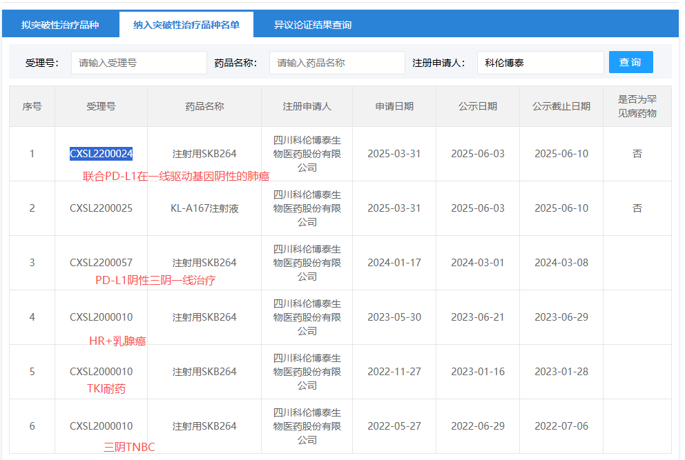
科伦博泰在国内拿到了5个突破性疗法认证,分别是:1、后线的三阴乳腺癌TNBC;2、后线TKI耐药的肺癌;3、HR+/HER2的乳腺癌;4、PD-L1阴性的一线治疗三阴乳腺癌TNBC ;5、和PD-L1抗体联合治疗一线的驱动基因阴性的非小细胞肺癌。

在10月的ESMO上面,SKB264(Sacituzumab tirumotecan)也取得了两个LBA报告,分别是264对照含铂化疗在EGFR突变的TKI耐药的肺癌二线治疗;另外一个是264对照研究者选择的化疗在HR+/HER2的乳腺癌的后线治疗。
264在大会上还有其他的壁报展示,所以TROP2是一个泛肿瘤靶点不为怪。

在TKI耐药的二线肺癌,康方AK112的国际三期临床尽管取得了PFS的统计学差异,但在OS上面失败,确实可惜。而264可能会证明除了PFS具有统计学差异,并且通