《科创板日报》2月27日讯(记者 史士云)据证监会网站信息披露,浙江正雅齿科股份有限公司(以下简称正牙齿科)已于2026年2月25日在浙江证监局办理辅导备案登记,拟首次公开发行股票并上市,辅导券商为中信建投证券。

事实上,早在2023年5月,正雅齿科在浙江证监局完成了首次IPO辅导备案,但后续相关进程并未落地,最终无疾而终。
资料显示,正雅齿科作为一个隐形正畸品牌,专注于数字化隐形正畸原创技术的研发、定制式隐形矫治器的医学设计、生产制造及销售服务,主打产品为Smartee(正雅)系列矫治器,包含了GS版、GII版、航天版、悦享版等多个版本,单价均在万元以上。
由正雅齿科100%控股的子公司“正雅齿科科技(上海)有限公司”(以下简称“正雅”)官网信息显示,公司生产研发基地位于浙江嘉兴科技城,并在四川资阳(中国“牙谷”)建有智能生产基地,年生产超千万只隐形矫治器。
另自2021年开始,正雅与迪士尼和漫威进行合作,成为迪士尼官方授权隐形矫治器生产和销售合作商。正式推出正雅Smartee Teen儿童及青少年矫治产品,这意味着正雅隐形矫治体系已能为正畸用户提供全年龄段的正畸矫治管理。
正雅齿科创始人姚峻峰曾透露,公司2010年仅收治约100例正畸病例,到2021年已增长至约8万例,同年,正雅齿科在国内隐形矫治市场的占有率已接近20%。目前,正雅齿科产品在国内市场的覆盖率,仅次于外资品牌爱齐科技的隐适美与国产品牌时代天使(06699.HK)。
正畸市场主要分为传统正畸与隐形矫治两大板块。随着国民口腔健康意识、审美需求与消费能力持续提升,传统正畸市场曾保持稳步增长。而自2010年前后隐形矫治器引入国内后,极大激活了整体正畸市场,国内隐形矫治市场也开始逐步进入发展期。

根据灼识咨询数据,中国隐形矫治市场已于2019年跃居全球第二大市场。按零售销售收入计,市场规模从2015年的2亿美元增长至 2020年的15亿美元,预计到2030年将进一步扩容至119亿美元,2020—2030年期间复合年增长率约为23.1%。
另据时代天使此前发布的招股书显示,中国隐形矫治市场仍具备渗透提升空间。数据显示,我国儿童青少年与成人正畸病例中,隐形矫治渗透率分别仅为4.5%和38.9%,而美国同类人群渗透率已分别达到16.0%和64.0%,差距显著。
与此同时,相较于美国,中国正畸医生与全科牙医供给严重不足,专业服务能力尚未得到充分满足,也直接制约了隐形矫治服务的普及与推广。
值得一提的是,包括无托槽隐形矫治器正畸材料已被纳入省级联盟集采。2022年12月,在由陕西省医保局牵头开展的16省(区、兵团)联盟口腔正畸托槽耗材集中带量采购中,中选产品平均降幅达 43%。
产品价格的下探直接压缩了企业的利润空间,先于正雅齿科登陆资本市场的时代天使,其业绩表现可以提供一定的参考。
在2022年之前,时代天使的净利润还维持在亿元级,自2023年开始,其营收在同比增长的情况下,净利退化至千万元级别。2025年上半年,时代天使业绩有所回暖,其报告期内实现营收1.61亿美元,同比增长33.1%,净利润为1420万美元,同比增加了583.6%。
2025年,国家医保局又正式印发了《口腔类医疗服务价格项目立项指南(试行)》,整合规范公立医院口腔类医疗服务价格项目,其中重点规范了口腔正畸矫治价格项目,或将进一步加剧行业竞争。
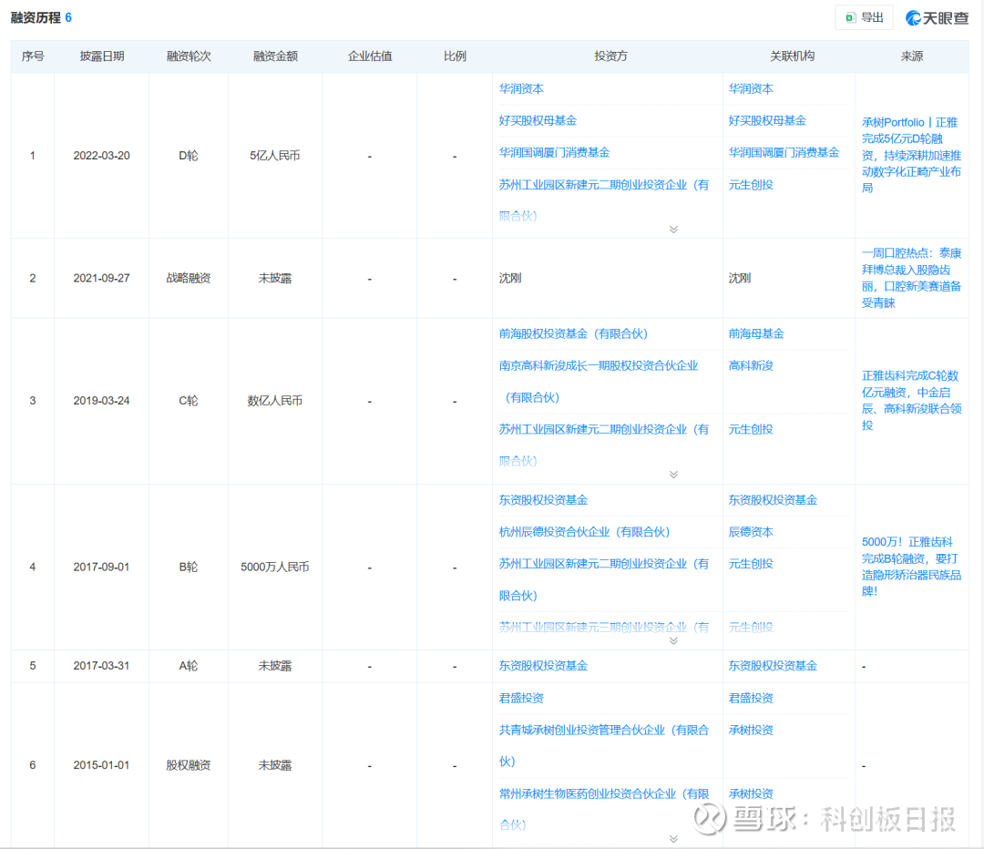
在启动上市辅导前,正雅齿科已完成多轮融资。天眼查数据显示,2015年1月,正雅齿科完成了首轮股权融资,投资方包括承树投资、君盛投资。2017年3月,正雅齿科又获得了A轮融资,投资方为东资股权投资基金,该资本机构又参与了公司的B轮融资。

此后,正雅齿科又陆续引入华润资本、好买股权母基金、前海母基金、高科新浚、元生创投等知名机构。其中,最新一轮为2022年完成的D轮融资,融资金额为5亿元。

另据辅导备案报告显示,正雅齿科创始人姚峻峰直接持有公司20.91%的股权,并通过诺敦医疗、天津雅善管理咨询合伙企业(有限合伙)、天津雅亿管理咨询合伙企业(有限合伙)、天津雅而管理咨询合伙企业(有限合伙)、天津雅偲管理咨询合伙企业(有限合伙)、天津雅吾管理咨询合伙企业(有限合伙)分别间接持股9.07%、3.49%、2.57%、1.30%、1.24%、0.99%,合计持股39.57%,为公司控股股东及实际控制人。