在圣邦股份的官网首页,有一个非常醒目的按钮,叫做兼容搜索,为什么要把这个按钮放在最显眼的位置,为什么在样片申请的边上,今天我们的工作就是点击这个按钮,进入他所对应的页面,然后观察,看看能够得到什么样的结论。

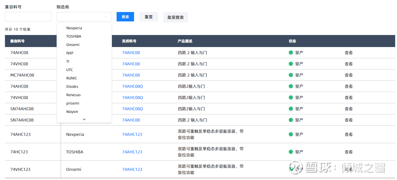
进入这个页面后,我们看到了兼容料号搜索框,制造商的搜索框,搜索按钮,重置按钮,以及批量搜索按钮,紧接着下面跟了一张表格,里面列出了国内外产品的料号、制造商,以及圣邦能够兼容的料号和状态,以及最重要的查看按钮,点击查看按钮后,我们就可以看到兼容其他商家的料号对应的芯片产品介绍、产品手册以及价格等信息。

接着,我们根据制造商进行搜索,我选择了TI,发现在这个条目下有107页的内容,每页有十条信息,那么意味着圣邦共有1070款产品可以直接兼容TI的产品。

然后我选择了TI的第一款产品SN74AHC08进入TI官网,看到了以下信息,这是一款处于停产状态的芯片,批量价格为0.411,然后对比我回到圣邦官网,观察他的价格,以下上图为TI价格,下图为圣邦价格。


但是在TI官网上,标注了这款产品是处于停产状态的,我很好奇TI的这款产品为什么停产,于是我通过多方验证,得出了停产的原因是缺货,而这款产品主要使用场景是医疗设备。
于是我得出一个简单的结论,就是TI等厂家确实有很大一批次的产品离开了中国市场,然后我们国内的厂家做了很多直接替代的料号。并且价格比TI还便宜。那么这部分空出来的市场能不能被这些兼容的料号迅速填补呢?交给时间。
在电子电路中的大部分元器件,比如电阻、电容、分立器件(二极管、三极管等),如果我的某个元器件坏了,正常来说,直接拿一颗好的替换就可以,但是在芯片领域大概率不行,但是模拟芯片就可以做到,PIN TO PIN的直接替换,也就是说一颗其他厂家的模拟芯片可以直接替换别的厂家的芯片,而不需要对电路、嵌入式做任何修改。
那为什么模拟芯片可以做到这一点,别的芯片很难做到呢?因为本质上模拟芯片是在半导体材料上画电路,他不涉及逻辑运算,只要引脚应以、封装相同,电气特性(比如输入电压、输出电压)、接口协议(接口协议常常是标准的协议)一致就可以。
拿一个对比来说,比如英伟达的AI芯片为什么不能直接替换,因为里面设计逻辑运算,这还不是最重要的,最重要的是设计到CUDA核心,这是一个软件生态,要用这部分去优化硬件能力,如果要替换代价是非常大的,时间,替换代码,所以即使AMD的芯片性能比他好,价格比他便宜,很多客户也不会替换或者说很难替换,因为已经被生态绑死了。
所以我们可以非常直观地看到模拟芯片的这一快速替代的优势,只要一纸政策,国外的大部分模拟芯片(除了有些高端的我们没有的部分)可以一夜之间完成替代。在这里,我要纠正很多人的一个观念,模拟芯片并不是低端芯片,一颗超高精度的ADC芯片的开发难度并不亚于英伟达的AI芯片,因为他们没法无限制地堆叠,不断地用更先进的制程。
最后回到圣邦的替代目录,我简单做了统计,但是并不严密,因为很多替代料号可能会有重复,但是我得出了一个结论,就是这个比例大致在70%以上,以下是我统计过程中的一些截图。



所以,我想问自己一个问题,这么多的替代料号,能完成国产替代吗?