有观点,有态度
这是医业观察的第2747-3期文章
作者:医业观察 编辑凯莉
2026年1月21日,医业观察 编辑凯莉注意到 不菲BuFei 公众号发布文章,推出针对油性肌肤显性问题的全周期抗衰护肤品套装。
这一动作意味着迈克--这家深耕IVD领域多年的龙头企业,已通过参股布局完成了美妆赛道的实质性落地。

"不菲"品牌什么来头?
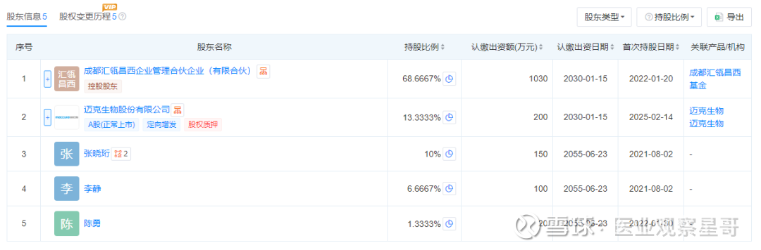
据天眼查显示,迈克生物是四川迈小颜生物科技有限公司的参股股东,持股比例 13.3333%,为第二大股东,迈小颜是其关联方。
四川迈小颜生物科技有限公司成立于2020年12月,经营范围涵盖化妆品生产、生活美容服务。


迈克生物是四川迈小颜生物科技有限公司的为第二大参股股东,持股比例 13.3333%.
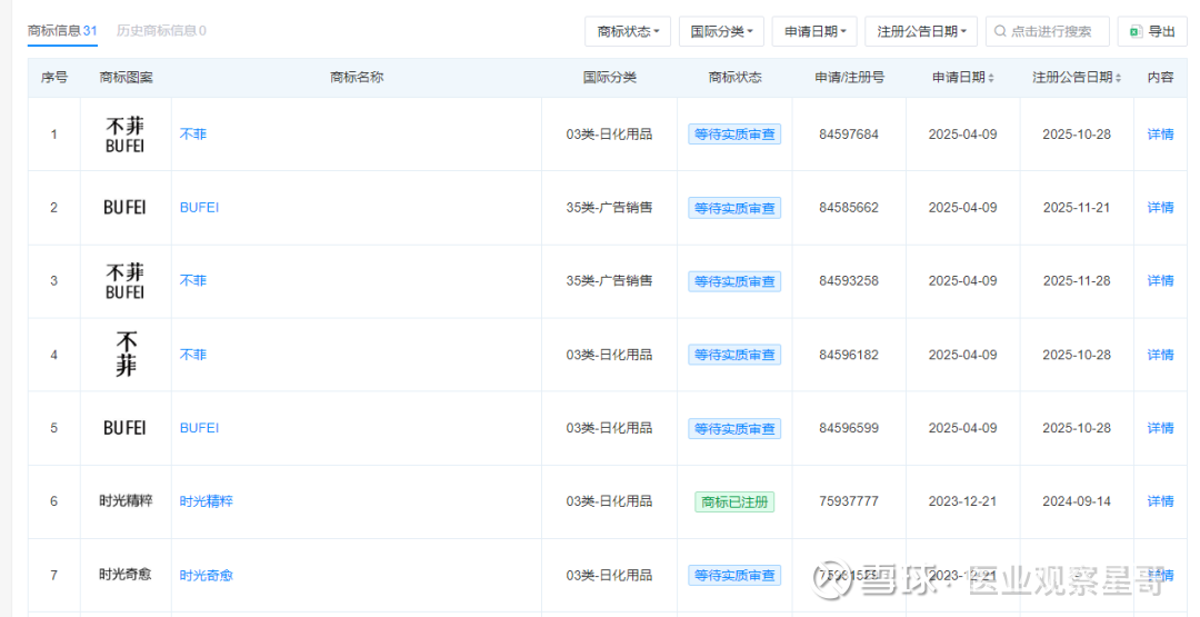
“不菲”等字样是迈小微申请注册的商标图案:

早在2025年8月22日,有投资者向迈克生物(300463)提问,公司参股的迈小颜经营范围涵盖生活美容服务与化妆品生产,具体情况如何?公司是否探索将化妆品或医疗美容作为未来发展的新方向?
公司回答表示,尊敬的投资者您好!目前迈小颜仍处于初创阶段,公司旨在尝试探索生物化学技术与皮肤健康管理的有机结合,公司主业仍聚焦于体外诊断产品的研发、生产、销售和相关服务。敬请广大投资者谨慎决策,注意投资风险。感谢您的关注与支持!
公开信息显示,一项名为“添加高含量活性成分的热配油包水修护紧致霜及制备方法”的专利,其共同申请/专利权人正是 “迈克生物股份有限公司”和“四川迈小颜生物科技有限公司”。这直接证明双方正在联合进行化妆品等产品的技术研发。

来源:爱企查
对迈克而言,无需投入重金搭建美妆研发、生产体系,借助迈小颜的团队完成市场试水,既保留了IVD主业的核心专注力,又能将生物化学技术积累转化为新的增长点,这种“轻资产跨界”模式,或许会成为更多IVD企业的首选路径。而“不菲BuFei”的新品落地,正是这场技术跨界的首次市场化验证。
IVD企业做美妆,没毛病!
IVD企业跨界美妆在业内早已不算是“新闻”。
热景生物旗下“蔻生元”“EXOMICS茵颂”双品牌齐发力,依托植物外泌体技术推出医研级抗衰产品,天猫旗舰店已形成完整产品矩阵,甚至联合行业协会发布技术白皮书树立标准;
热景生物:新获23项国内外医疗器械及化妆品资质认证
博科生物也高调布局美妆原料与护肤品研发,凭借生物实验室优势探索成分创新。
IVD企业集体跨界美妆,绝非一时兴起,而是产业逻辑与市场需求共同作用的必然结果。IVD企业做化妆品,最大的底气莫过于“降维打击”的先天优势。
其一,监管适配性强
医疗器械与化妆品均由国家药监局监管,尽管二者在上市前审批、质量体系要求上存在差异——如医疗器械强制符合QSR体系,化妆品以备案制为主,但IVD企业长期浸润在严格的合规体系中,对原料把控、生产规范、标签合规的理解远超普通美妆品牌,这种“医疗级严谨”自带安心属性,恰好击中消费者对护肤品安全性的核心诉求。
其二,技术复用性高
IVD行业对人体生理机能、生物成分的研究深度,是普通美妆企业难以企及的。热景生物将纳诺革装载技术应用于抗衰产品,迈克依托生物检测技术对肌肤问题的精准洞察,本质上都是将IVD的核心技术平移至美妆领域。这种技术赋能下的产品,能构建差异化竞争壁垒。
其三,市场需求精准匹配
当下消费者追求“健康与美”的双重需求,且愈发青睐高性价比选项——医美项目动辄数千元的客单价门槛较高,而医疗背景加持的护肤品,既能满足日常抗衰、肌肤调理的需求,又能以亲民价格抢占市场。高性价比美妆产品同样踩中了“理性消费”的风口,天然契合这种消费趋势。
凯莉想说,IVD企业做美妆,没毛病呀!
作者:医业观察编辑凯莉
❖ 慎重声明:本文内容仅供学习交流,观点仅代表作者本人立场,版权归原作者所有,如有疑问请联系编辑
欢迎点击关注
喜欢就一键三连,点赞,在看,分享!