模拟芯片赛道并购又起。帝奥微(688381.SH)9月29日晚间发布公告,正筹划以发行股份及支付现金的方式购买荣湃半导体(上海)有限公司股权。公告显示,根据上海证券交易所的相关规定,经公司申请,公司股票已于2025年9月29日开市起停牌,并将于2025年9月30日开市起继续停牌,预计停牌(累计)时间不超过10个交易日。

图源:荣湃半导体官网
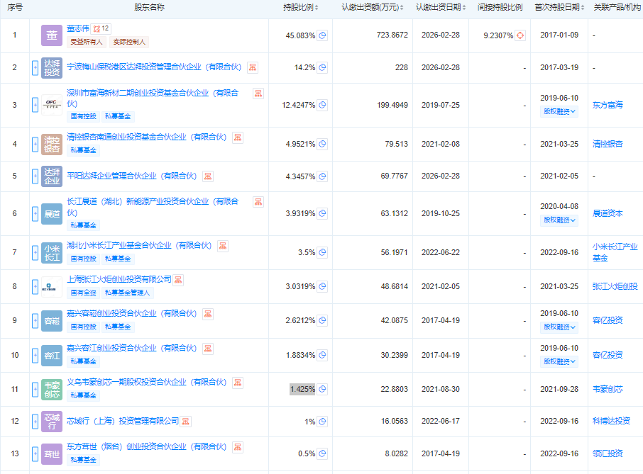
标的公司荣湃半导体,系隔离芯片厂商,成立于2017年,产品包括数字隔离器、驱动(MOSFET IGBT driver)、接口、采样(放大器、ADC)、光耦兼容等。天眼查显示,该公司法定代表人为董志伟(持股比例45.083%)。其股东阵容亦相当亮眼,深圳市富海新材二期创业投资基金合伙企业(有限合伙)、清控银杏南通创业投资基金合伙企业(有限合伙)、湖北小米长江产业基金合伙企业(有限合伙)、上海张江火炬创业投资有限公司、义乌韦豪创芯一期股权投资合伙企业(有限合伙)等分别持有荣湃半导体12.4247%、4.9521%、3.5%、3.0319%、1.425%股份。

图源:天眼查
不仅荣湃半导体,此次并购的发起者帝奥微也与小米有着紧密联系,湖北小米长江产业基金合伙企业(有限合伙)曾是其持股5%以上股东。目前,帝奥微主营产品为信号链模拟芯片和电源管理模拟芯片两大系列。今年上半年,其信号链产品营收1.48亿元,占比48.42%,电源管理产品营收1.58亿,占比51.58%。其官网数据显示,旗下拥有2000余款型号,2024年销量超10亿颗。
深化产业布局的同时,帝奥微今年半年报却显露“增收不增利”的一面:一方面实现营收3.06亿元,较上年同期增加15.11%;另一方面,归母净利润亏损420万元,同比下滑115.73%。帝奥微对此解释为——1、增强核心技术竞争力,持续加大研发投入;2、因实施股权激励计划,股份支付费用增加。

图源:帝奥微财报
数据显示,今年1-6月,帝奥微研发投入达0.99亿元,同比增长25.29%;研发投入占营业收入的比例达到32.64%,相比较上年同期的29.99%,增加2.65个百分点。集微网此前统计20家头部模拟芯片上市公司半年报时曾指出,研发投入占营收比超30%的仅4家,帝奥微以高占比位列第二。
我国是全球最主要的模拟芯片消费市场,市场占比超过三分之一。但由于国内半导体产业起步较晚,国内模拟芯片市场仍由国际巨头公司所垄断,国产化率尚处于低位。IC Insights数据显示,2023年全球模拟芯片份额前五分别为德州仪器(19%)、亚德诺(13%)、思佳讯(8%)、英飞凌(7%)和意法半导体(5%),全球前五大厂商市场份额合计为52%,竞争格局相对比较分散。不仅如此,近年来的模拟芯片产品“价格战”亦对国产厂商造成损害。
为打破“大而不强、多而不精,高端失守”的局面,模拟芯片赛道产生大量并购整合案例。仅今年下半年,杰华特拟联合投资人共同购买新港海岸66.25%股权、必易微收购上海兴感半导体有限公司100%股权......
此次帝奥微筹划收购荣湃半导体,可视作其完善产品布局、扩大产品类别、打造技术壁垒的举措,在隔离芯片这一关键细分领域实现“补课”。毕竟,帝奥微早在其半年报中透露了“忧患”所在:国内模拟集成电路正处于快速发展阶段,越来越多的国内外企业争相进入相关领域,市场竞争加剧,虽然公司目前在国内已占领一定的市场份额且处于行业前列地位,但在产品覆盖度等方面与国际龙头企业存在一定的差距,若这类企业加大市场竞争力度,公司在未覆盖的产品类型和领域方面或将面临较为激烈的市场竞争,公司未来将构建更为完整的产品矩阵,在维持现有市场竞争力基础上,实现持续盈利。