来源:BUG

清仓甩卖、货架空空……万宁闭店前夜,谁在抢购“最后的港妆”?
文 | 《BUG》栏目 徐苑蕾
近日,一则公告在中国零售市场激起千层浪。继莎莎国际(SaSa)退出后,另一港资零售品牌万宁(Mannings)也正式宣布挥别内地市场。万宁进入内地20年,巅峰期门店数量一度突破200家,覆盖33城。截至发稿,天眼查资料显示,其关联公司旗下仍存续门店仅剩13家。
近日,《BUG》栏目在万宁广州某店看到,昔日琳琅满目的货架,如今已显得有些空旷,店内多处悬挂着“限时优惠”的醒目标语,头部大品牌都已下架,店员直言“因为要关店,之前卖完了就不再进货了”。
昔日风光的万宁、莎莎国际(SaSa)、屈臣氏等港资零售巨头,如今已纷纷寻找新生路径。万宁、莎莎相继选择“离场”,屈臣氏的日子其实也不好过。根据其母公司长江和记的财报,屈臣氏中国区的业绩持续承压,利润已连续多年下滑,门店数量已较巅峰期萎缩超过一成。
此外,屈臣氏在内地积极布局毛利率较高的自营品牌,屡次陷入质量争议,消费者投诉不断,进一步伤害了品牌信任度。

现场:最后清仓,低折甩卖
“因公司业务战略调整需要,万宁中国内地所有线下门店及线上商城将陆续停止运营。”近日,万宁中国官网的一则公告正式宣告其在内地市场的终结。
公告称,内地线下门店的最后营业日为2026年1月15日;而线上渠道则更早停止服务,官方商城小程序于12月28日停止运营,天猫、京东等第三方平台旗舰店则在12月26日便停止销售。
公告发布后,《BUG》栏目来到多家万宁位于广州的门店。在万宁广州江燕路店,昔日琳琅满目的货架,如今已显得有些空旷,门店中央区域的货架已被搬走,腾出大片空间。店内多处悬挂着“限时优惠”的醒目标语,护肤品、日用品、药品等品类商品都在进行打折或买赠活动。
尽管即将闭店,但店内仍有约10名店员在岗,并且会主动上前询问顾客需求推荐产品,另外还有店员在处理线上订单,打包商品发货。
“我们门店会在12月21日正式关门,因为合同到期,打折活动从12月初就开始了。”一位店员表示。
在现场,不少消费者进店“扫货”。不过,大部分头部品牌的产品都已经下架。店员解释称:“大品牌进货量会相对较少,因为要关店,之前卖完了就不再进货了。一些还在售的品牌主要是因为厂家有退货政策,所以敢多进一些货。”
而万宁广州黄边北路店按公告计划于下个月闭店,店内大部分商品正以低折扣优惠清货。谈及后续工作安排,一位店员表示,还在等公司通知,坦言“相信公司会做好安排。”
对于会员积分处理等后续事宜,万宁官方商城小程序客服回应称,会员积分需在12月28日前使用完毕,逾期将无法使用,且不能兑换为现金。据了解,万宁采用“消费返积分”模式,每消费10元积1分,每20积分抵扣1元。客服还提到,售后服务将会延续至明年1月15日。
200余门店仅剩下13家
与主要竞争对手屈臣氏相比,万宁当时试图以“药妆”和健康产品作为差异化卖点,部分门店配备药剂师提供咨询服务。然而,这种差异化策略并未能帮助万宁在内地市场建立起足够稳固的竞争优势,其在品牌认知度和店铺网络方面始终与屈臣氏存在差距。
与屈臣氏定期披露其中国区业绩不同,万宁母公司极少在财报中单独列出中国内地市场的详细财务数据。无论是历年营收、净利润,还是门店数量的准确变迁,外界都难以窥其全貌。这种信息的不透明,或许从侧面反映了万宁在内地市场长期未达预期的尴尬处境。
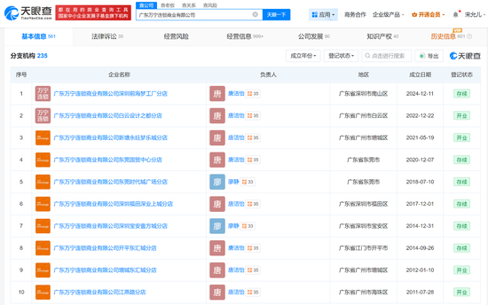
根据天眼查,截至发稿,万宁关联公司广东万宁连锁商业有限公司旗下的200多家分店大部分为注销状态,目前仍为开业或存续状态的分店仅有13家,主要位于广州、深圳、东莞、佛山和江门。

关闭内地线下门店后,万宁并非完全退出内地市场。根据其公告,万宁跨境的线上业务平台将继续运营,包括跨境官方商城及在天猫、京东、拼多多设立的跨境旗舰店,主要销售来自香港的同款跨境产品。
然而,转型跨境电商赛道同样挑战严峻。盘古智库高级研究员江瀚分析认为,跨境电商领域本地化竞争激烈,内地已有天猫国际、京东国际等成熟平台,万宁若仅依靠“海外正品”标签难以形成突围优势。同时,在假货、物流、售后等行业痛点下,万宁需要投入大量资源来构建消费者信任。
屈臣氏也在经历寒冬
万宁离开内地市场并非个案,就在今年6月,另一港资美妆零售商莎莎国际(SaSa)也做出了同样的决定。
根据其公告,莎莎已于2025年6月30日前关闭了中国内地所有剩余的线下门店。财报数据显示,在截至2025年3月31日的财年里,莎莎国际整体净利润暴跌64.8%至7697万港元,其中内地市场业务持续疲软,线下渠道营业额同比大幅下滑38.2%。

即便是目前在内地市场门店数量最多的屈臣氏,日子也并不好过。根据其母公司长江和记的财报,屈臣氏中国区的业绩近年来持续承压,利润已连续多年下滑。
2025年上半年,屈臣氏中国区收益同比下滑3%至66.66亿港元,EBITDA(税息折旧及摊销前利润)更是同比暴跌53%至1.17亿港元。在门店数量上,屈臣氏中国也呈现出明显的收缩趋势,从2021年的4179家减少至2025年6月底的3630家。
为了提高利润,近些年,屈臣氏积极布局毛利率较高的自营品牌,不过却屡次陷入质量争议,消费者投诉不断。此外,屈臣氏也曾因擅自配制化妆品、虚假宣传产品等问题被市场监督管理部门多次点名和处罚。
今年3月,演员郭晓婷就发文直指自己购买的一次性内裤上疑似出现霉斑或污渍的异物,随后有网友指出,该款一次性内裤系屈臣氏旗下产品。去年11月,上海市市场监督管理局抽查发现,屈臣氏销售的“TOUCHBeauty”品牌电动洁面仪和眼部美容仪因标志和说明项目不合格被点名。
在渠道方面,屈臣氏在中国也曾发力数字化布局,自建线上渠道。2017年开始,屈臣氏陆续推出莴笋App(2018年改名为屈臣氏App)和微信“屈臣氏小店”小程序,并从唯品会挖来不少员工,投入了大量人力物力,但是最终效果也不太理想。
为何曾被寄予厚望的港资零售品牌最终兵败内地?
“万宁和莎莎的退场是市场环境剧变下传统商业模式难以为继的必然体现,这背后既有电商冲击、租金人力成本高企等外部压力,也有其自身经营策略上的内在局限,它们作为中间商的角色价值逐渐减弱”,凌雁管理咨询首席咨询师林岳分析道。
江瀚则认为,万宁在商品结构上过度依赖进口SKU,未能及时引入受Z世代追捧的国货新锐品牌,错失了市场潮流。同时,在门店体验上,其仍沿用传统货架陈列模式,缺乏数字化互动、皮肤检测等新兴消费触点,本土化运营的滞后性明显。