中新经纬3月30日电 因以次充好被罚的瑞士奢侈品牌Bally在国内的主体公司巴丽(上海)商业有限公司已注销16家公司。
来源:天眼查APP
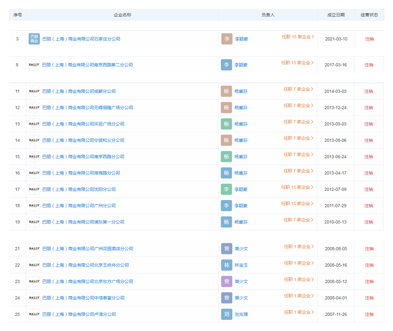
天眼查APP显示,Bally在国内注销的16家公司主要集中在上海、北京、广州等地,其中7家公司位于上海,2家在北京,2家在广州。
此前,Bally关联公司巴丽(上海)商业有限公司北京分公司刚因以次充好,被北京市朝阳区市场监督管理局罚款4.1万余元,没收违法所得4085.5元。
行政处罚信息显示,其被罚款原因为违反《中华人民共和国产品质量法》第三十九条:销售者销售产品,不得掺杂、掺假,不得以假充真、以次充好,不得以不合格产品冒充合格产品。
同时,上述被查处不合格的上衣Bally Schuhfabriken AG成本为1904.5元,售价高达5990元,单件利润超过4000元。
对此,网友们“大跌眼镜”:利润那么高,好意思以次充好?

来源:微博截图
中新经纬注意到,这并不是Bally首次因以次充好被罚。2021年1月26日,巴丽(上海)商业有限公司北京分公司因产品抽检不合格被北京市朝阳区市监局罚款2.5万元。
此外,上海市市场监管局2020年10月28日公布44个品牌太阳镜的质量抽检情况,其中,1批次标称由巴丽(上海)商业有限公司生产(或供货)的Bally牌太阳镜光透射比相对偏差实测为16.7(标准值应≤15),与标准要求不符。据悉,该指标不合格会导致左右眼进光量差异较大,容易产生视觉疲劳,损害视力。
公开资料显示,Bally为1851年创建于瑞士的奢侈品牌,主营产品包括时装、鞋类及手袋等。年报显示,Bally年净亏损同比扩大1208.53%,续亏7180万美元,上年同期亏损548.7万美元;营业总收入13.22亿美元,上年同期营收为3.73亿美元。(中新经纬APP)
责任编辑:李墨轩