精彩内容
日前,CDE官网显示,辰欣药业的盐酸昂丹司琼片以仿制3类报产获受理。米内网数据显示,盐酸昂丹司琼片在2024年中国三大终端六大市场(统计范围详见本文末)销售额超过7亿元,同比增长0.57%,是内服止吐药和止恶心药化药TOP1产品。

盐酸昂丹司琼片用于治疗化疗和放疗引发的恶心呕吐;预防及处理手术后出现的恶心呕吐反应。
近年中国三大终端六大市场盐酸昂丹司琼片销售情况(单位:万元)
来源:米内网格局数据库
盐酸昂丹司琼片在2024年中国三大终端六大市场销售额超过7亿元,同比增长0.57%,是内服止吐药和止恶心药化药TOP1产品。
米内网数据显示,盐酸昂丹司琼片有7家企业拥有生产批文,杭州沐源生物医药、北大医药、齐鲁制药等6家企业过评,辰欣药业、成都通德药业、南京海鲸药业均以仿制3类报产在审,获批后视同过评。
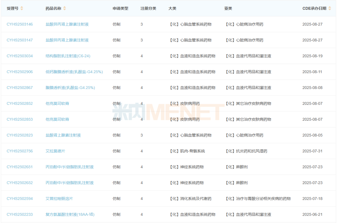
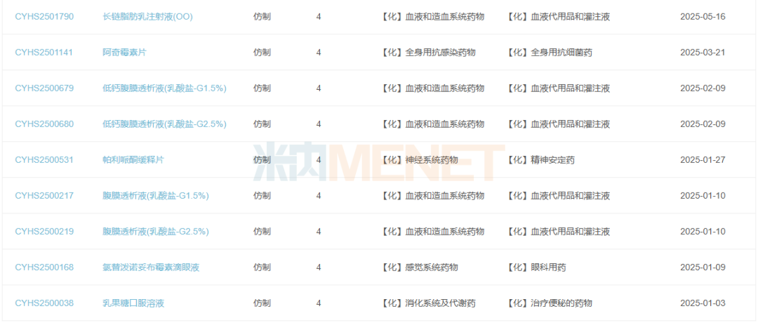
辰欣药业今年此前报产在审产品

来源:米内网中国申报进度(MED)数据库
今年以来,辰欣药业已有20款产品报产在审,涵盖心脑血管系统药物、神经系统药物、消化系统及代谢药等多个治疗大类。其中,氯替泼诺妥布霉素滴眼液冲刺首仿,艾普拉唑肠溶片、艾拉莫德片等在2024年中国三大终端六大市场是10亿元级别的重磅品种。
资料来源:CDE官网、米内网数据库
注:米内网《中国三大终端六大市场药品竞争格局》,统计范围是:城市公立医院和县级公立医院、城市社区中心和乡镇卫生院、城市实体药店和网上药店,不含民营医院、私人诊所、村卫生室,不含县乡村药店;上述销售额以产品在终端的平均零售价计算。如有疏漏,欢迎指正!
