来源:《理财周刊》
2月7日,容百科技(688005.SH)发布公告称,公司收到宁波证监局出具的行政处罚事先告知书,因此前披露的与宁德时代重大合同相关公告存在误导性陈述,公司及相关负责人合计被罚款950万元。
回溯事件全程,时间线清晰且监管动作极具震慑力:公司1月14日披露1200亿元大额合作大单的当天,便同步收到上海证券交易所的问询函;短短5天后的1月19日,公司被证监会立案调查;直至2月6日,宁波证监局出具行政处罚事先告知书,整个监管核查、立案、处罚告知流程,仅用了19个工作日便完成闭环。
一场看似振奋市场的“千亿合作”,最终沦为上市公司夸大披露的闹剧,而监管层的快速问询、果断处罚,也再次彰显了资本市场“真实披露、合规经营”的底线,以及对违法违规行为的“零容忍”态度。
来源:公司公告公告1200亿元大单当天被问询
容百科技于2026年1月13日晚发布《关于与宁德时代签署日常经营重大合同的公告》(以下简称公告),披露了“自2026年第一季度开始至2031年,容百科技合计为宁德时代供应国内区域磷酸铁锂正极材料预计为305万吨,协议总销售金额超1200亿元”等信息。
公告一经发布,便迅速引发市场关注,试图借此向投资者传递“公司业绩将迎来爆发式增长”的信号,进而提振公司股价——这份看似“重磅”的公告,本质上沦为了公司炒作市场预期的工具。
监管直击四大核心违规疑点
一是《合作协议》并未对总销售金额作出约定,且公司在2026年1月19日关于对上海证券交易所问询函的回复公告中称“1200亿元合同总金额是公司估算得出”,“销售金额具有不确定性”。——所谓的千亿大单,从源头就是公司凭空估算、夸大其词的产物。
二是《合作协议》约定的需方采购量为不低于305万吨预测值的70%,且最终以供需双方后续签订的框架性、年度性或者单笔采购合同为准。除了金额虚假,容百科技的履约能力也遭到监管层的强烈质疑。
根据公司前期公告,2025年12月其刚披露收购贵州新仁新能源科技有限公司并增资,而贵州新仁目前仅拥有年产6万吨磷酸铁锂生产线。结合容百科技已披露的全部建成产能,与公告中宣称的“6年供应305万吨”的目标相差甚远,所谓的“千亿合作”,从一开始就缺乏实际产能支撑,纯属空中楼阁。
三是公告披露公司自2026年第一季度开始至2031年向需方供货,但《合作协议》有效期至2030年12月31日止。
四是《合作协议》将容百科技满足综合竞争力要求(综合竞争力特指:同时满足政策要求、商务条件、产品质量、材料性能指标及产品交付时间及数量等条件)作为需方履约的前置条件,但公告未予披露。----借助千亿大单的噱头,炒作公司股价,误导中小投资者。
来源:公司公告公司及核心高管被罚合计950万元
面对监管问询,容百科技的回复未能掩盖其信息披露失实的违法违规事实。经监管层查明,容百科技上述公告披露的相关信息,未能真实、准确、完整地反映合作协议实际条款内容,存在夸大披露、隐瞒关键信息的违法违规行为,严重违反了资本市场信息披露相关规定,误导了投资者决策。
基于此,监管层果断出手、依法处罚,作出明确处罚决定:
一、对宁波容百新能源科技股份有限公司给予警告,并处以450万元罚款;
二、对白厚善(公司核心高管)给予警告,并处以300万元罚款;
三、对俞济芸(公司核心高管)给予警告,并处以200万元罚款。
业绩巨亏与高管高薪酬
根据容百科技2025年业绩预告,预计2025年第四季度,实现归属于母公司所有者的净利润约3000万元,单季度扭亏为盈。预计2025年年度实现归属于母公司所有者的净利润-1.9亿元到-1.5亿元,实现归属于母公司所有者扣除非经常性损益后的净利润-2.2亿元到-1.8亿元。
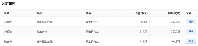
就在公司业绩持续巨亏、投资者利益受损的同时,核心高管的薪酬却居高不下。公开信息显示,容百科技总经理白厚善2024年年薪高达579.6万元,较2023年的421.91万元增长157.69万元,涨幅接近37%,这一薪酬水平在同行业上市公司中也处于高位。即便此次因信息披露违规被处以300万元罚款,扣除罚款后,白厚善仍能保有279.6万元的年薪,远超市场多数企业高管的薪酬水平,与公司巨亏的业绩形成鲜明反差。
反观此次一同被罚的董秘俞济芸,2024年年薪为132万元,被罚200万元后,罚款金额已超出其年薪,形成了实质性的经济惩戒;而白厚善300万元的罚款,仅占其年薪的51.7%,剩余近280万元的薪酬依然可观,这样的惩戒力度,难免让市场质疑其警示效果。

来源:巨潮资讯网合规才是上市公司长远之道
一场千亿大单的炒作闹剧,最终以容百科技及核心高管领罚收场,既给容百科技带来了声誉与财务的双重损失,也为所有上市公司敲响了警钟。在监管日趋严格、“零容忍”成为常态的资本市场环境下,所谓的“夸大披露、噱头炒作”,终究只是短期闹剧,不仅无法推动公司发展,反而会触碰监管红线,付出沉重的违法成本。
此次事件更清晰地传递出:监管层对资本市场违法违规行为的查处,早已形成“发现即问询、查实即处罚”的高压态势,专业性与执行力持续提升。对于上市公司而言,唯有摒弃侥幸心理,坚守合规经营底线,真实、准确、完整地履行信息披露义务,不夸大、不隐瞒、不炒作,才能实现自身与资本市场的良性发展。
而对于投资者而言,也应理性看待上市公司披露的利好消息,警惕各类夸大炒作行为,结合监管问询、公司回复等信息综合判断,谨慎投资,避免因虚假披露遭受损失。未来,随着监管力度的持续加码,资本市场的生态将更加健康,合规经营的上市公司,才能在长期竞争中站稳脚跟。(《理财周刊-财事汇》出品)
免责声明:文章表述的意见不构成任何投资建议,投资者据此操作,风险自担。