日前,张雪机车在世界超级摩托车锦标赛(WSBK)葡萄牙站SSP中量级组别比赛中实现双回合夺冠。受此利好影响,3月30日,通过浙创投间接持有张雪机车股份的宏昌科技(301008.SZ)以19.99%幅度涨停,两次在财报中提及“张雪机车”的鸿泉技术(688288.SH)涨幅达10.73%。同样间接持有张雪机车股份的浙能电力(600023.SH)和巨化股份(600160.SH)当日收跌。作为张雪机车的参赛赞助商,东鹏饮料(605499.SH)当日微涨。记者采访了解到,受夺冠利好,张雪机车门店的关注度和销量均明显增长。
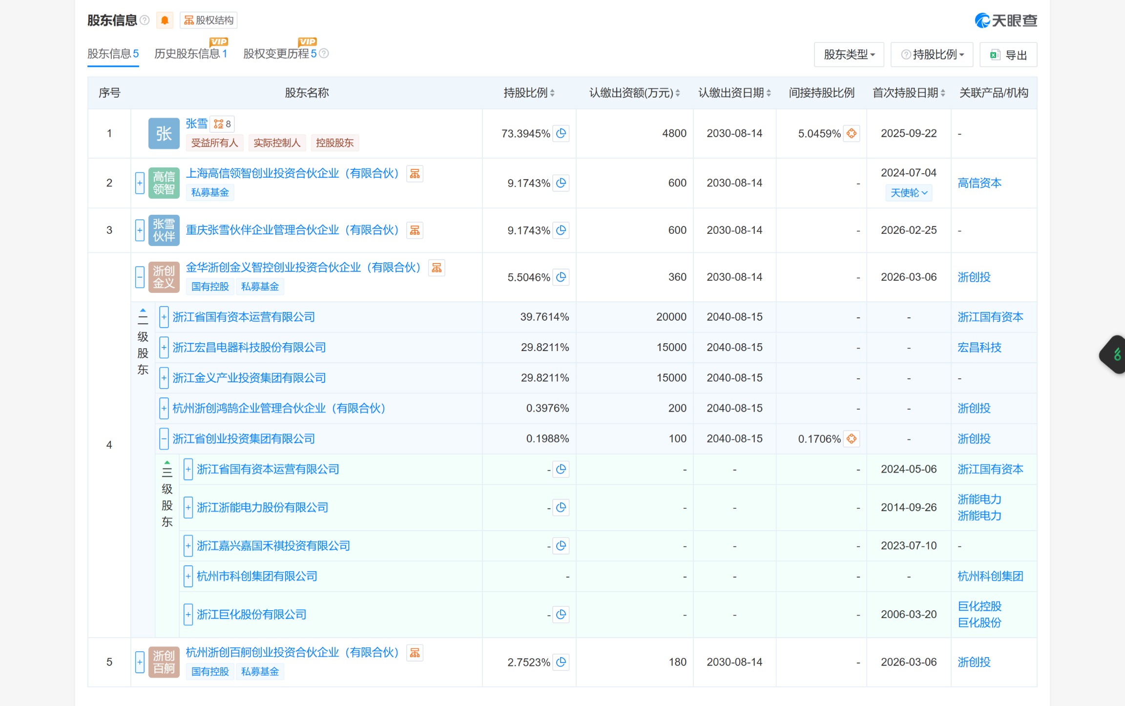
天眼查数据显示,张雪机车成立于2024年8月,创始人张雪是实际控制人,他的持股比例超78.44%、表决权占比超82.56%。
记者了解其股东信息发现,多家上市公司间接持有张雪机车股份,但市场表现涨跌不一。其中,宏昌科技(301008.SZ)间接持有张雪机车约1.64%的股份,3月30日以19.99%涨停收盘;浙能电力(600023.SH)、巨化股份(600160.SH)同样通过浙创投间接持有少量股份,但3月30日股价分别下跌3.68%和1.06%。

张雪机车股东信息。(数据来源:天眼查)
此外,至少两家上市公司曾在公告中提及张雪机车。其中,鸿泉物联(688288.SH)(2025年11月更名为“鸿泉技术”)在2024年年报和2025年半年报中均提及“张雪机车”;恒勃股份(301225.SZ)2025年半年报显示,“成功开发了多款具有市场竞争力的车载智能电子产品,量产和在研项目遍及……凯越(张雪机车)……等国内外知名摩托车、电动车厂家”。3月30日,鸿泉技术和恒勃股份分别收盘上涨10.73%和3.8%。
其中,恒勃股份提及的凯越机车也由张雪参与创办。天眼查数据显示,凯越机车成立于2017年12月,张雪是创始股东之一,但于2024年8月退出,退出时持股比例达35.88%。
作为张雪机车参赛的赞助商,东鹏饮料(605499.SH)3月30日晚发文:“东鹏特饮助力张雪登顶世界赛场!”
张雪机车官方信息显示,2025年,张雪机车发布了500RR和500F两款车型,当年累计销量达2.5万台。2026年3月21日,张雪机车两款新车2026款500RR及820RR开启预定,截至3月25日,两款新车大定达5543台。本次参赛夺冠的车型,正是深度赛道化改造的820RR赛车版本。民用版820RR定价4.38万元,“因820RR车系动力过猛,新手无法驾驭,为了安全起见摩托车驾龄不满一年者禁止购买”。
记者采访多位业内人士了解到,820RR售价为同赛事其他参赛品牌价格的三分之一左右;此外,820RR还是国内首款限制购买者摩托车驾龄的车型。
夺冠之后,张雪机车的关注度快速攀升,销量也有所增长。张雪机车上海宝山店销售马艳表示,以往门店直播账号粉丝每日增长几十位,夺冠后粉丝单日增长几千人,一天能接到几十个咨询电话,远超平时。张雪机车上海浦东店负责人苑立新说,夺冠以来,门店已经卖出二十多辆新车,销量与首发当日相当,原本观望的用户都直接下单。
2月时,张雪曾在“张雪机车伙伴大会”上表示,2025年产值为7.5亿元,由于研发投入高达6950万元,所以亏损2278万元。张雪机车于2026年1月完成约9000万元融资,2026年研发预算升至1.35亿元。2026年将推出多款新品,年度销售目标为6万台,预计收入达18亿元。