九典制药

17.14
+0.12
+0.71%
SZ300705
 17.45 16.90 15.24万手总市值 85.74亿
 16.87 4.12% 2.63亿市盈TTM 16.50
分时
5日
日K
周K
月K
季K
年K
  • MA
  • BOLL
  • 成交量
  • MACD
  • KDJ
  • RSI
  • WR
  • BIAS
  • CCI
  • PSY
用户头像
银子220823
10-10 10:15  
$九典制药(SZ300705)$ 开盘跑了汉宇集团,获得0.8%,刚刚抛了九典制药,获得5.5%。昨天说了,科技前期大涨的别碰,今天如期下跌,而且券商也如期拉升,至少保证了上证指数不会太难看。后期重点方向还是在上证,行情能否延续,关键还是看高低切。如果消费、医药这些低估值板块能否走强,加上红利板...
14讨论 · 1
用户头像
格大局大金沣
10-09 11:06  
一、核心维度对比分析
1、护城河(前羚锐制药、后九典制药)
品牌+渠道+规模壁垒:独家产品通络祛痛膏(年销超10亿)、"两只老虎"系列市占率超90%;覆盖全国50万家药店,毛利率75%+。风险:专利2026年到期,仿制药可能冲击。
技术壁垒:凝胶贴膏国内技术领先(如洛索洛芬钠凝...
5
用户头像
海上华尔兹
09-12 14:23  
九典制药难道没人关注了吗
1.1类创新中药申请上市!
药物名称:椒七止痛凝胶贴膏(曾用名:椒七麝凝胶贴膏) 注册分类:中药1.1类 剂型:贴膏剂 功能主治:温经散寒,活血止痛 研究分期:Ⅲ期临床试验
(1)疗效结论:椒七止痛凝胶贴膏能有效改善膝骨关节炎引起的疼痛,试验组用药2周...
6讨论 · 16
用户头像
军师祭咖啡
09-26 15:09  
$九典制药(SZ300705)$ 逻辑有缺陷(主打产品竞争格局改变)的股票,始终不太行。不是不涨,而是涨点后很快A下去。
3讨论 · 3
用户头像
卷爸书房
09-12 22:30  
$九典制药(SZ300705)$
人世十年几番新,这才几年,就国采了。
能穿越周期的,才是好的投资机会。
7讨论 · 6
用户头像
九典制药(SZ300705)
10-09 16:49  
九典制药:关于回购公司股份的进展公告 网页链接
1讨论 · 1
用户头像
火炏燊
10-09 16:07  
[拿捏]经皮给药制剂(Transdermal Drug Delivery Systems, TDDS),也称为透皮治疗系统(TTS),是一种通过皮肤敷贴给药,使药物以恒定速率穿透皮肤屏障,进入全身血液循环并达到有效血药浓度,从而产生全身治疗作用的给药系统 814。它是继口服、注射之后的第三大给药系统。在全球范围内,美国和日...
1
用户头像
等台风来
09-06 16:57  
聊聊九典制药 (我的逻辑视角) 💊
注:以下内容基于个人研究,可能存在不准确之处。仅代表个人观点,并非否定公司价值。基本面数据请自行查阅。
一、 核心观点:增长逻辑与市场格局
院内市场:趋于饱和,增速放缓
已覆盖主要甲级医院,增长空间有限。认为仍有增长,但速...
7讨论 · 5
用户头像
米内网
09-12 16:19  
9月12日,湖南九典制药提交了椒七止痛凝胶贴膏中药1.1类新药上市申请获得CDE承办。据悉,椒七止痛凝胶贴膏能有效改善膝骨关节炎引起的疼痛,有望成为420亿中成药骨骼肌肉系统疾病用药市场重磅新品。
图1:湖南九典制药最新申报的新药
来源:CDE官网
据悉,湖南九典制药的椒七止痛凝胶...
1转发 · 3讨论 · 3
用户头像
股灾来了快跑
09-25 14:54  
$九典制药(SZ300705)$ 这个庄也是牛逼,拿了2个月把我今年的利润全跌没了,只能死耗了,节前再加一把
4
用户头像
罗山侠
09-29 11:34  
$九典制药(SZ300705)$ 九典是不是被错杀了,业绩比较确定,董事长表示今年增长10一15%,5一6亿利润,市值80亿左右,年涨幅一7%,哈哈,市场乱搞的
3
用户头像
清朗的股票小勇士
09-19 19:51  
九典制药,帮忙看一下 你推昆药的时候,我就发现九典可能比昆药股性好一点,大涨大跌
@Egoistwow :  说说我面对暴跌的经验  在月初开仓的帖子里面,我说用了新的思路,买了新的股票。
现在也来说一下情况把。
当时买的是半导体:澜起科技,液冷:中石科技,创新药:迈威生物。
澜起算是符合预期正常止盈,没什么好说的。后面2个跌的很惨,让我有很多收获。
很多人都在说怎么涨的,很少人说怎么面对下跌的...
2讨论 · 2
用户头像
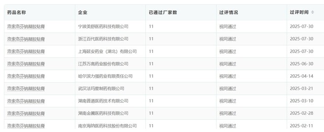
一个韭菜的醒悟
昨天20:14  
$九典制药(SZ300705)$ 透皮制剂壁垒还在。。。11家过评竟然只有4家有资格参加十一批集采报量。。。

图片

图片

1
用户头像
九典制药(SZ300705)
09-24 18:26  
九典制药:关于获得药物临床试验批准通知书的公告 网页链接
3
用户头像
证券之星财经
09-24 18:40  
九典制药(300705.SZ)公告称,公司近日收到国家药品监督管理局签发的两款中药1.1类新药JIZM01和JIZM02的《药物临床试验批准通知书》。JIZM01拟定适应症为闭合性软组织挫伤和关节扭伤,JIZM02拟定适应症为肩关节周围炎。公司需完成相关准备工作后开展临床试验研究,但新药研发周期长、投入大,且受行...
3
用户头像
九典制药(SZ300705)
10-09 16:23  
九典制药:关于2025年第三季度可转换公司债券转股情况的公告 网页链接
1
用户头像
st焦化
09-29 17:58  
1 公司概况与近期财务表现
九典制药(300705)成立于2001年,是一家在化药制剂、原料药、药用辅料及CXO服务等领域全方位布局的现代化制药企业。公司于2017年在深圳证券交易所创业板上市,现已形成浏阳制剂园区、望城原料药及药用辅料园区、麓谷研发及办公园区"三园一体"的发展布局。公...
2
用户头像
九典制药(SZ300705)
09-29 18:03  
九典制药:300705九典制药投资者关系管理信息20250929 网页链接
2
用户头像
九典制药(SZ300705)
09-19 18:33  
九典制药:300705九典制药投资者关系管理信息20250919 网页链接
3
用户头像
证券之星财经
09-19 15:10  
天风证券股份有限公司杨松近期对九典制药进行研究并发布了研究报告《公司经营稳健,拓展外用制剂管线+加速创新药转型》,给予九典制药买入评级。
  九典制药(300705)  业绩增长符合预期,盈利能力保持稳定  公司发布2025年半年报,2025H1实现营收15.12亿元(YoY+10.67%),归母净利润2.9...
1讨论 · 2